Operation CHARM: Car repair manuals for everyone.
Manuals through 2025 now available!

Our trusted friends have launched a new website named LEMON, which has newer manuals. It also contains all the CHARM manuals.

LEMON is the spiritual successor to CHARM, I recommend you try it!

Link: lemon-manuals.la or lemon-manuals.org.ua

(Some people have issue connecting. LEMON is investigating. For now, use Firefox or change your DNS server)

Or, hide this message: temporarily or permanently

Condenser Fan Motor Relay: Testing and Inspection







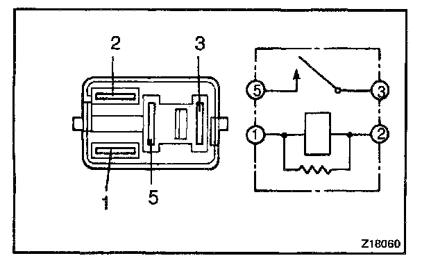
1. INSPECT No.1 COOLING FAN RELAY (Marking: FAN RLY NO.1) CONTINUITY
If continuity is not as specified, replace the relay.







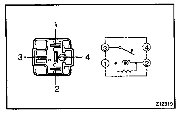
2. INSPECT No.2 COOLING FAN RELAY (Marking: FAN RLY NO.2) CONTINUITY
If continuity is not as specified, replace the relay.







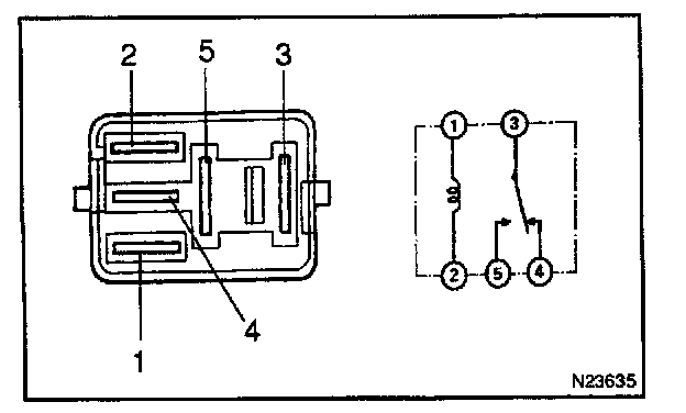
4. INSPECT No.3 COOLING FAN RELAY (Marking: FAN RLY NO.3) CONTINUITY
If continuity is not as specified, replace the relay.