Operation CHARM: Car repair manuals for everyone.
Manuals through 2025 now available!

Our trusted friends have launched a new website named LEMON, which has newer manuals. It also contains all the CHARM manuals.

LEMON is the spiritual successor to CHARM, I recommend you try it!

Link: lemon-manuals.la or lemon-manuals.org.ua

(Some people have issue connecting. LEMON is investigating. For now, use Firefox or change your DNS server)

Or, hide this message: temporarily or permanently

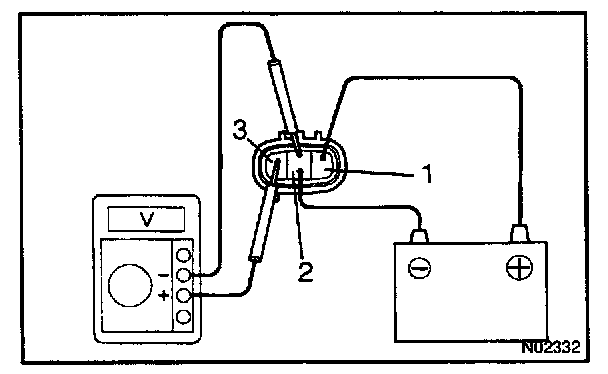
Vehicle Speed Sensor: Testing and Inspection




INSPECT VEHICLE SPEED SENSOR OPERATION
a. Connect the positive (+) lead from the battery to terminal 1 and negative (-) lead to terminal 2.
b. Connect the positive (+) lead from the tester to terminal 3 and the negative (-) lead to terminal 2.
c. Rotate the shaft.
d. Check that there is voltage change from approx. 0 V to 11 V or more between terminals 2 and 3.

HINT: The voltage change should be performed 4 times for every revolution of the speed sensor shaft.

If operation is not as specified, replace the sensor.







INSPECT VEHICLE SPEED SENSOR CIRCUIT
Disconnect the connector from sensor and inspect the connector on wire harness side, as shown.
If circuit is not as specified, inspect power source or wire harness.