Operation CHARM: Car repair manuals for everyone.
Manuals through 2025 now available!

Our trusted friends have launched a new website named LEMON, which has newer manuals. It also contains all the CHARM manuals.

LEMON is the spiritual successor to CHARM, I recommend you try it!

Link: lemon-manuals.la or lemon-manuals.org.ua

(Some people have issue connecting. LEMON is investigating. For now, use Firefox or change your DNS server)

Or, hide this message: temporarily or permanently

Programming and Relearning




1. KEY REGISTRATION IN AUTOMATIC REGISTRATION MODE
a. Registration of a new transponder key.

HINT:
- This must be done when you install a new ECM.
- The new ECM is in the automatic key code registration mode. The already fixed number of key codes for this ECM can be registered.
On this type of vehicle, up to 4 key codes can be registered.
- In the automatic registration mode, the key registered last becomes the sub-key.





HINT:
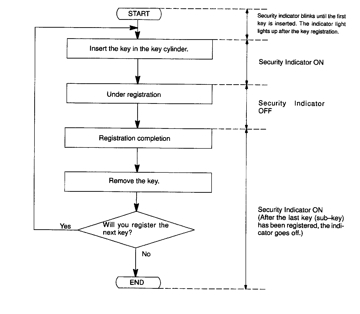
- When a key is not inserted in the key cylinder in the automatic registration mode, the security indicator always lights on.
- When the immobilizer system operates normally and the key is pulled out, the security indicator blinks.
- When key code registration could not be performed in the automatic registration mode, code 2-1 is output from the security indicator and when inserting the already registered key, code 2-2 is output.

b. Automatic registration mode completion
If completing the mode forcibly when more than 1 key code have been registered in the automatic registration mode, perform the following procedures.
After 1 more key code have been registered with master key, perform step (1) or (2) without pulling the key out or inserting the already registered key.
1. Depress and release brake pedal 5 times or more within 15 sec.
2. With the LEXUS hand-held tester, require automatic registration mode completion.

2. KEY REGISTRATION PROCEDURE WHEN KEY OR KEY CYLINDER HAS BEEN REPLACED.

HINT: Key registration procedure of new master key and new sub-key on this vehicle when new ignition cylinder and key set, and new lock cylinder set including ignition key cylinder are installed is described below.




a. Removing wireless and immobilizer module from original master key.




b. Making new master key.
After replacing and installing new ignition cylinder, install the removed original modules into new 2 key housings as supply parts.
c. Registration of supplied new sub-key and /or master key Register supplied new sub-key and /or master key by using new master key (See step 3 and 4).

NOTE: In case of replacing ignition cylinder and key set, door locks cannot be opened with new ignition keys. Therefore, to avoid any trouble caused by empty battery of transmitter of new ignition key, please bring the original key while driving.

d. There are 2 ways for registration of additional master key, one way is depressing brake pedal and acceleration pedal and the other way is using LEXUS hand-held tester.

HINT:
- It is possible to register up to 7 master key codes including the already registered key code.
- When any operation time described below is over, registration mode completes.
- When the next procedure is performed while the timer is working, the timer completes counting time, then next timer starts.
- When replacing "Ignition Cylinder Key Set" or "Lock Cylinder Set" register according to the following procedure using the original master key. However, after the registration of the additional master key, as the original master key and the original sub-key are not necessary any more, erase registered of those key codes.




1. Depressing brake pedal and acceleration pedal:




2. Using LEXUS hand-held tester:

3. REGISTRATION ADDITIONAL OF SUB-KEY
There are 2 ways for registration of additional sub-key, one way is depressing brake pedal and acceleration pedal and the other way is using LEXUS hand-held tester.

HINT:
- It is possible to register up to 3 sub-key codes including the already registered key code.
- When any operation time described below is over, registration mode completes.
- When the next procedure is performed while the timer is working, the timer completes counting time, then next timer starts.




1. Depressing brake pedal and acceleration pedal:




2. Using LEXUS hand-held tester:

4. ERASURE OF TRANSPONDER KEY CODE
There are 2 ways for erasure of transponder key code, one way is depressing brake pedal and acceleration pedal and the other way is using LEXUS hand-held tester.

NOTE: Delete all other master and sub-key codes leaving the master key code to use the operation. When using the key which was used before deletion, it is necessary to register the code again.

HINT:
- When any operation time described below is over, registration mode completes.
- When the next procedure is performed while the timer is working, the timer completes counting time, then next timer starts.




1. Depressing brake pedal and acceleration pedal:




2. Using LEXUS hand-held tester: