Operation CHARM: Car repair manuals for everyone.
Manuals through 2025 now available!

Our trusted friends have launched a new website named LEMON, which has newer manuals. It also contains all the CHARM manuals.

LEMON is the spiritual successor to CHARM, I recommend you try it!

Link: lemon-manuals.la or lemon-manuals.org.ua

(Some people have issue connecting. LEMON is investigating. For now, use Firefox or change your DNS server)

Or, hide this message: temporarily or permanently

With Memory

Power Mirror Control System








1. INSPECT LEFT SIDE MIRROR SWITCH CONTINUITY








2. INSPECT RIGHT SIDE MIRROR SWITCH CONTINUITY








3. INSPECT RETRACT SWITCH CONTINUITY
If continuity is not as specified, replace the switch.
If continuity is as specified. inspect the switch circuit.








4. INSPECT MIRROR SWITCH CIRCUIT
Disconnect the connector from the switch and inspect the connector on the wire harness side
If the circuit is not as specified, inspect the circuits connected to other parts.





5. INSPECT INDICATOR LIGHT OPERATION
Connect the positive (+) lead from the battery to terminal 5 and the negative (-) lead to terminal 6, and check that the indicator light does not light up, replace the switch.





6. INSPECT MIRROR MOTOR OPERATION
a. Connect the positive (+) lead from the battery to terminal 8 and the negative (-) lead to terminal 7, and check that the mirror turns to the left side.





b. Reverse the polarity, and check that the mirror turns to the right side.





c. Connect the positive (+) lead from the battery to terminal 6 and the negative (-) lead to terminal 7, and check that the mirror turns upward.





d. Reverse the polarity, and check that the mirror turns downward.

If operation is not as specified, replace the mirror assembly.





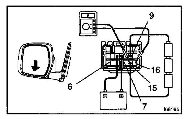
7. w/ Driving Position Memory only: INSPECT MIRROR POSITION SENSORS OPERATION

HINT: Strip oft the vinyl tape of the connector and remove terminals 6, 7, 9, 10,15 and 16 from the connector housing.

a. Connect a series of three 1.5 V dry cell batteries.
b. Connect the positive (+) lead from the dry cell batteries to terminal 9 and the negative (-) lead to terminal 15.
c. Connect the positive (+) lead from the voltmeter to terminal 16 and the negative (-) lead to terminal 15.








d. Apply battery positive voltage to terminals 7 and 6, then check that the voltage gradually changes according to the table below while the mirror moves between the uppermost position and lowermost position.

If voltage value is not as specified, replace the motor assembly.





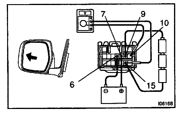
e. Disconnect the 4 leads of the battery and voltmeter.
f. Connect the positive (+) lead from the voltmeter to terminal 10 and negative (-) lead to terminal 15.








g. Apply battery positive voltage to terminals 6 and 7, then inspect that the voltage gradually changes according to the table below while the mirror moves between the left- most position and right-most position.

If voltage value is not as specified, replace the motor assembly.








8. INSPECT DRIVING POSITION MEMORY AND RETURN SWITCH CONTINUITY
If continuity is not as specified, replace the switch.

9. INSPECT DRIVING POSITION MEMORY AND RETURN SWITCH CIRCUIT








10. INSPECT MIRROR CONTROL ECU CIRCUIT
Disconnect the connector from the ECU and inspect the connector on the wire harness side.
If the circuit is not as specified, inspect the circuits connected to other parts.








11. INSPECT MIRROR CONTROL ECU OPERATION
Connect the connectors and using a voltmeter with high impedance (10 kOhms/V minimum), measure the voltage at each terminal and body ground.
If the operation is not as specified, inspect the wire harness and mirror switch or motor assembly. Then if these are correct, replace the ECU.