Operation CHARM: Car repair manuals for everyone.
Manuals through 2025 now available!

Our trusted friends have launched a new website named LEMON, which has newer manuals. It also contains all the CHARM manuals.

LEMON is the spiritual successor to CHARM, I recommend you try it!

Link: lemon-manuals.la or lemon-manuals.org.ua

(Some people have issue connecting. LEMON is investigating. For now, use Firefox or change your DNS server)

Or, hide this message: temporarily or permanently

System Inspection

1. INSPECT DRIVER'S POWER SEAT SWITCH CONTINUITY








* Inspect Slide Switch:




Slide Switch:





* Inspect Front Vertical Switch




Front Vertical Switch:





* Inspect Lifter Switch




Lifter Switch:





* Inspect Reclining Switch:

If continuity is not as specified, replace the switch.

Lifter Switch:




Reclining Switch:





2. INSPECT DRIVER'S POWER SEAT SWITCH CIRCUIT
a. Disconnect the switch connector and connect the seat wire harness to the floor wire harness.
b. Inspect the connector on the wire harness side.

If circuit is not as specified, inspect the circuits connector to other parts.





3. INSPECT PASSENGER'S POWER SEAT SWITCH CONTINUITY
It continuity is not as specified, replace the switch.








* Inspect Slideing Switch:








* Inspect Front Vertical Switch:




Slide Switch:





* Inspect Lifter Switch:




Front Veritcal Switch:





* Inspect Reclining Switch:

Lifter Switch:




Reclining Switch:





4. INSPECT PASSENGER'S POWER SEAT SWITCH CIRCUIT
a. Disconnect the switch connector and connect the seat wire harness to the floor wire harness.
b. Inspect the connector on the wire harness side.

It circuit Is not as specified, inspect the circuits connected to other parts.








5. INSPECT DRIVER'S LUMBAR SUPPORT SWITCH CONTINUITY
If continuity is not as specified, replace the switch.








6. INSPECT DRIVER'S LUMBAR SUPPORT SWITCH CIRCUIT
a. Disconnect the switch connector and connect the seat wire harness to the floor wire harness
b. Inspect the connector on the wire harness side.

If circuit is not as specified, inspect the circuits connected to other parts.





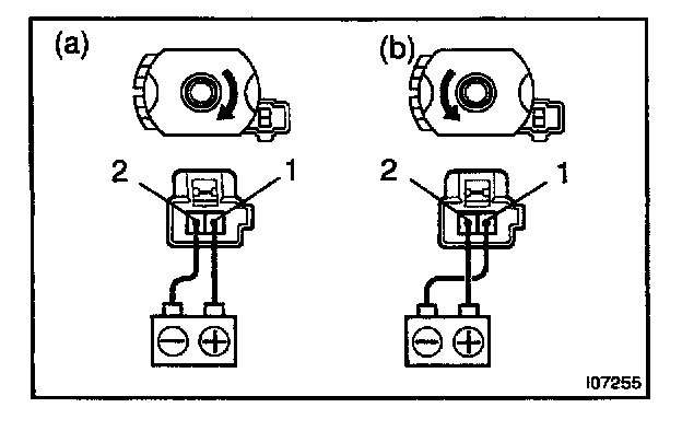
7. INSPECT SLIDE MOTOR OPERATION
a. Connect the positive (+) lead from the battery to terminal 1 and the negative (-) lead to terminal 2, check that the motor turns clockwise.
b. Reverse the polarity, check that the motor turns counter-clockwise.

If operation is not as specified, replace the seat adjuster.





8. INSPECT SLIDE MOTOR PTC THERMISTOR OPERATION

NOTE: ( ) = Passenger side

a. Connect the positive (+) lead from the battery to terminal 2 (1), the positive (+) lead from the ammeter to terminal 1 (2) and the negative (-) lead to the battery negative (-) terminal, then move the seat cushion to the front position.
b. Continue to apply voltage, check that current changes to less than 1 ampere within 4 to 90 seconds.





c. Disconnect the leads from terminals.
d. Approximately 60 seconds later, connect the positive (+) lead from the battery to terminal 1 (2) and the negative (-) lead to terminal 2 (1), check that the seat cushion begins to move backwards.

If operation is not as specified, replace the seat adjuster.





9. INSPECT FRONT VERTICAL MOTOR OPERATION
a. Connect the positive (+) lead from the battery to terminal 1 and the negative (-) lead to terminal 2, check that the motor turns clockwise.
b. Reverse the polarity, check that the motor turns counterclockwise.

If operation is not as specified, replace the seat adjuster.





10. INSPECT FRONT VERTICAL MOTOR PTC THERMISTOR OPERATION

NOTE: ( ) = Passenger side
a. Connect the positive (+) lead from the battery to terminal 1 (2), the positive (+) lead from the ammeter to terminal 2 (1) and the negative (-) lead to the battery negative (-) terminal, then move the seat cushion to the highest position.
b. Continue to apply voltage, check that the current changes to less than 1 ampere within 4 to 90 seconds.





c. Disconnect the leads from the terminals.
d. Approximately 60 seconds later, connect the positive (+) lead from the battery to terminal 2 (1) and the negative (-) lead to terminal 1 (2), check that the seat cushion begins to descend.

If operation is not as specified, replace the seat adjuster.





11. INSPECT LIFTER MOTOR OPERATION
a. Connect the positive (+) lead from the battery to terminal 1 and the negative (-) lead to terminal 2, check that the motor turns clockwise.
b. Reverse the polarity, check that the motor turns counterclockwise.

If operation is not as specified, replace the seat adjuster.





12. INSPECT LIFTER MOTOR PTC THERMISTOR OPERATION
a. Connect the positive (+) lead from the battery to terminal 1 (2), the positive (+) lead from the ammeter to terminal 2 (1) and the negative (-) lead to the battery negative (-) terminal, then move the seat to the highest position.
b. Continue to apply voltage, check that the current changes to less than 1 ampere within 4 to 90 seconds.





c. Disconnect the leads from the terminals.
d. Approximately 60 seconds later, connect the positive (+) lead from the battery to terminal 2 (1) and the negative (-) lead to terminal 1(2), check that the seat begins to descend.

If operation is not as specified, replace the seat adjuster.





13. INSPECT RECLINING MOTOR OPERATION
a. Connect the positive (+) lead from the battery to terminal 1 and the negative (-) lead to terminal 2, check that the motor turns clockwise.
b. Reverse the polarity, check that the motor turns counterclockwise.

If operation is not as specified, replace the seat adjuster.





14. INSPECT RECLINING MOTOR PTC THERMISTOR OPERATION
a. Connect the positive (+) lead from the battery to terminal 2, the positive (+) lead from the ammeter to terminal 1 and the negative (-) lead to the battery negative (-) terminal, then recline the seat back to the most forward position.
b. Continue to apply voltage, check that the current changes to less than 1 ampere within 4 to 90 seconds.





c. Disconnect the leads from the terminals.
d. Approximately 60 seconds later, connect the positive (+) lead from the battery to terminal 1 and the negative (-) lead to terminal 2, check that the seat back begins to fall backward.

If operation is not as specified, replace the seat adjuster.





15. INSPECT LUMBAR SUPPORT MOTOR OPERATION
a. Connect the positive (+) lead from the battery to terminal 1 and the negative (-) lead to terminal 2, check that the lumbar support moves to release side.





b. Reverse the polarity, check that the lumbar support moves forward.

If operation is not as specified, replace the seat adjuster.





16. INSPECT LUMBAR SUPPORT MOTOR CIRCUIT BREAKER OPERATION
a. Connect the positive (+) lead from the battery to terminal 2 and the negative (-) lead to terminal 1 on the lumbar support motor connector and move the lumbar support to front end position.





b. Continue to apply voltage, check that a circuit breaker operation noise can be heard within 4 to 60 seconds.
c. Reverse the polarity, check that the lumbar support begins to move release side with in approximately 60 seconds.

If operation is not as specified, replace the motor.