Operation CHARM: Car repair manuals for everyone.
Manuals through 2025 now available!

Our trusted friends have launched a new website named LEMON, which has newer manuals. It also contains all the CHARM manuals.

LEMON is the spiritual successor to CHARM, I recommend you try it!

Link: lemon-manuals.la or lemon-manuals.org.ua

(Some people have issue connecting. LEMON is investigating. For now, use Firefox or change your DNS server)

Or, hide this message: temporarily or permanently

Transfer Assembly






DISASSEMBLY
1. REMOVE BREATHER HOSE
2. REMOVE VEHICLE SPEED SENSOR DRIVEN GEAR
Remove the bolt and driven gear.





3. REMOVE MOTOR ACTUATOR
Remove the 4 bolts and motor actuator.





4. REMOVE OUTPUT GEAR FROM FRONT CASE





5. REMOVE SCREW PLUG, SPRING AND BALL
a. Using a torx socket wrench (T40), remove the screw plug.
b. Using a magnetic finger, remove the spring and ball.
6. REMOVE TRANSFER INDICATOR SWITCH
Remove the 3 transfer indicator switches and 3 gaskets.





7. REMOVE FRONT EXTENSION HOUSING
Remove the 6 bolts and front extension housing.

HINT: If necessary, tap the front extension housing lightly with a plastic hammer.





8. REMOVE CLUTCH SLEEVE WITH SHIFT FORK NO. 2 SHAFT AND SHIFT FORK NO. 2





9. SEPARATE SHIFT FORK NO. 2 SHAFT AND SHIFT FORK NO. 2
a. Using 2 screwdrivers and a hammer, tap out the 3 snap rings from the shift fork No. 2 shaft.
b. Separate the shift fork No. 2 shaft and shift fork No. 2.





10. REMOVE REAR EXTENSION HOUSING Remove the 9 bolts and rear extension housing.

HINT: If necessary, tap the rear extension housing lightly with a plastic hammer.

11. REMOVE ADJUSTING SHIMS





12. REMOVE OIL STRAINER FROM REAR CASE
Remove the 2 bolts and oil strainer.
13. REMOVE CASE COVER





a. Remove the 5 bolts.





b. Using a brass bar and hammer, tap the case cover and remove it.
14. SEPARATE FRONT CASE AND REAR CASE





a. Using a snap ring expander, remove the snap ring from the rear case.





b. Remove the 8 bolts.
c. Using a brass bar and hammer, tap the rear case and separate it.





15. REMOVE 2 BEARING RACES FROM REAR CASE





16. REMOVE INPUT SHAFT ASSEMBLY
Using a plastic hammer, remove the input shaft assembly from the front case.





17. REMOVE IDLER GEAR ASSEMBLY WITH CENTER DIFFERENTIAL ASSEMBLY, SHIFT FORK NO. 1 AND SHIFT FORK NO. 1 SHAFT FROM FRONT CASE





18. SEPARATE SHIFT FORK NO. 1 AND SHIFT FORK NO. 1 SHAFT
a. Using a pin punch and hammer, drive out the slotted spring pin.
b. Separate the shift fork No. 1 and shift fork No. 1 shaft.





19. REMOVE SHIFT OUTER LEVER AND INNER LEVER
a. Remove the nut and washer from the shift outer lever.
b. Using a brass bar, hammer and socket wrench, tap out the lever lock pin.
c. Remove the shift outer lever, washer and inner lever from the front case.
20. IF NECESSARY, REPLACE INNER SHIFT LEVER OIL SEAL





a. Using a screwdriver, pry out the oil seal from the front case.
b. Apply MP grease to the lip of a new oil seal.





c. Using SST and a hammer, drive in a new oil seal.
SST 09950-60010 (09951-00270), 09950-70010 (09951-07150)





21. IF NECESSARY, REPLACE INPUT SHAFT OIL SEAL
a. Using SST and a hammer, drive out the oil seal.
SST 09316-60011 (09316-00011)
b. Apply MP grease to the lip of a new oil seal.
c. Using SST and a hammer, drive in a new oil seal.
SST 09316-60011 (09316-00011, 09316-00031)





22. REMOVE OIL RECEIVER FROM FRONT CASE
Remove the bolt and oil receiver.
23. REMOVE 2 BEARING RACES FROM FRONT CASE





a. Using SST, remove the bearing race (for the idler gear).
SST 09950-40011 (09951-04020, 09952-04010, 09953-04030, 09954-04010, 09955-04061, 09957-04010), 09950-60010 (09951-00320)





b. Using a brass bar and hammer, remove the bearing race (for the output shaft).

REASSEMBLY





1. INSPECT SHIFT FORK NO. 2 AND CLUTCH SLEEVE CLEARANCE
Using a feeler gauge, measure the clearance between the shift fork No. 2 and clutch sleeve.
Standard clearance: 0.10 - 0.40 mm (0.0039 - 0.0157 inch)
Maximum clearance: 0.40 mm (0.0157 inch)





2. INSTALL THE BEARING RACE (FOR THE OUTPUT SHAFT)
Using SST and a press, install the bearing race.
SST 09316-60011 (09316-00011, 09316-00031), 09950-60020 (09951-00890)





3. INSTALL THE BEARING RACE (FOR THE IDLER GEAR)
Using SST and a press, install the bearing race.
SST 09316-60011 (09316-00011, 09316-00031), 09950-60020 (09951-00790)





4. INSTALL OIL RECEIVER TO FRONT CASE Install the oil receiver and bolt.
Torque: 12 Nm (120 kgf-cm, 9 ft. lbs.)





5. INSTALL SHIFT OUTER LEVER AND INNER LEVER
a. Install the shift inner lever, washer and outer lever to the front case.
b. Using a pin punch, hammer and socket wrench, tap in the lever lock pin.
c. Install the washer and nut to the shift outer lever.
Torque: 12 Nm (120 kgf-cm, 9 ft. lbs.)





6. ASSEMBLE SHIFT FORK NO. 1 AND SHIFT FORK NO. 1 SHAFT
a. Assemble the shift fork No. 1 and shift fork No. 1 shaft.
b. Using a pin punch and hammer, drive in the slotted spring pin.





7. INSTALL IDLER GEAR ASSEMBLY WITH CENTER DIFFERENTIAL ASSEMBLY, SHIFT FORK NO. 1 AND SHIFT FORK NO. 1 SHAFT TO FRONT CASE

NOTICE: Set the shift inner lever into the fork head part of the shift fork No. I securely.

8. INSTALL INPUT SHAFT ASSEMBLY
9. INSTALL 2 BEARING RACES TO REAR CASE
10. ASSEMBLY FRONT CASE AND REAR CASE





a. Apply FIPG to the front case.
FIPG: Part No. 08826-00090, THREE BOND 1281 or equivalent
b. Assemble the front case and rear case.





c. Apply liquid sealer to the "A" bolt threads.
Sealant: Part No. 08833-00080, THREE BOND 1344, LOCTITE 242 or equivalent
d. Install the 8 bolts.
Torque: 37 Nm (380 kgf-cm, 27 ft. lbs.)





11. ASSEMBLE FRONT CASE AND REAR CASE
Using a snap ring expander, install the snap ring to the rear case.
12. INSTALL CASE COVER





a. Apply FIPG to the rear case.
FIPG: Part No. 08826-00090, THREE BOND 1281 or equivalent
b. Install the case cover.





c. Apply liquid sealer to the bolt threads.
Sealant: Part No. 08833-00080, THREE BOND 1344, LOCTITE 242 or equivalent
d. Install the 5 bolts.
Torque: 37 Nm (380 kgf-cm, 27 ft. lbs.)





13. INSTALL OIL STRAINER TO REAR CASE
Install the oil strainer and 2 bolts.
Torque: 4.9 Nm (50 kgf-cm, 43 inch lbs.)
14. SELECT ADJUSTING SHIM FOR IDLER GEAR REAR TAPER ROLLER BEARING





a. Using vernier calipers, measure dimension "A".
b. Lightly hole down the bearing outer race in the thrust direction to eliminate any looseness before making the measurement.





c. Using a steel straight edge and feeler gauge, measure the clearance of dimension "B".
d. Calculate the required thickness of the adjusting shim.
Thickness: Dimension "A" + Dimension "B" + [0.022 - 0.049 mm, (0.0009 - 0.0019 inch)]





e. From the table, select a shim so that its thickness is within the range of the calculation.
15. SELECT ADJUSTING SHIM FOR OUTPUT SHAFT TAPER ROLLER BEARING





a. Using a steel straight edge and feeler gauge, measure the clearance of dimension "C".
b. Lightly hold down the bearing outer race in the thrust direction to eliminate any looseness before making the measurement.





c. Using a steel straight edge and vernier calipers with depth gauge, measure dimension "D".
d. Dimension "D" is the straight edge thickness (Dimension "F") subtracted from dimension "E" in the illustration to the left.
Dimension "D": Dimension "E" - Dimension "F"





e. Using a steel straight edge and vernier calipers with depth gauge, measure dimension "G".
f. Dimension "G" is the straight edge thickness (Dimension "F") subtracted from Dimension "H".
Dimension "G": Dimension "H" - Dimension "F"
g. Calculate the required thickness of the adjusting shim.
Thickness: Dimension "G" - (Dimension "D" - Dimension "C") + [0.014 - 0.039 mm, (0.0006 - 0.0015 inch)]





h. From the table, select a shim so that its thickness is within the range of the calculation.
16. INSTALL REAR EXTENSION HOUSING





a. Apply FIPG to the rear extension housing.
FIPG: Part No. 08826-00090, THREE BOND 1281 or equivalent





b. Install the rear extension housing and 9 bolts.
Torque: 37 Nm (380 kgf-cm, 27 ft. lbs.)
17. ASSEMBLE SHIFT FORK NO. 2 SHAFT AND SHIFT FORK NO. 2
a. Install the shift fork No. 2 to the shift fork No. 2 shaft.
b. Install the 3 snap rings to the shift fork No. 2 shaft.





18. INSTALL CLUTCH SLEEVE WITH SHIFT FORK NO. 2 SHAFT AND SHIFT FORK NO. 2
HINT: Make sure to install the clutch sleeve in the correct direction.

19. INSTALL FRONT EXTENSION HOUSING





a. Apply FIPG to the front extension housing.

FIPG: Part No. 08826-00090, THREE BOND 1281 or equivalent





b. Install the front extension housing and 6 bolts.
Torque: 37 Nm (380 kgf-cm, 27 ft. lbs.)

HINT: Set the clutch sleeve in differential lock condition.

20. INSTALL TRANSFER INDICATOR SWITCH
Install the 3 transfer indicator switches with 3 new gaskets.
Torque: 37 Nm (380 kgf-cm, 27 ft. lbs.)





21. INSTALL BALL, SPRING AND SCREW
a. Install the ball and spring.
b. Apply liquid sealer to the screw plug threads.
Sealant: Part No. 08833-00080, THREE BOND 1344, LOCTITE 242 or equivalent
c. Using a torx socket wrench (T40), install the screw plug.
Torque: 19 Nm (190 kgf-cm, 14 ft. lbs.)





22. INSTALL OUTPUT GEAR TO FRONT CASE

HINT: Apply gear oil to the output gear.

NOTICE: Do not turn the output gear.

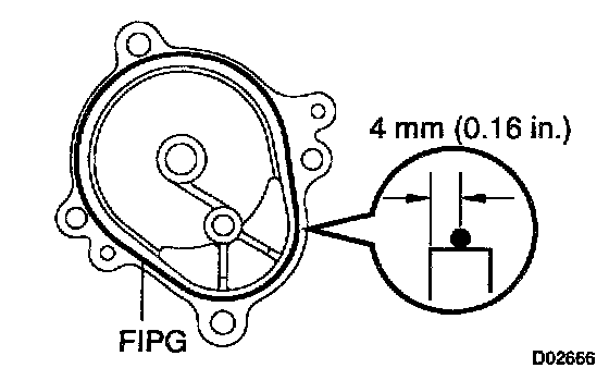
23. INSTALL MOTOR ACTUATOR





a. Apply FIPG to the motor actuator.
FIPG: Part No. 08826-00090, THREE BOND 1281 or equivalent





HINT: Set the motor actuator in differential lock condition.





b. Install the motor actuator and 4 bolts.
Torque: 18 Nm (185 kgf-cm, 13 ft. lbs.)
24. INSTALL SPEED SENSOR DRIVE GEAR
Install the driven gear and bolt.
Torque: 11 Nm (115 kgf-cm, 8 ft. lbs.)
25. INSTALL BREATHER HOSE