Operation CHARM: Car repair manuals for everyone.
Manuals through 2025 now available!

Our trusted friends have launched a new website named LEMON, which has newer manuals. It also contains all the CHARM manuals.

LEMON is the spiritual successor to CHARM, I recommend you try it!

Link: lemon-manuals.la or lemon-manuals.org.ua

(Some people have issue connecting. LEMON is investigating. For now, use Firefox or change your DNS server)

Or, hide this message: temporarily or permanently

Liftgate Window Glass: Service and Repair

REMOVAL

1. REMOVE THESE PARTS:
a. Assist grip plugs
b. Assist grip
c. Inside handle bezel
d. Center back door garnish
e. Back door garnish

2. REMOVE REAR WIPER ARM




3. REMOVE BACK WINDOW OUTSIDE MOULDING
Using a knife, cut off the moulding as shown.

NOTE: Do not damage the body with the knife.

4. REMOVE BACK DOOR GLASS




a. Disconnect the connector.
b. Push piano wire through between the body and glass from the interior.
c. Tie both wire ends to wooden blocks or similar object.

HINT: Apply protective tape to the outer surface to keep the surface from being scratched.






NOTE: When separating the glass, take care not to damage the paint and exterior ornaments.

d. Cut the adhesive by pulling the piano wire around it.
e. Remove the glass.

NOTE: Leave as much of the adhesive on the body as possible when cutting off the glass.

INSTALLATION

1. CLEAN AND SHAPE CONTACT SURFACE OF BODY




a. Using a knife, cut away any rough areas on the body.

HINT: Leave as much of the adhesive on the body as possible.

b. Clean the cutting surface of the adhesive with a piece of shop rag saturated in cleaner.

HINT: Even if all the adhesive has been removed, clean the body.

2. CLEAN REMOVED GLASS




a. Using a scraper, remove the adhesive sticking to the glass.
b. Clean the glass with cleaner.

NOTE: Do not touch the glass after cleaning it.

3. REPLACE CLIPS AND SPACERS

a. Remove the damaged clips and spacers.
b. Cut off the old adhesive around the clips and spacers installation area.

NOTE: Be careful not to damage the back door glass.

c. Clean the installation area.




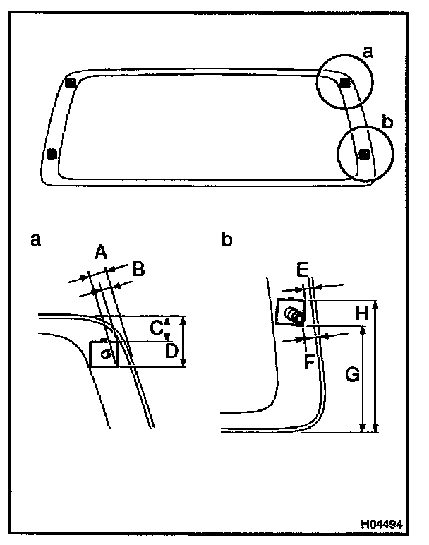
d. Attach new clips and spacers to the glass, as shown in the illustration.

A: 24.3 mm (0.957 in.)
B: 18.6 mm (0.732 in.)
C: 33.1 mm (1.303 in.)
D: 52.8 mm (2.079 in.)
E: 14.4 mm (0.567 in.)
F: 18 mm (0.71 in.)
G: 156.6 mm (6.165 in.)
H: 176.8 mm (6.961 in.)





4. INSTALL BACK WINDOW OUTSIDE MOULDING
Install a new back window moulding as shown in the illustration.

NOTE: Do not touch the glass face after cleaning it.




5. COAT CONTACT SURFACE OF BODY WITH PRIMER "M"
Using a brush, coat Primer M to exposed part of body on the vehicle side.

NOTE:
- Let the primer coating dry for 3 minutes or more
- Do not coat Primer M to the adhesive.
- Do not keep any of the opened Primer M for later use.

6. COAT CONTACT SURFACE OF GLASS WITH PRIMER "G"




a. Using a brush or sponge, coat the edge of the glass and contact surface with Primer G.
b. When the primers coated wrongly to the area other than the specified, wipe it off with a clean shop rag before the primer dries.

NOTE:
- Let the primer coating dry for 3 minutes or more.
- Do not keep any of the opened Primer G for later use.

7. APPLY ADHESIVE







a. Cut off the tip of the cartridge nozzle.

HINT: After cutting off the tip, use all adhesive within the time described in the table.

b. Load the cartridge into the sealer gun.
c. Coat the glass with adhesive, as shown in the illustration.

A: 8.0 mm (0.315 in.)
B: 12.0 mm (0.472 in.)


8. INSTALL BACK DOOR GLASS
a. Install the glass to the body.
b. Hold back door glass in place securely with protective tape or equivalent until the adhesive hardens.






NOTE: Take care not to drive the vehicle during the time described in the table.

9. INSPECT FOR LEAKS AND REPAIR
a. Conduct a leak test after the hardening time has elapsed.
b. Seal any leak with sealant.

Part No. 08833-00030 or equivalent

10. INSTALL REAR WIPER ARM
11. INSTALL THESE PARTS:
a. Back door garnish
b. Center back door garnish
c. Inside handle bezel
d. Assist grip
e. Assist grip plugs