Operation CHARM: Car repair manuals for everyone.
Manuals through 2025 now available!

Our trusted friends have launched a new website named LEMON, which has newer manuals. It also contains all the CHARM manuals.

LEMON is the spiritual successor to CHARM, I recommend you try it!

Link: lemon-manuals.la or lemon-manuals.org.ua

(Some people have issue connecting. LEMON is investigating. For now, use Firefox or change your DNS server)

Or, hide this message: temporarily or permanently

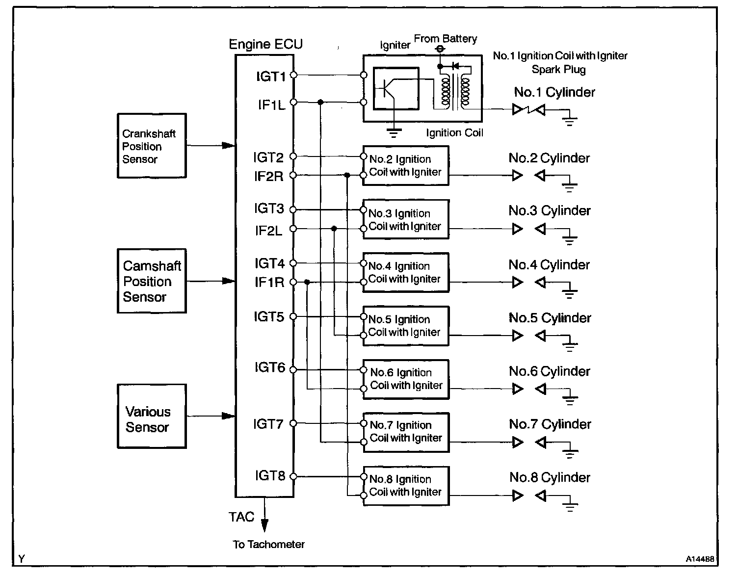
Ignition System: Description and Operation





DIS (Direct Ignition System)
A Direct Ignition System (DIS) has been adopted. The DIS improves the ignition timing accuracy, reduces high-voltage loss, and enhances the the overall reliability of the ignition system by eliminating the distributor. The DIS is a 1-cylinder ignition system which ignites one cylinder with one ignition coil. In the 1-cylinder ignition system, the one spark plug is connected to the end of the secondary winding. High voltage generated in the secondary winding is applied directly to the spark plug. The spark of the spark plug pass from the center electrode to the ground electrode.

The ECM determines ignition timing and outputs the ignition signals (IGT) for each cylinder. Based on IGT signals, the power transistors in the igniter cuts off the current to the primary coil in the ignition coil is supplied to the spark plug that are connected to the end of the secondary coil. At the same time, the igniter also sends an ignition confirmation signal (IGF) as a fail-safe measure to the ECM.