Operation CHARM: Car repair manuals for everyone.
Manuals through 2025 now available!

Our trusted friends have launched a new website named LEMON, which has newer manuals. It also contains all the CHARM manuals.

LEMON is the spiritual successor to CHARM, I recommend you try it!

Link: lemon-manuals.la or lemon-manuals.org.ua

(Some people have issue connecting. LEMON is investigating. For now, use Firefox or change your DNS server)

Or, hide this message: temporarily or permanently

Air Conditioning Radiator Assembly

Air Conditioning Radiator Assy:




Air Conditioning Radiator Assy:






OVERHAUL

1. DISCHARGE REFRIGERANT FROM REFRIGERATION SYSTEM

SST 07110-58060 (07117-58080, 07117-58090, 07117-78050, 07117-88060, 07117-88070, 07117-88080)

2. REMOVE COOLER REFRIGERANT SUCTION PIPE C (W/O REAR COOLER)
a. Install SST on the piping clamp.

SST 09870-00015

HINT: Make sure the direction of the piping clamp claw and SST by checking the illustration shown on the caution label.




b. Push down SST and release the clamp lock.

NOTE: Be careful not to deform the tube when pushing SST.

c. Pull SST slightly and push the release lever, and then remove the piping clamp with SST.




d. Disconnect the suction hose sub-assembly.

NOTE:
- Do not use tools like a screwdriver to remove the tube.
- Seal the opening of the disconnected parts using vinyl tape to prevent moisture and foreign matter from entering.

3. REMOVE PIPE COOLER REFRIGERANT SUCTION A (W/ REAR COOLER)

SST 09870-00015

HINT: Disconnection of the pipe cooler refrigerant suction A is the same way as the cooler refrigerant suction pipe C.

4. REMOVE COOLER REFRIGERANT LIQUID PIPE C (W/O REAR COOLER)

SST 09870-00025

HINT: Disconnection of the cooler refrigerant liquid pipe C is the same way as the cooler refrigerant suction pipe C.

5. REMOVE COOLER REFRIGERANT LIQUID PIPE A (W/ REAR COOLER)

SST 09870-00025

HINT: Disconnection of the cooler refrigerant liquid pipe A is the same way as the cooler refrigerant suction pipe C.




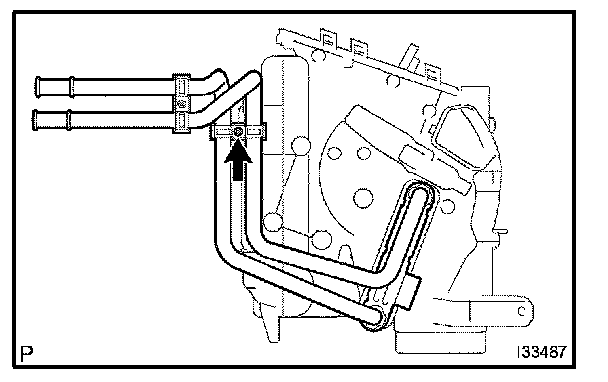
6. DISCONNECT HEATER WATER OUTLET HOSE A(FROM HEATER UNIT)

a. Using pliers, grip the claws of the clip and slide the clip to disconnect the heater water outlet hose A (from heater unit).

7. DISCONNECT HEATER WATER INLET HOSE A

HINT: Disconnection of the heater water inlet hose A is the same way as the heater water outlet hose A (from heater unit).

8. REMOVE INSTRUMENT PANEL SAFETY PAD SUB-ASSEMBLY W/DEFROSTER NOZZLE DUCT

HINT: Refer to the instructions for removal of the instrument panel safety pad sub-assembly w/ defroster nozzle duct.




9. REMOVE SIDE DEFROSTER NOZZLE DUCT NO.1
a. Release the 2 claw fittings and remove the clip and side defroster nozzle duct No.1.




10. REMOVE SIDE DEFROSTER NOZZLE DUCT NO.2
a. Release the 2 claw fittings and remove the clip and the side defroster nozzle duct No.2.




11. REMOVE HEATER TO REGISTER DUCT NO.1
a. Release the 2 claw fittings and remove the screw and the heater to register duct No.1.




12. REMOVE HEATER TO REGISTER DUCT NO.2
a. Release the 2 claw fittings and remove the 2 screws and the heater to register duct No.2.




13. REMOVE AIR DUCT REAR NO.2
a. Release the 6 claw fittings and the 3 clamps, and remove the air duct rear No.2.




14. REMOVE AIR DUCT REAR NO.1
a. Release the 6 claw fittings and the 3 clamps, and remove the air duct rear No.1.




15. REMOVE AIR DUCT NO.1
a. Release the 3 claw fittings and remove the air duct No.1.




16. REMOVE AIR DUCT NO.2
a. Release the 3 claw fittings and remove the air duct No.2.




17. REMOVE INSTRUMENT PANEL BRACE MOUNTING BRACKET NO.1
a. Remove the bolt, the nut and the instrument panel brace mounting bracket No.1.




b. Remove the bolt, the nut and the instrument panel brace mounting bracket No.1.




18. DISCONNECT STEERING COLUMN ASSEMBLY
a. Release the 3 clamps and disconnect the connector.




b. Remove the 4 nuts and disconnect the steering column Gassy.




19. REMOVE INSTRUMENT PANEL REINFORCEMENT
a. Remove the 4 bolts and the 5 nuts.




b. Release the 14 clamps.
c. Disconnect the connectors.




d. Remove the 5 bolts.




e. Remove the 7 bolts and the instrument panel reinforcement.




20. REMOVE HEATER TO REGISTER DUCT ASSEMBLY
a. Release the 4 claw fittings and remove the heater to register duct assembly.




21. REMOVE DEFROSTER NOZZLE ASSEMBLY LOWER
a. Release the 4 claw fittings and remove the defroster nozzle assembly lower.




22. REMOVE AIR CONDITIONER UNIT ASSEMBLY
a. Disconnect the connectors.
b. Remove the 2 nuts and the air conditioner unit assembly.




23. REMOVE AIR CONDITIONING RADIATOR ASSEMBLY
a. Remove the 2 screws and the air conditioning radiator assembly.




24. REMOVE MODE DAMPER SERVO SUB-ASSEMBLY
a. Remove the 3 screws and the mode damper servo sub-assembly.




25. REMOVE AIRMIX DAMPER SERVO SUB-ASSEMBLY
a. Remove the 3 screws and the airmix damper servo sub-assembly.




26. REMOVE BLOWER DAMPER SERVO SUB-ASSEMBLY
a. Remove the 3 screws and the blower damper servo sub-assembly.




27. REMOVE HEATER RADIATOR UNIT SUB-ASSEMBLY
a. Remove the screw, the clamp and the heater radiator unit sub-assembly.

28. REMOVE COOLER UNIT DRAIN HOSE NO.1




29. REMOVE COVER PLATE
a. Remove the screw.
b. Release the claw fitting and remove the cover.




30. REMOVE AIR CONDITIONING TUBE & ACCESSORY ASSEMBLY
a. Using a hexagon wrench 4.0 mm (0.15 in.), remove the 2 hexagon bolts and the air conditioning tube assembly.
b. Remove the 2 O-rings from the air conditioning tube assembly.




31. REMOVE COOLER EXPANSION VALVE
a. Remove the cooler expansion valve from the cooler evaporator sub-assembly No.1.




32. REMOVE COOLER EVAPORATOR SUB-ASSEMBLY NO.1
a. Remove the 8 screws and separate the heater case.
b. Remove the cooler evaporator sub-assembly No.1.




c. Remove the 2 O-rings from the cooler evaporator sub-assembly No.1.




33. REMOVE COOLER THERMISTOR NO.1
a. Remove the cooler thermistor No.1 from the cooler evaporator sub-assembly No.1.

34. REMOVE COVER PLATE




35. INSTALL COOLER THERMISTOR NO.1
a. Install the cooler thermistor No.1 to the evaporator as shown in the illustration.
b. Check that the thermistor sticks to the evaporator surface as shown in the illustration (A: Thermistor, B: Evaporator).

NOTE: If reusing the evaporator, DO NOT insert the thermistor to the position that it had been inserted before. Insert it to between the position C shown in the illustration.




36. INSTALL COOLER EVAPORATOR SUB-ASSEMBLY NO.1
a. Sufficiently apply compressor oil to 2 new O-rings and the fitting surface of the cooler expansion valve.

Compressor oil: ND-OIL 8 or equivalent

b. Install the 2 O-rings on the cooler evaporator sub-assembly No.1.




c. Install the cooler evaporator sub-assembly No.1 on the heater case.
d. Install the heater case with the 8 screws.




37. INSTALL COOLER EXPANSION VALVE
a. Install the cooler expansion valve to the cooler evaporator sub-assembly No.1.




38. INSTALL AIR CONDITIONING TUBE & ACCESSORY ASSEMBLY
a. Sufficiently apply compressor oil on 2 new O-rings and the fitting surface of the air conditioning tube assembly.

Compressor oil: ND-OIL 8 or equivalent

b. Install the 2 O-rings on the air conditioning tube assembly.

c. Using a hexagon wrench 4.0 mm (0.15 in.), install the air conditioning tube assembly with the 2 hexagon bolts.

Torque: 3.5 N.m (35 kgf.cm, 30 in.lbf)




39. INSTALL AIR CONDITIONER UNIT ASSEMBLY
a. Install the air conditioner unit assembly with the 2 nuts.

Torque: 5.4 N.m (55 kgf.cm, 48 in.lbf)

b. Connect the connectors.




40. INSTALL INSTRUMENT PANEL REINFORCEMENT
a. Install the instrument panel reinforcement with the 7 bolts.




b. Install the 5 bolts.

Torque: 9.8 N.m (100 kgf.cm, 87 in.lbf)

NOTE: Tighten the bolts in the order shown in the illustration to install the air conditioner unit assembly.




c. Install the 14 clamps.
d. Connect the connectors.




e. Install the 4 bolts and the 5 nuts.

Torque: 8.3 N.m (85 kgf.cm, 73 in.lbf)




41. INSTALL STEERING COLUMN ASSEMBLY
a. Install the steering column assembly with the 4 nuts.

Torque: 26 N.m (265 kgf.cm, 19 ft.lbf)




b. Install the 3 clamps and connect the connectors.

42. INSTALL INSTRUMENT PANEL SAFETY PAD SUB-ASSEMBLY W/DEFROSTER NOZZLE DUCT




43. REMOVE COOLER REFRIGERANT LIQUID PIPE C (W/O REAR COOLER)
a. Lubricate a new O-ring with compressor oil and install it on the hose.

Compressor oil: ND-OIL 8 or equivalent

b. Install the cooler refrigerant liquid pipe C and the piping clamp.

HINT: After the connection, check the claw fitting of the piping clamp.

44. REMOVE COOLER REFRIGERANT LIQUID PIPE A (W/ REAR COOLER)

HINT: Connection of the cooler refrigerant liquid pipe A is the same way as the cooler refrigerant liquid pipe C.

45. REMOVE PIPE COOLER REFRIGERANT SUCTION A (W/ REAR COOLER)

a. Lubricate a new O-ring with compressor oil and install it to the pipe.

Compressor oil: ND-OIL 8 or equivalent

b. Install the pipe cooler refrigerant suction A and the piping clamp. HINT: After the connection, check the claw fitting of the piping clamp.

46. REMOVE COOLER REFRIGERANT SUCTION PIPE C (W/O REAR COOLER)

HINT: Connection of the cooler refrigerant suction pipe C is the same way as the pipe cooler refrigerant suction A.

47. ADD ENGINE COOLANT
48. CHARGE REFRIGERANT

SST 07110-58060 (07117-58060, 07117-58070, 07117-58080, 07117-58090, 07117-78050, 07117-88060, 07117-88070, 07117-88080)

Specified amount:

Single A/C: 600 ± 30 g (21.16 ± 1.06 oz.)
Dual A/C: 800 ± 30 g (28.21 ± 1.06 oz.)

49. WARM UP ENGINE
50. CHECK FOR ENGINE COOLANT LEAKS
51. INSPECT LEAKAGE OF REFRIGERANT