Operation CHARM: Car repair manuals for everyone.
Manuals through 2025 now available!

Our trusted friends have launched a new website named LEMON, which has newer manuals. It also contains all the CHARM manuals.

LEMON is the spiritual successor to CHARM, I recommend you try it!

Link: lemon-manuals.la or lemon-manuals.org.ua

(Some people have issue connecting. LEMON is investigating. For now, use Firefox or change your DNS server)

Or, hide this message: temporarily or permanently

Overhaul

OVERHAUL




1. REMOVE GENERATOR REAR END COVER
a. Remove the 3 nuts and end cover.
b. Remove the terminal insulator.




2. REMOVE GENERATOR BRUSH HOLDER ASSEMBLY
a. Remove the rear seal plate from the brush holder.
b. Remove the 2 screws and brush holder.
c. Remove the front seal plate from the coil.

3. REMOVE GENERATOR PULLEY




a. Hold SST (A) with a torque wrench and tighten SST (B) clockwise to the specified torque.

SST 09820-63011

Torque: 39 N.m (398 kgf.cm, 29 ft.lbf)

b. Check that SST (A) is secured to the rotor shaft.




c. Mount SST (C) in a vise.
d. Insert SST (B) into SST (C), and attach the pulley nut to SST (C).




e. To loosen the pulley nut, turn SST (A) in the direction shown in the illustration.

NOTE: To prevent damage to the rotor shaft, do not turn the pulley nut more than one-half turn.

f. Remove the generator from SST (C).




g. Turn SST (B) and remove SST (A and B).
h. Remove the pulley nut and pulley.

4. REMOVE GENERATOR COIL ASSEMBLY




a. Remove the 4 bolts.




b. Using SST, remove the coil.

SST 09950-40011 (09951-04020, 09952-04010, 09953-04020, 09954-04010, 09955-04071, 09958-04011)

c. Remove the generator washer.

5. REMOVE GENERATOR ROTOR ASSEMBLY
6. INSPECT GENERATOR ROTOR ASSEMBLY




a. Check that the rotor does not have an open circuit.
1. Using an ohmmeter, measure the resistance between the slip rings.

Standard: 2.1 to 2.5 Ohm at 20°C (68°F)

If the result is not as specified, replace the rotor assembly.




b. Check that the rotor is not grounded.
1. Using an ohmmeter, measure the resistance between the slip ring and rotor core.

Standard: 10 kOhm or higher

If the result is not as specified, replace the rotor assembly.




c. Inspect the slip rings.
1. Check that the slip rings are not rough or scored.
If rough or scored, replace the rotor assembly.
d. Using a vernier caliper, measure the slip ring diameter.

Diameter:
12.8 to 14.4 mm (0.504 to 0.567 in.)

If the diameter is less than the minimum, replace the rotor assembly.




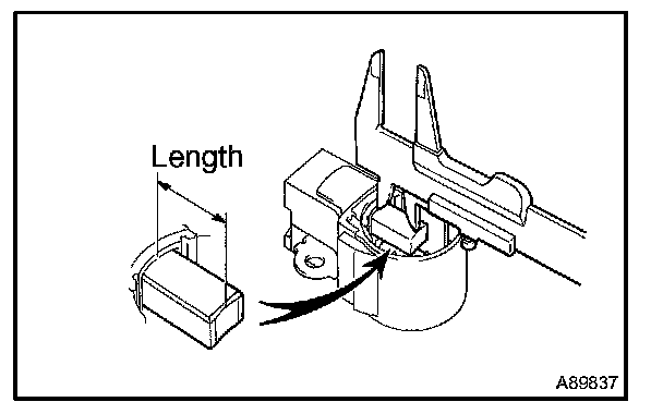
7. INSPECT GENERATOR BRUSH HOLDER ASSEMBLY
a. Using a vernier caliper, measure the exposed brush length.

Exposed brush length:
1.5 to 11.5 mm (0.059 to 0.453 in.)

If the length is less than the minimum, replace the brush holder assembly.

8. INSPECT BEARING
a. Check that the bearing is not rough or worn.

If rouge or worn, replace the bearing.

9. REPLACE FRONT BEARING




a. Remove the 4 screws and bearing retainer.




b. Using SST and a press, press out the bearing.
SST 09223-00010




c. Using SST and a press, press in a new bearing.

SST 09950-60010 (09951-00480)

d. Install the bearing retainer with the 4 screws.

Torque: 2.3 N.m (23 kgf.cm, 20 in.lbf)

10. REPLACE REAR BEARING




a. Using SST, remove the bearing cover (outside) and bearing.

SST 09820-00021

NOTE: Be careful not to damage the fan.

b. Remove the bearing cover (inside).




c. Place the bearing cover (inside) on the rotor.




d. Using SST and a press, press in a new bearing.

SST 09820-00031




e. Using SST, push in the bearing cover (outside).

SST 09285-76010




11. INSTALL GENERATOR ROTOR ASSEMBLY
a. Place the drive end frame on the pulley.
b. Install the rotor to the drive end frame.

12. INSTALL GENERATOR COIL ASSEMBLY




a. Place the generator washer on the rotor.




b. Using a 29 mm socket wrench and press, slowly press in the coil.




c. Install the coil with the 4 bolts.

Torque: 5.8 N.m (59 kgf.cm, 51 in.lbf)

13. INSTALL GENERATOR PULLEY




a. Install the pulley to the rotor shaft by tightening the pulley nut by hand.
b. Hold SST (A) with a torque wrench, and tighten SST (B)clockwise to the specified torque.

SST 09820-63010

Torque: 39 N.m (398 kgf.cm, 29 ft.lbf)

c. Check that SST (A) is secured to the pulley shaft.




d. Mount SST (C) in a vise.
e. Insert SST (B) into SST (C), and attach the pulley nut to SST (C).




f. To tighten the pulley nut, turn SST (A) in the direction shown in the illustration.

Torque: 111 N.m (1.132 kgf.cm, 82 ft.lbf)

g. Remove the generator from SST (C).




h. Turn SST (B) and remove SST (A and B).

14. INSTALL GENERATOR BRUSH HOLDER ASSEMBLY




a. Place the front seal plate onto the coil.




b. Place the brush holder on the coil.

NOTE: Be careful of the holder's installation direction.

c. Install the 2 screws.

Torque: 1.8 N.m (18 kgf.cm, 16 in.lbf)

d. Place the rear seal plate on the brush holder.




15. INSTALL GENERATOR REAR END COVER
a. Install the terminal insulator.
b. Install the end cover with the 3 nuts.

Torque: 4.6 N.m (47 kgf.cm, 41 in.lbf)

16. CHECK THAT ROTOR ROTATES SMOOTHLY