Operation CHARM: Car repair manuals for everyone.
Manuals through 2025 now available!

Our trusted friends have launched a new website named LEMON, which has newer manuals. It also contains all the CHARM manuals.

LEMON is the spiritual successor to CHARM, I recommend you try it!

Link: lemon-manuals.la or lemon-manuals.org.ua

(Some people have issue connecting. LEMON is investigating. For now, use Firefox or change your DNS server)

Or, hide this message: temporarily or permanently

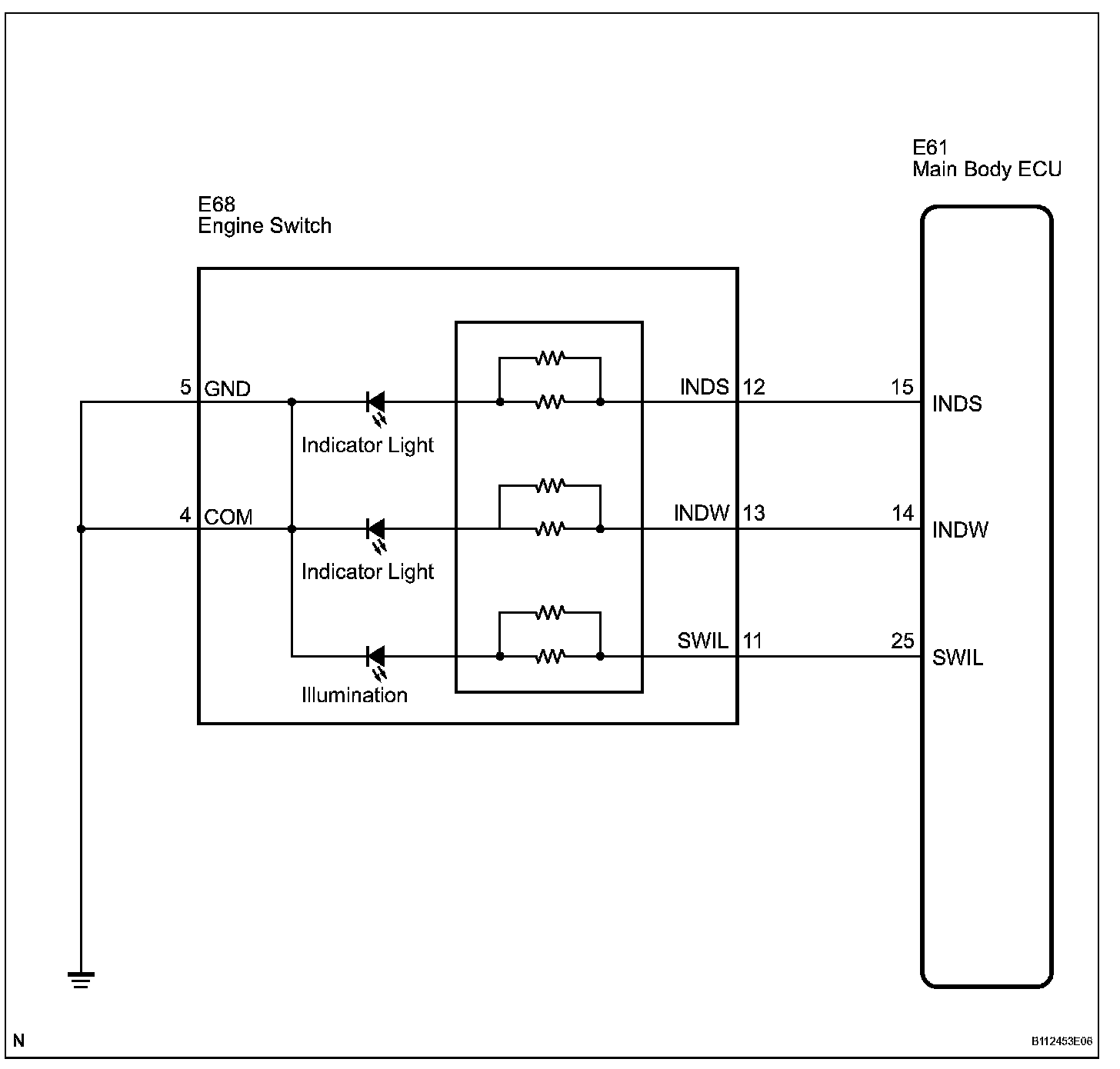
Engine Switch Indicator Circuit

Engine Switch Indicator Circuit

DESCRIPTION




Engine start conditions or system malfunctions can be checked by the status of the engine switch indicator light.

Wiring Diagram:






Step 1:




Step 1 (Continued)-2:




Step 2 (Continued):




INSPECTION PROCEDURE