Operation CHARM: Car repair manuals for everyone.
Manuals through 2025 now available!

Our trusted friends have launched a new website named LEMON, which has newer manuals. It also contains all the CHARM manuals.

LEMON is the spiritual successor to CHARM, I recommend you try it!

Link: lemon-manuals.la or lemon-manuals.org.ua

(Some people have issue connecting. LEMON is investigating. For now, use Firefox or change your DNS server)

Or, hide this message: temporarily or permanently

Continuity and Resistance Check

CONTINUITY AND RESISTANCE CHECK




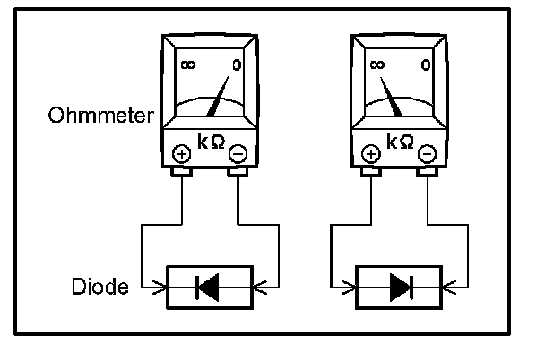
a. Disconnect the battery terminal or wire so there is no voltage between the check points.

b. Contact the two leads of an ohmmeter to each of the check points.




If the circuit has diodes, reverse the two leads and check again.

When contacting the negative lead to the diode positive side and the positive lead to the negative side, there should be continuity.

When contacting the two leads in reverse, there should be no continuity.




c. Use a volt/ohmmeter with high impedance (10 kohms/V minimum) for troubleshooting of the electrical circuit.