Operation CHARM: Car repair manuals for everyone.
Manuals through 2025 now available!

Our trusted friends have launched a new website named LEMON, which has newer manuals. It also contains all the CHARM manuals.

LEMON is the spiritual successor to CHARM, I recommend you try it!

Link: lemon-manuals.la or lemon-manuals.org.ua

(Some people have issue connecting. LEMON is investigating. For now, use Firefox or change your DNS server)

Or, hide this message: temporarily or permanently

Relay Box

Engine Room J/B - Engine Compartment Left:



Engine Room J/B - Engine Compartment Left:



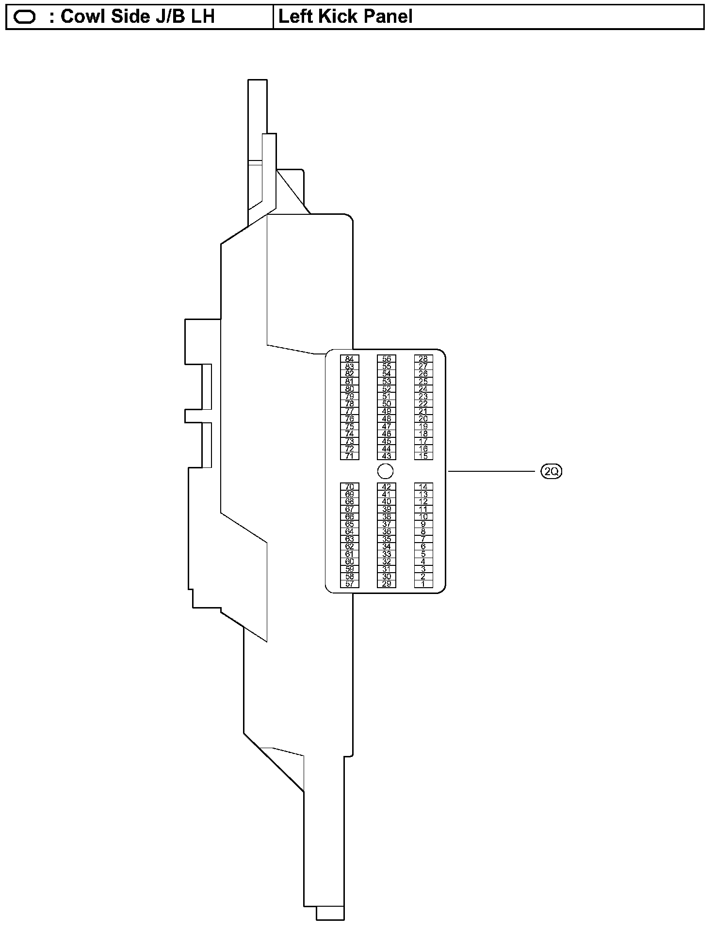
Cowl Side J/B LH - Left Kick Panel:



Cowl Side J/B LH - Left Kick Panel:



Cowl Side J/B LH - Left Kick Panel:



Cowl Side J/B LH - Left Kick Panel:



Cowl Side J/B RH - Right Kick Panel:



Cowl Side J/B RH - Right Kick Panel:



Cowl Side J/B RH - Right Kick Panel:



Cowl Side J/B RH - Right Kick Panel:



Cowl Side J/B RH - Right Kick Panel:



J/B No.4 - Instrument Panel Center:



J/B No.5 - Behind the Combination Meter:



J/B No.6 - Behind The Glove Box:



J/B No.7 - Behind The Glove Box:



Engine Room J/B No.8, R/B No.8 - Near The Front Left Suspension Tower:



Junction Connector - Right Kick Panel: