Operation CHARM: Car repair manuals for everyone.
Manuals through 2025 now available!

Our trusted friends have launched a new website named LEMON, which has newer manuals. It also contains all the CHARM manuals.

LEMON is the spiritual successor to CHARM, I recommend you try it!

Link: lemon-manuals.la or lemon-manuals.org.ua

(Some people have issue connecting. LEMON is investigating. For now, use Firefox or change your DNS server)

Or, hide this message: temporarily or permanently

System Description

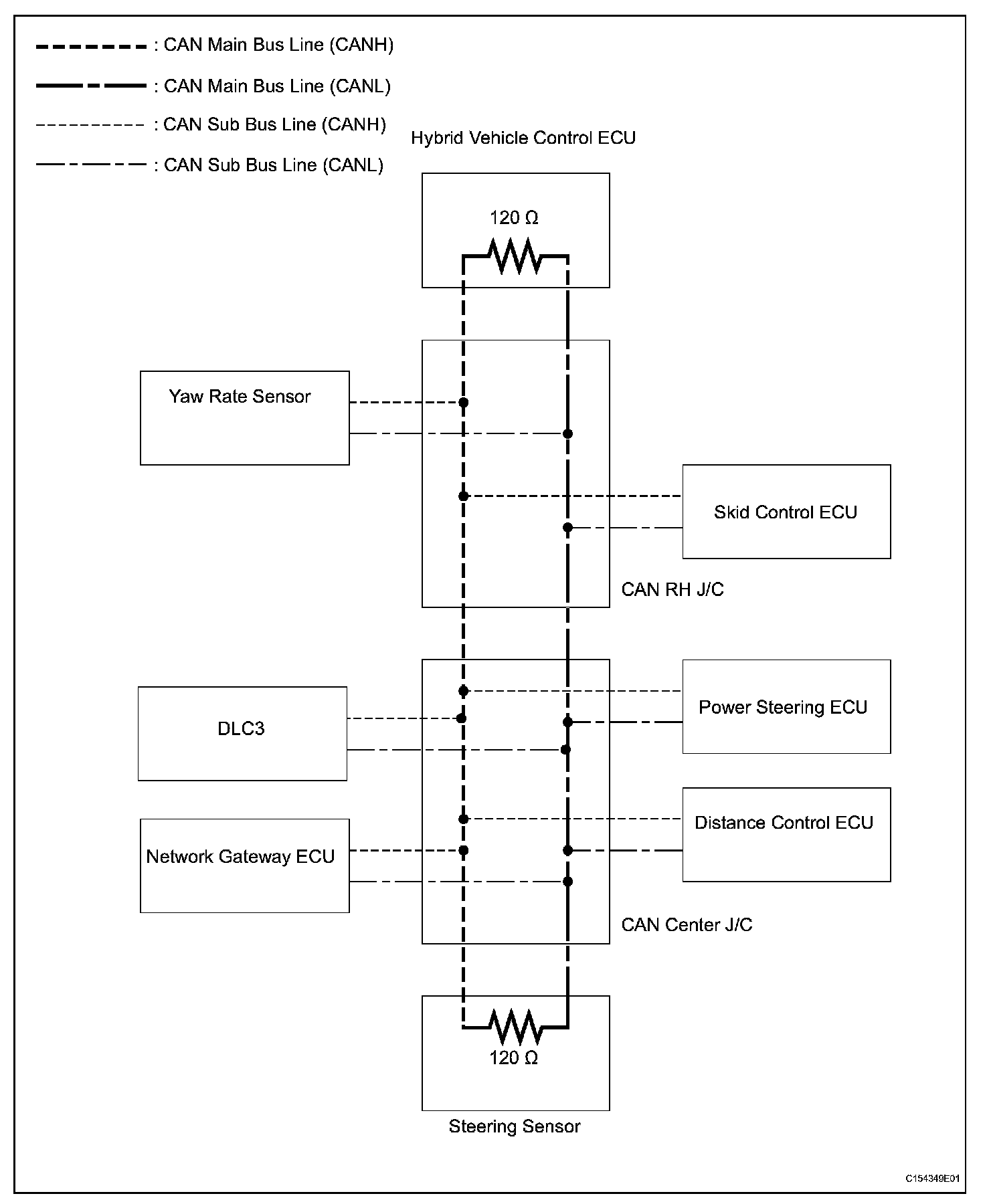
System Diagram:




SYSTEM DIAGRAM

HINT:
- The skid control ECU detects and stores steering sensor and yaw rate sensor DTCs and performs DTC communication by receiving information from the steering sensor and yaw rate sensor.
- The HV control ECU detects and stores distance control ECU DTCs, and performs DTC communication by receiving information from the distance control ECU.
- The HV control ECU uses the CAN communication system to perform DTC communication instead of the conventional communication line (SIL).

SYSTEM DESCRIPTION

1. BRIEF DESCRIPTION
a. The CAN (Controller Area Network) is a serial data communication system for real time application. It is a vehicle multiplex communication system which has a high communication speed (500 kbps) and the ability to detect malfunctions.
b. By pairing the CANH and CANL bus lines, the CAN performs communication based on differential voltage.
c. Many ECUs (sensors) installed on the vehicle operate by sharing information and communicating with each other.
d. The CAN has two resistors of 120 ohms which are necessary to communicate with the main bus line.

2. DEFINITION OF TERMS
a. Main bus line
1. The main bus line is a wire harness between the two terminus circuits on the bus (communication line). This is the main bus in the CAN communication system.

b. Sub bus line
1. The sub bus line is a wire harness which diverges from the main bus line to an ECU or sensor.

c. Terminus circuit
1. The terminus circuit is a circuit that converts communication current of the CAN communication into bus voltage. It consists of a resistor and condenser. Two terminus circuits are necessary on a bus.

3. ECUS OR SENSORS WHICH COMMUNICATE THROUGH CAN COMMUNICATION SYSTEM
a. Skid control ECU
b. Yaw rate sensor
c. Steering sensor
d. Distance control ECU
e. Gateway ECU
f. Power steering ECU
g. Hybrid vehicle control ECU

4. DIAGNOSTIC CODE FOR CAN COMMUNICATION SYSTEM
a. DTCs for the CAN communication system are as follows: U0001, U0073, U0100-211, U0100-212, U0100-530, U0100-774, U0100-784, U0105, U0122-732, U0123-736, U0126-735, U0293-730, U0293, U1101-728, U0129-220, U0129-222, U0129-528, U0129-529, U0131-433, U0131-434, U0146-435, P0A1D-615, U0121, U0123, U0124, U0126, U0146, U0293, P3108-594, 5C-42

5. REMARK FOR TROUBLESHOOTING
a. Trouble in the CAN bus (communication line) can be checked from the DLC3 (except when there is a wire break in other than the sub bus line of the DLC3).

NOTE: Do not connect the tester directly to the DLC3. Be sure to use a service wire.

b. DTCs for the CAN communication system can be checked using the intelligent tester via the CAN VIM.
c. ECUs cannot output DTCs if there is trouble in the sub bus line of the DLC3 even though the DLC3 is also connected to the CAN communication system.

6. HOW TO DISTINGUISH THE CAN J/C CONNECTOR
a. In the CAN communication system, the shape of all connectors connected to the CAN J/C is the same. The connectors connected to the CAN J/C can be distinguished by the colors of the bus lines and the connecting side of the connector.

HINT: See "TERMINALS OF ECU" for bus line color or the type of connecting surface.