Operation CHARM: Car repair manuals for everyone.
Manuals through 2025 now available!

Our trusted friends have launched a new website named LEMON, which has newer manuals. It also contains all the CHARM manuals.

LEMON is the spiritual successor to CHARM, I recommend you try it!

Link: lemon-manuals.la or lemon-manuals.org.ua

(Some people have issue connecting. LEMON is investigating. For now, use Firefox or change your DNS server)

Or, hide this message: temporarily or permanently

Cruise Control System










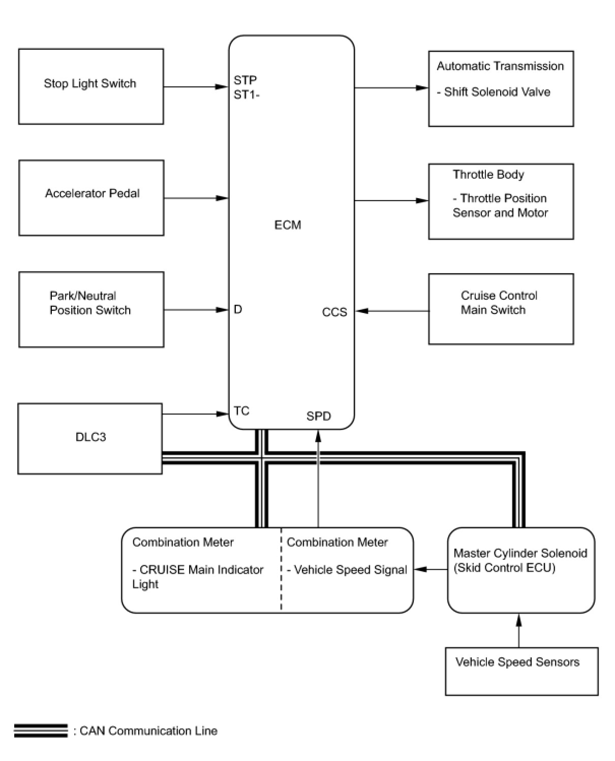
CRUISE CONTROL: CRUISE CONTROL SYSTEM: SYSTEM DIAGRAM






Communication Table





CRUISE CONTROL: CRUISE CONTROL SYSTEM: SYSTEM DESCRIPTION


1. CRUISE CONTROL SYSTEM
This system is controlled by the ECM, and is activated by the throttle position sensor and motor. The ECM controls the following functions: ON-OFF, -SET (COAST/SET), +RES (ACCELERATION/RESUME), CANCEL, vehicle speed operation, motor output control, and shift down control.

- The ECM compares the driving vehicle speed from the vehicle speed sensor with the stored vehicle speed set through the cruise control main switch. The ECM controls the throttle valve motor of the throttle position sensor and motor to open the valve when the driving speed is less than the stored speed.
- The ECM receives signals such as ON-OFF, -SET (COAST/SET), +RES (ACCELERATION/RESUME), and CANCEL from the cruise control main switch and executes the corresponding function.
- The ECM illuminates the CRUISE main indicator light on the combination meter when it receives the cruise control main switch on signal.
- The ECM cancels the cruise control system when the brake pedal is depressed and the ECM receives the stop light switch signal.
- The ECM cancels the cruise control system when the S3, S2, or S1 range is selected with the shift lever in S, or when the shift lever is moved from D to N, based on the PNP (Park/Neutral Position) switch signal.

2. LIMIT CONTROL
(a) Low speed limit
The lowest possible limit of the speed setting range is set at approximately 40 km/h (25 mph). The cruise control system cannot be set when the driving vehicle speed is below the low speed limit. The cruise control operation will be automatically canceled but the stored vehicle speed will be retained when the vehicle speed decreases below the low speed limit of 40 km/h (25 mph) while cruise control is in operation.
(b) High speed limit
The highest possible limit of the speed setting range is set at approximately 200 km/h (125 mph). The cruise control system cannot be set when the driving vehicle speed is over the high speed limit. Also, +RES (ACCELERATION/RESUME) cannot be used to increase speed beyond the high speed limit.
3. OPERATION OF CRUISE CONTROL
The cruise control main switch is used to operate 7 functions: SET, - (COAST), TAP-DOWN, RES (RESUME), + (ACCELERATION), TAP-UP, and CANCEL. The SET, TAP-DOWN and - (COAST) functions, and the RES (RESUME), TAP-UP and + (ACCELERATION) functions are operated with the same switch. The cruise control main switch is an automatic return type switch which turns on only while operating it in each arrow direction and turns off after releasing it.
(a) SET CONTROL
Vehicle speed is stored and constant speed control is maintained when pushing the switch to -SET while driving with the cruise control main switch on (the CRUISE main indicator light is on), and the vehicle speed is within the set speed range (between the low and high speed limits).
(b) - (COAST) CONTROL
When the cruise control main switch is pushed to -SET and held in that position while the cruise control system is operating, the ECM sends a "throttle valve opening angle 0°" demand signal to the throttle body. Then the vehicle speed is stored and maintained when the cruise control main switch is released.
HINT:
An actual throttle valve opening angle of 0° is not possible due to the idle speed control, etc.

(c) TAP-DOWN CONTROL
When tapping down the cruise control main switch to -SET (for approximately 0.6 seconds) while the cruise control system is in operation, the stored vehicle speed decreases each time by approximately 1.6 km/h (1.0 mph). However, when the difference between the driving and stored vehicle speeds is more than approximately 5 km/h (3.1 mph), the stored vehicle speed is set to the actual vehicle speed at the moment the cruise control main switch is released from -SET and constant speed control is maintained.
(d) + (ACCELERATION) CONTROL
The throttle valve motor of the throttle position sensor and motor is instructed by the ECM to open the throttle valve when +RES on the cruise control main switch is pressed and held while the cruise control system is in operation. When the cruise control main switch is released from +RES, the vehicle speed is stored and the vehicle is controlled at a constant speed.
(e) TAP-UP CONTROL
When tapping up the cruise control main switch to +RES (for approximately 0.6 seconds) while the cruise control system is in operation, the stored vehicle speed increases each time by approximately 1.6 km/h (1.0 mph). However, when the difference between the driving and the stored vehicle speed is more than approximately 5 km/h (3.1 mph), the stored vehicle speed will not be changed.
(f) RES (RESUME) CONTROL
If cruise control operation was canceled with the stop light switch or the CANCEL switch, and if the driving speed is within the limit range, pushing the cruise control main switch to +RES restores the vehicle speed memorized at the time of cancellation, and maintains constant speed control.
(g) MANUAL CANCEL CONTROL
Performing any of the following cancels the cruise control system while in operation (the stored vehicle speed in the ECM is maintained).
- Depressing the brake pedal.
- Moving the shift lever from D to N.
- With the shift lever in S, selecting the S1, S2 or S3 range.
- Pulling the cruise control main switch to CANCEL.
- Turning the cruise control main switch off (the stored vehicle speed in the ECM is not maintained).
- Driving the vehicle while the VSC system is operating.

4. AUTO CANCEL (FAIL-SAFE)
This system has an automatic cancellation function (fail-safe) Fail-Safe Chart.