Operation CHARM: Car repair manuals for everyone.
Manuals through 2025 now available!

Our trusted friends have launched a new website named LEMON, which has newer manuals. It also contains all the CHARM manuals.

LEMON is the spiritual successor to CHARM, I recommend you try it!

Link: lemon-manuals.la or lemon-manuals.org.ua

(Some people have issue connecting. LEMON is investigating. For now, use Firefox or change your DNS server)

Or, hide this message: temporarily or permanently

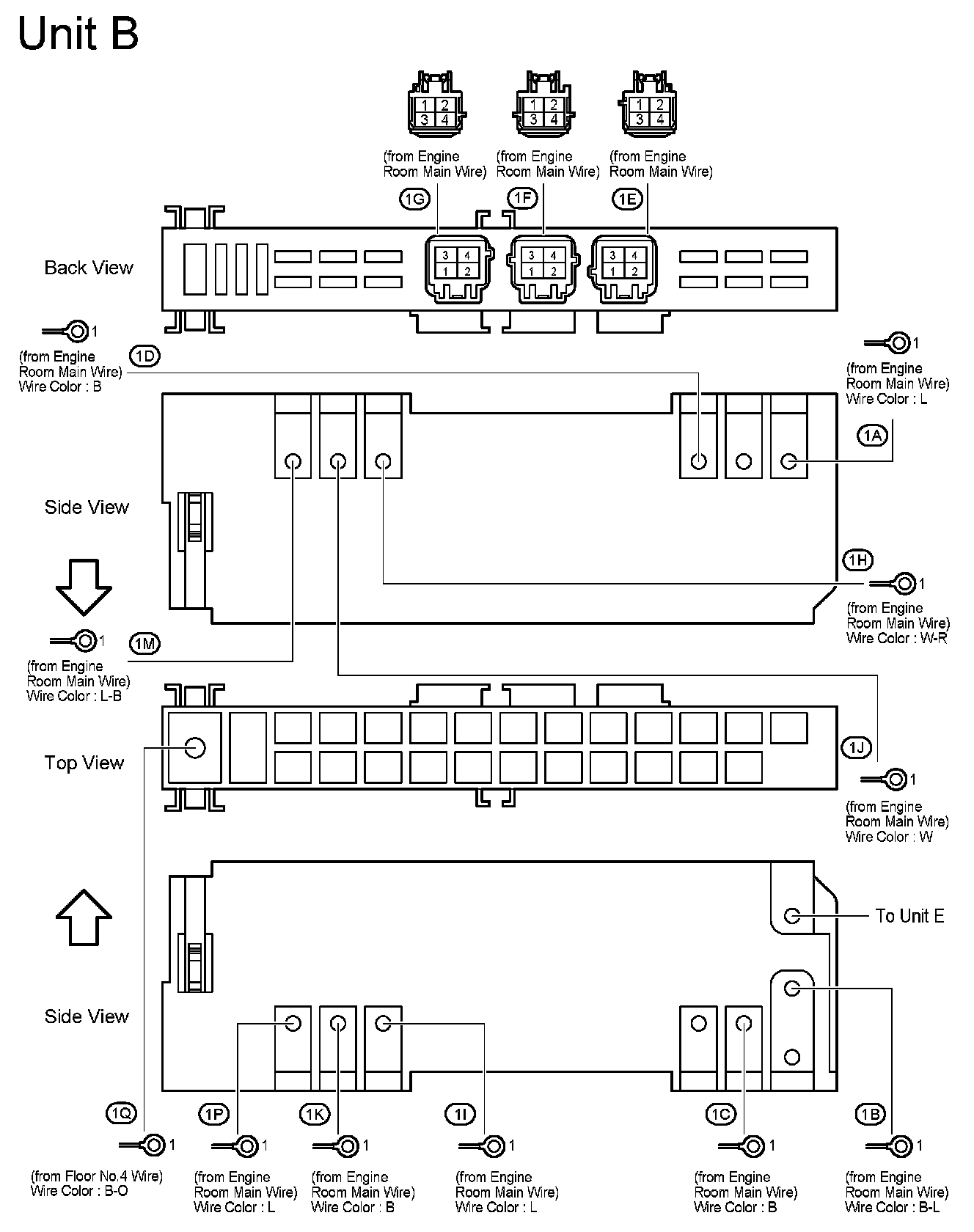
Fuse Block

Center J/B LH - Right Side Of The Instrument Panel Reinforcement:



Center J/B RH - Right Side Of The Instrument Panel Reinforcement:



Cowl Side J/B LH - Lower Finish Panel:



Cowl Side J/B LH - Lower Finish Panel:



Cowl Side J/B RH - Behind The Glove Box:



Cowl Side J/B RH - Behind The Glove Box:



Engine Room R/B No.1 / J/B No.1 - Engine Compartment Left:



Engine Room R/B No.1 / J/B No.1 - Engine Compartment Left:



Engine Room R/B No.1 / J/B No.1 - Engine Compartment Left:



Engine Room R/B No.1 / J/B No.1 - Engine Compartment Left:



Engine Room R/B No.1 / J/B No.1 - Engine Compartment Left:



Engine Room R/B No.1 / J/B No.1 - Engine Compartment Left:



Engine Room R/B No.1 / J/B No.1 - Engine Compartment Left:



Fusible Link Block (No.1) - Luggage Room Center:



Fusible Link Block (No.2) - Luggage Room Left:



Junction Connector (CAN Center) - Right Side Of The Instrument Panel Reinforcement:



Junction Connector (CAN LH) - Left Kick Panel:



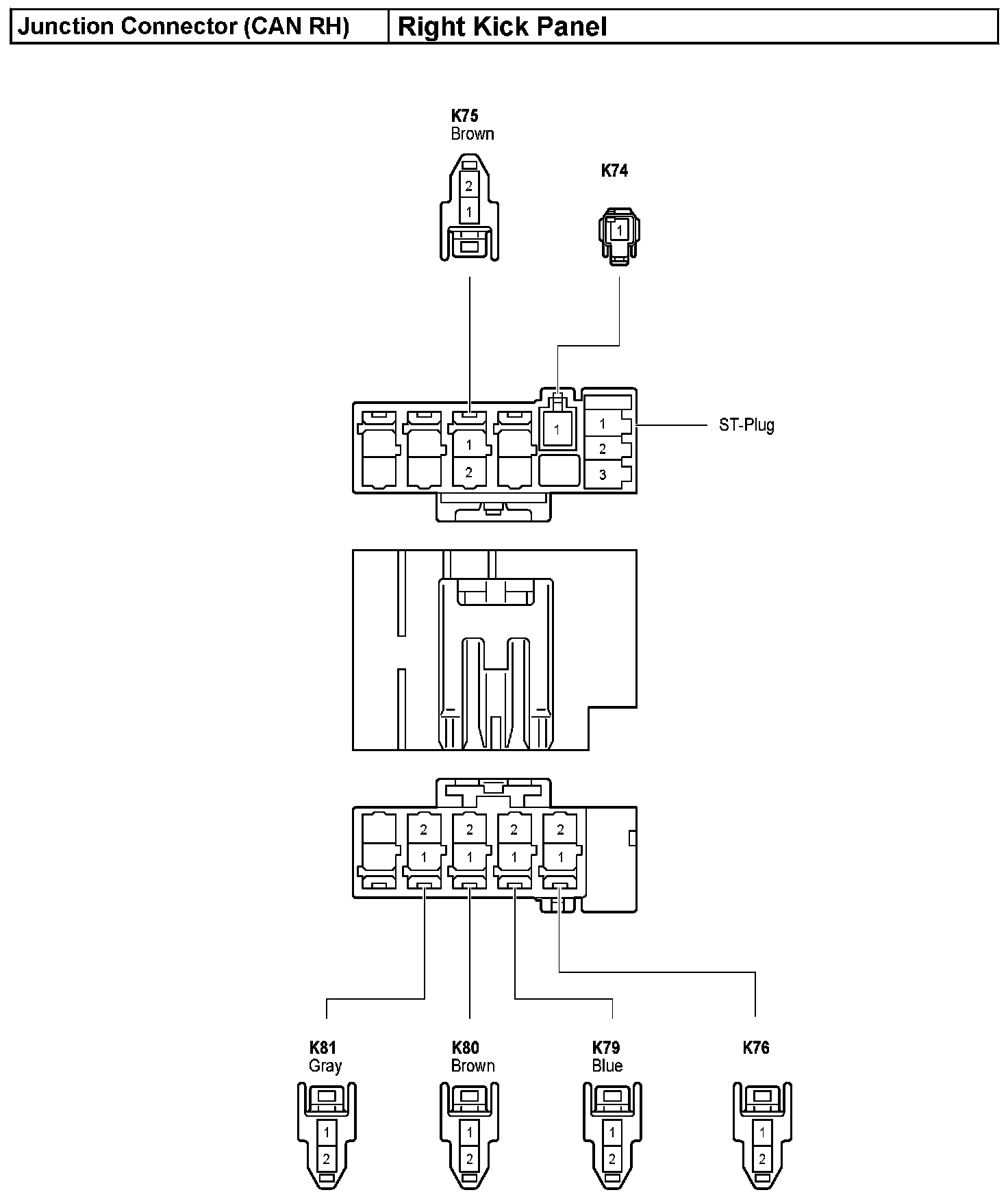
Junction Connector (CAN RH) - Right Kick Panel:



Luggage Room J/B - Left Side Of The Quarter Panel:



Luggage Room J/B - Left Side Of The Quarter Panel:



Luggage Room R/B No.6 - Luggage Room Center:



Overhead J/B:



Overhead J/B: