Operation CHARM: Car repair manuals for everyone.
Manuals through 2025 now available!

Our trusted friends have launched a new website named LEMON, which has newer manuals. It also contains all the CHARM manuals.

LEMON is the spiritual successor to CHARM, I recommend you try it!

Link: lemon-manuals.la or lemon-manuals.org.ua

(Some people have issue connecting. LEMON is investigating. For now, use Firefox or change your DNS server)

Or, hide this message: temporarily or permanently

Only Wireless Control Function Is Inoperative








DOOR LOCK: WIRELESS DOOR LOCK CONTROL SYSTEM: Only Wireless Control Function is Inoperative

Only Wireless Control Function is Inoperative

SYSTEM DESCRIPTION

The door control receiver receives a signal from the transmitter and send signals to the multiplex network body ECU through the certification ECU assembly. The multiplex network body ECU then controls all doors by sending LOCK/UNLOCK signals to each door ECU, hazard flasher relay operation signals to the turn signals flasher relay (hazard warning lights) and wireless door lock buzzer sound signals to the wireless door lock buzzer.

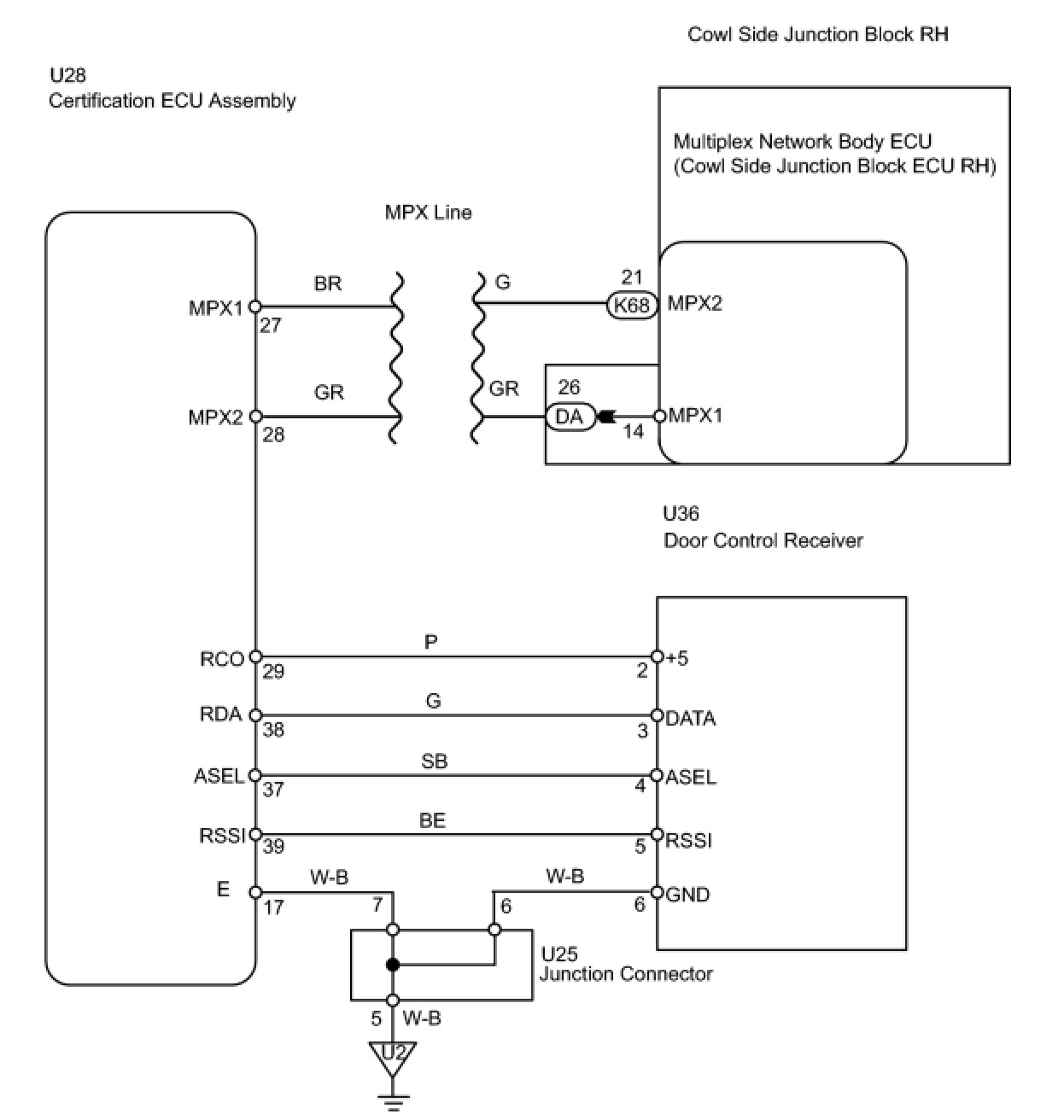
WIRING DIAGRAM





INSPECTION PROCEDURE

PROCEDURE

1. CHECK WIRELESS DOOR LOCK
NG -- GO TO step 2
OK -- END
2. CHECK THAT TRANSMITTER LED ILLUMINATES
(a) Check that the transmitter's LED illuminates 3 times when the switch is pressed 3 times.
OK:
Transmitter's LED illuminates 3 times when the switch is pressed 3 times.
NG -- GO TO step 4
OK -- Continue to next step.

3. CHECK WIRELESS DOOR LOCK CONTROL FUNCTIONS (STANDARD OPERATION)
(a) Check standard LOCK/UNLOCK switch operation.
NOTE:
Standardized test procedure: press the transmitter switch for 1 second, directing the beam to the driver side door outside handle from a distance of 1 m (3.28 ft). The transmitter should be pointed directly at the handle, i.e. at a 90° angle to the vehicle body.

NG -- GO TO step 5
OK -- REPLACE DOOR CONTROL RECEIVER
4. REPLACE TRANSMITTER BATTERY
(a) After replacing the transmitter battery, check that the doors can be locked and unlocked by using the transmitter LOCK/UNLOCK switch.
OK:
Doors can be locked and unlocked with transmitter.
NG -- REPLACE DOOR CONTROL TRANSMITTER
OK -- END
5. CHECK CERTIFICATION ECU ASSEMBLY




(a) Reconnect the U28 ECU connector.
(b) Measure the voltage of the wire harness side connector.
Standard voltage:






NG -- REPLACE CERTIFICATION ECU ASSEMBLY
OK -- Continue to next step.

6. CHECK WIRE HARNESS (CERTIFICATION ECU - DOOR CONTROL RECEIVER AND BODY GROUND)




(a) Disconnect the U36 receiver connector.
(b) Disconnect the U28 ECU connector.
(c) Measure the resistance of the wire harness side connectors.
Standard resistance:






NG -- REPAIR OR REPLACE HARNESS AND CONNECTOR
OK -- Continue to next step.

7. CHECK DOOR CONTROL RECEIVER (OUTPUT)




(a) Reconnect the U36 receiver connector.
(b) Measure the voltage between the terminal of the connector and body ground.
Standard voltage:






NG -- REPLACE DOOR CONTROL RECEIVER
OK -- REPLACE CERTIFICATION ECU ASSEMBLY