Operation CHARM: Car repair manuals for everyone.
Manuals through 2025 now available!

Our trusted friends have launched a new website named LEMON, which has newer manuals. It also contains all the CHARM manuals.

LEMON is the spiritual successor to CHARM, I recommend you try it!

Link: lemon-manuals.la or lemon-manuals.org.ua

(Some people have issue connecting. LEMON is investigating. For now, use Firefox or change your DNS server)

Or, hide this message: temporarily or permanently

Connector Views

Center J/B LH - Upper The Glove Box:



Center J/B RH - Upper The Glove Box:



Cowl Side J/B LH - Cowl Side Left:



Cowl Side J/B LH - Cowl Side Left:



Cowl Side J/B RH - Cowl Side Right:



Cowl Side J/B RH - Cowl Side Right:



Engine Room R/B, J/B No.1 - Near The Battery:



Engine Room R/B, J/B No.2 - Engine Compartment Left:



Fusible Link Block - Luggage Room Center:



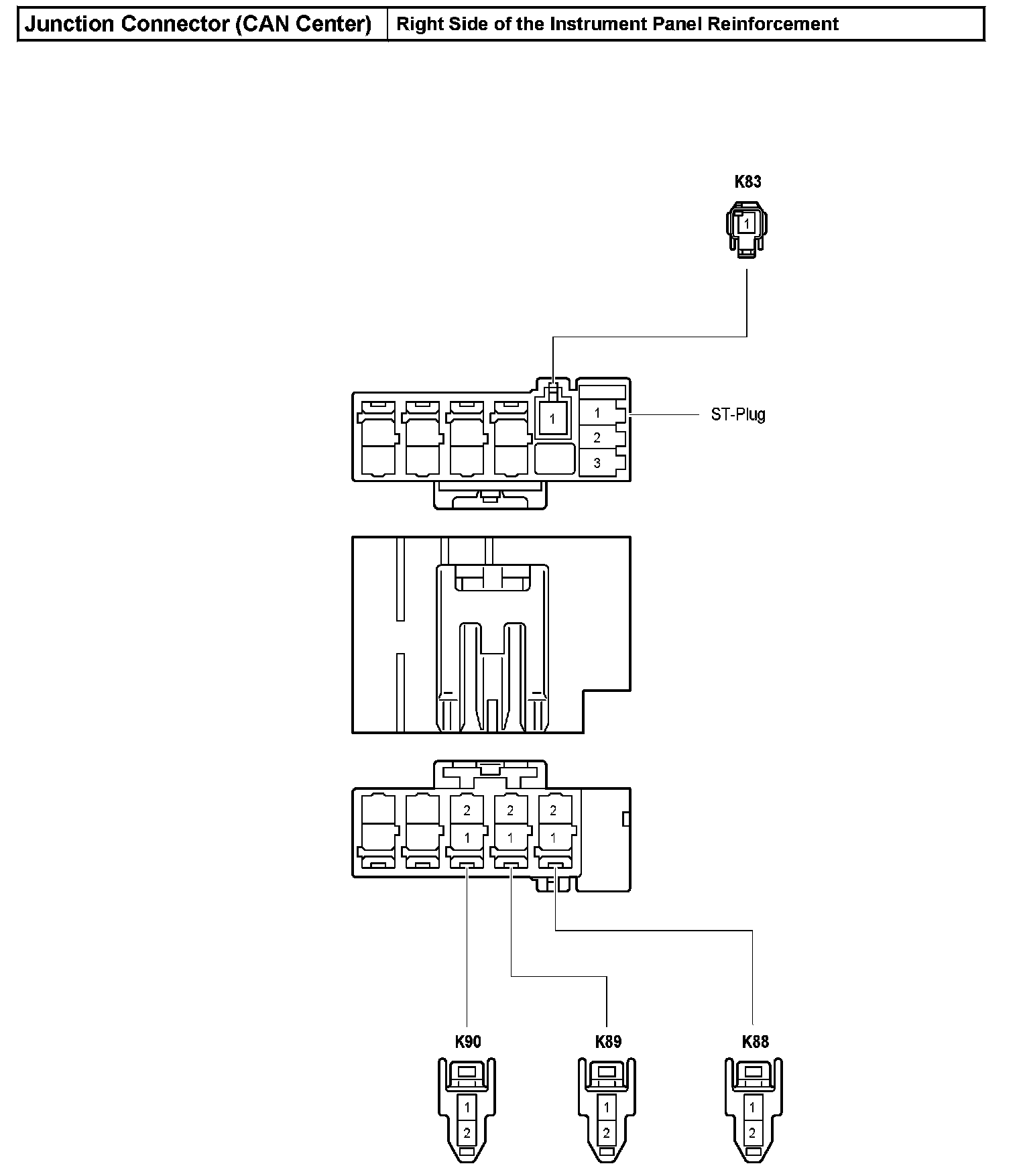
Junction Connector (CAN Center) - Right Side Of The Instrument Panel Reinforcement:



Junction Connector (CAN LH) - Left Kick Panel:



Junction Connector (CAN Luggage LH) - Luggage Room Left:



Junction Connector (CAN Luggage RH) - Luggage Room Right:



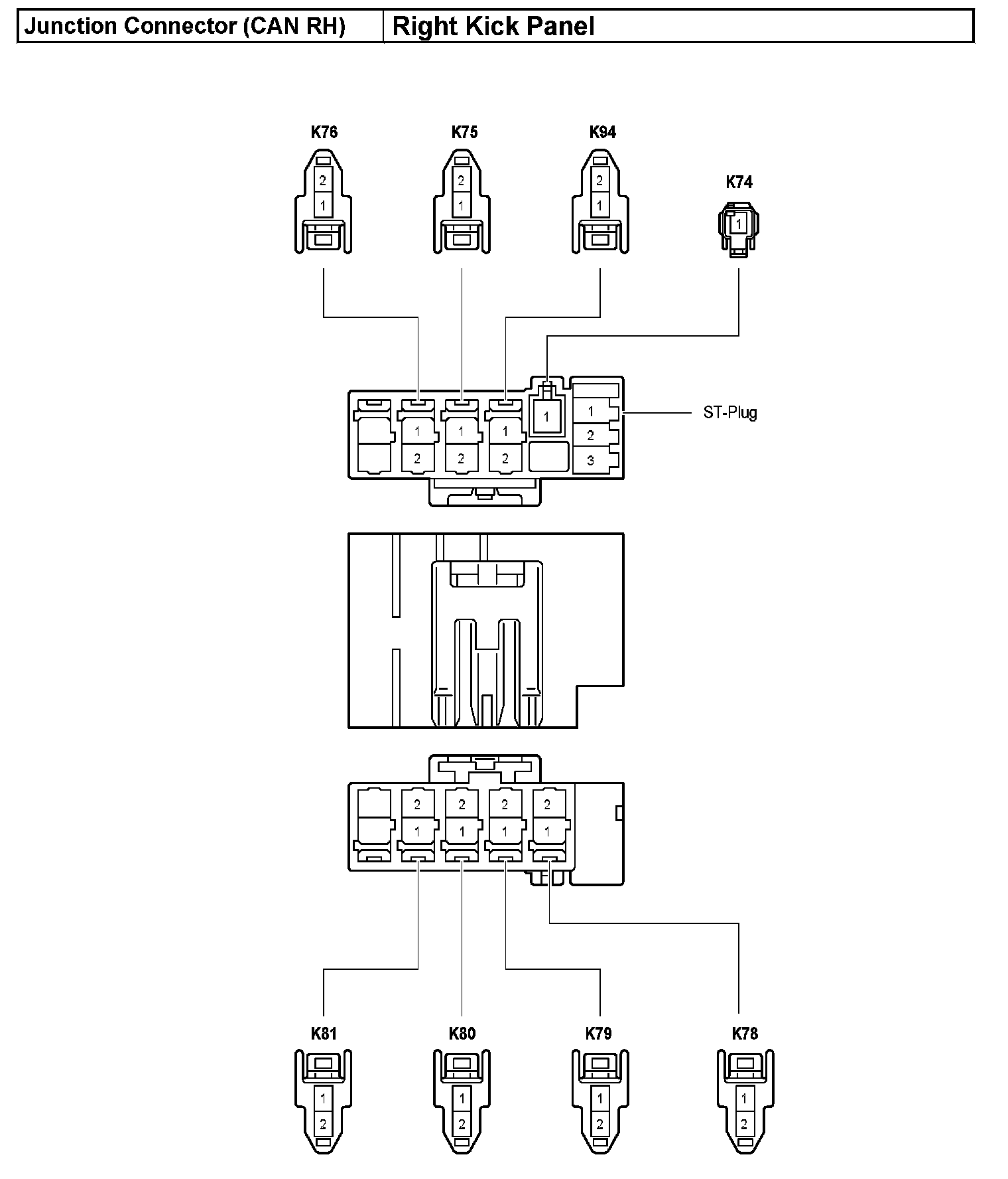
Junction Connector (CAN RH) - Right Kick Panel:



Luggage Room J/B - Luggage Room Left:



Luggage Room J/B - Luggage Room Left:



Luggage Room R/B No.6 - Luggage Room Center: