Operation CHARM: Car repair manuals for everyone.
Manuals through 2025 now available!

Our trusted friends have launched a new website named LEMON, which has newer manuals. It also contains all the CHARM manuals.

LEMON is the spiritual successor to CHARM, I recommend you try it!

Link: lemon-manuals.la or lemon-manuals.org.ua

(Some people have issue connecting. LEMON is investigating. For now, use Firefox or change your DNS server)

Or, hide this message: temporarily or permanently

Emission Control Systems: Testing and Inspection








2UZ-FE EMISSION CONTROL: EMISSION CONTROL SYSTEM: ON-VEHICLE INSPECTION

ON-VEHICLE INSPECTION

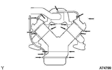
1. VISUALLY INSPECT HOSES, CONNECTIONS AND GASKETS





(a) Check for cracks, leaks or damage.
HINT: Separation of the engine oil dipstick, oil filler cap, PCV hose, etc. may cause an engine failure or engine malfunctions. Disconnection, looseness or cracks in the parts of the air induction system between the throttle body and cylinder head will allow air suction and cause an engine failure or engine malfunctions.

2. CHECK AIR TIGHTNESS IN FUEL TANK AND FILLER PIPE





(a) Disconnect the vent line hose from the fuel tank Removal.
(b) Apply pressure to the fuel tank and make the internal pressure of the air pressure 4 kPa (41 gf/cm2, 0.58 psi).
(c) Check that the internal pressure of the fuel tank is maintained for 1 minute.
(d) Check the connections for each hose and pipe.
(e) Check the installed parts on the fuel tank. If there is no abnormality, replace the fuel tank and filler pipe.
(f) Reconnect the vent line hose to the fuel tank.
3. INSPECT FUEL CUT-OFF VALVE AND FILL CHECK VALVE





(a) Disconnect the vent line hose from the fuel tank Removal.
(b) Apply 4 kPa (41 gf/cm2, 0.58 psi) to the vent port of the fuel tank.
HINT: In the condition that the fuel is full, as the float value of the fill check valve is closed and has no ventilation, it is necessary to check the fuel amount (volume).

(c) Remove the fuel tank cap, and check that the pressure inside the tank drops.
If pressure does not drop, replace the fuel tank assembly.
(d) Reconnect the vent line hose to the fuel tank.
4. CHECK AIR INLET LINE





(a) Disconnect the air inlet line hose from the charcoal canister Removal.
(b) Check that there is ventilation in the air inlet line.
(c) Reconnect the air inlet line hose to the charcoal canister.