Operation CHARM: Car repair manuals for everyone.
Manuals through 2025 now available!

Our trusted friends have launched a new website named LEMON, which has newer manuals. It also contains all the CHARM manuals.

LEMON is the spiritual successor to CHARM, I recommend you try it!

Link: lemon-manuals.la or lemon-manuals.org.ua

(Some people have issue connecting. LEMON is investigating. For now, use Firefox or change your DNS server)

Or, hide this message: temporarily or permanently

Disassembly








AIR CONDITIONING: INTEGRATION CONTROL AND PANEL: DISASSEMBLY

DISASSEMBLY

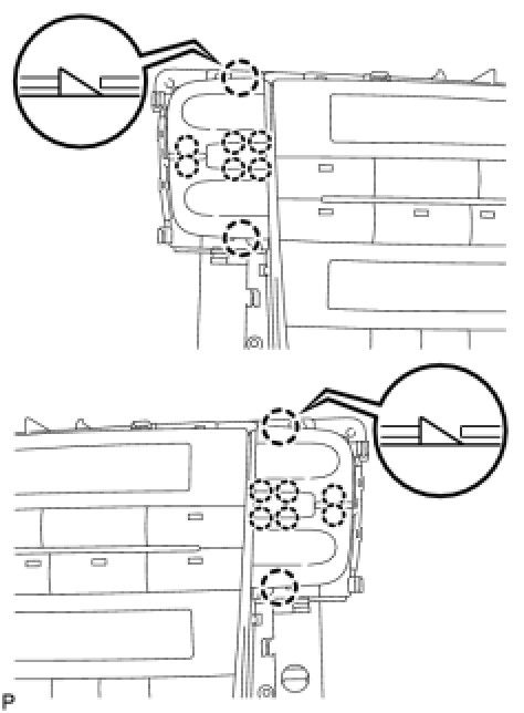
1. REMOVE CENTER INSTRUMENT CLUSTER FINISH PANEL





(a) Remove the 6 screws.





(b) Disengage the 5 claws, and remove the center instrument cluster finish panel.
2. REMOVE NO. 1 CONTROL KNOB SUB-ASSEMBLY





(a) Disengage the 16 claws, and remove the No. 1 control knob sub-assembly.