Operation CHARM: Car repair manuals for everyone.
Manuals through 2025 now available!

Our trusted friends have launched a new website named LEMON, which has newer manuals. It also contains all the CHARM manuals.

LEMON is the spiritual successor to CHARM, I recommend you try it!

Link: lemon-manuals.la or lemon-manuals.org.ua

(Some people have issue connecting. LEMON is investigating. For now, use Firefox or change your DNS server)

Or, hide this message: temporarily or permanently

Fuse Block

Engine Room R/B, J/B No.1 Assembly - Right Engine Compartment:



Engine Room R/B, J/B No.2 Assembly - Left Engine Compartment:



Cowl Side J/B LH - Left Instrument Panel Reinforcement:



Cowl Side J/B LH - Left Instrument Panel Reinforcement:



Cowl Side J/B RH - Right Instrument Panel Reinforcement:



Cowl Side J/B RH - Right Instrument Panel Reinforcement:



Junction Connector (CAN LH) - Cowl Side Panel LH:



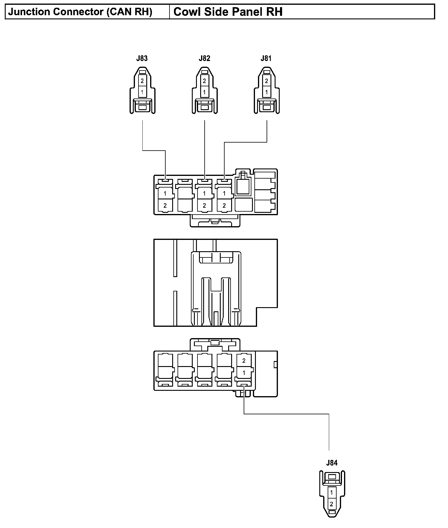
Junction Connector (CAN RH) - Cowl Side Panel LH: