Operation CHARM: Car repair manuals for everyone.
Manuals through 2025 now available!

Our trusted friends have launched a new website named LEMON, which has newer manuals. It also contains all the CHARM manuals.

LEMON is the spiritual successor to CHARM, I recommend you try it!

Link: lemon-manuals.la or lemon-manuals.org.ua

(Some people have issue connecting. LEMON is investigating. For now, use Firefox or change your DNS server)

Or, hide this message: temporarily or permanently

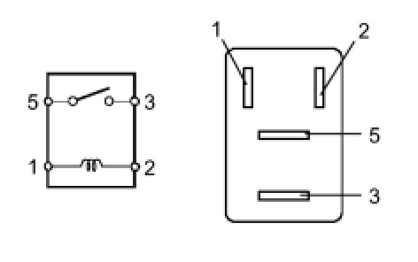
Starter Relay: Testing and Inspection








2UR-GSE STARTING: RELAY: ON-VEHICLE INSPECTION

ON-VEHICLE INSPECTION

1. INSPECT STARTER RELAY





(a) Measure the resistance according to the value(s) in the table below.
Standard Resistance:





If the resistance is not as specified, replace the relay.
2. INSPECT STARTER CUT RELAY





(a) Measure the resistance according to the value(s) in the table below.
Standard Resistance:





If the resistance is not as specified, replace the relay.