Operation CHARM: Car repair manuals for everyone.
Manuals through 2025 now available!

Our trusted friends have launched a new website named LEMON, which has newer manuals. It also contains all the CHARM manuals.

LEMON is the spiritual successor to CHARM, I recommend you try it!

Link: lemon-manuals.la or lemon-manuals.org.ua

(Some people have issue connecting. LEMON is investigating. For now, use Firefox or change your DNS server)

Or, hide this message: temporarily or permanently

Compressor Clutch Relay: Testing and Inspection








HEATING / AIR CONDITIONING: RELAY (for Magnet Clutch Control): ON-VEHICLE INSPECTION

ON-VEHICLE INSPECTION

1. REMOVE ENGINE ROOM SIDE COVER LH Removal
2. DISCONNECT CABLE FROM NEGATIVE BATTERY TERMINAL
CAUTION:
Wait at least 90 seconds after disconnecting the cable from the negative (-) battery terminal to disable the SRS system.
NOTICE:
- W/ Navigation System:
After the engine switch is turned off, the HDD navigation system requires approximately 6 minutes to record various types of memory and settings. As a result, after turning the engine switch off, wait 6 minutes or more before disconnecting the cable from the negative (-) battery terminal.
- When disconnecting the cable, some systems need to be initialized after the cable is reconnected Repair Instruction - Initialization.





3. REMOVE MAGNET CLUTCH RELAY
(a) Remove the magnet clutch relay from the engine room relay block.





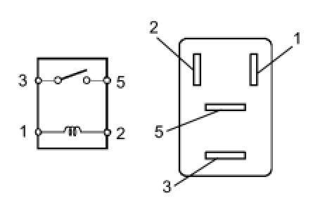
4. INSPECT MAGNET CLUTCH RELAY (MG CLT)
(a) Measure the resistance of the magnet clutch relay.
Standard Resistance:





- If the result is not as specified, replace the relay.





5. INSTALL MAGNET CLUTCH RELAY
(a) Install the magnet clutch relay to the engine room relay block.
6. CONNECT CABLE TO NEGATIVE BATTERY TERMINAL
NOTE:
When disconnecting the cable, some systems need to be initialized after the cable is reconnected Repair Instruction - Initialization.

7. INSTALL ENGINE ROOM SIDE COVER LH Installation