Operation CHARM: Car repair manuals for everyone.
Manuals through 2025 now available!

Our trusted friends have launched a new website named LEMON, which has newer manuals. It also contains all the CHARM manuals.

LEMON is the spiritual successor to CHARM, I recommend you try it!

Link: lemon-manuals.la or lemon-manuals.org.ua

(Some people have issue connecting. LEMON is investigating. For now, use Firefox or change your DNS server)

Or, hide this message: temporarily or permanently

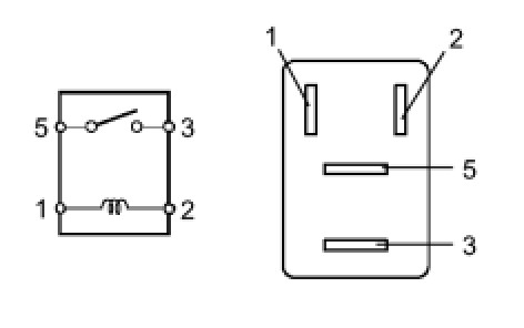
Starter Relay: Testing and Inspection








3UR-FE STARTING: RELAY: ON-VEHICLE INSPECTION

ON-VEHICLE INSPECTION

1. INSPECT STARTER RELAY (ST)





(a) Measure the resistance according to the value(s) in the table below.
Standard Resistance:





If the result is not as specified, replace the relay.
2. INSPECT STARTER CUT RELAY (ST CUT)





(a) Measure the resistance according to the value(s) in the table below.
Standard Resistance:





If the result is not as specified, replace the relay.
3. INSPECT MAIN BODY ECU (ACC RELAY)





(a) Measure the resistance of the ACC relay circuit.
(1) Measure the resistance according to the value(s) in the table below.
Standard Resistance:






If the result is not as specified, replace the main body ECU.