Operation CHARM: Car repair manuals for everyone.
Manuals through 2025 now available!

Our trusted friends have launched a new website named LEMON, which has newer manuals. It also contains all the CHARM manuals.

LEMON is the spiritual successor to CHARM, I recommend you try it!

Link: lemon-manuals.la or lemon-manuals.org.ua

(Some people have issue connecting. LEMON is investigating. For now, use Firefox or change your DNS server)

Or, hide this message: temporarily or permanently

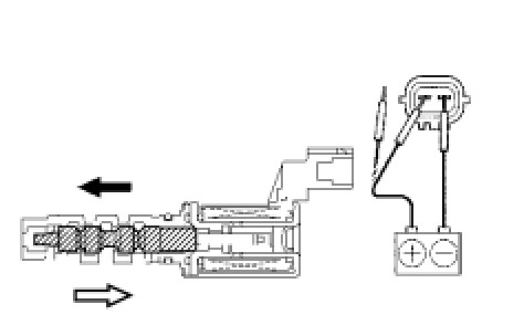
Inspection





2GR-FSE ENGINE CONTROL SYSTEM: CAMSHAFT OIL CONTROL VALVE: INSPECTION

1. INSPECT CAMSHAFT TIMING OIL CONTROL VALVE ASSEMBLY

(a) Measure the resistance between the terminals.





Standard resistance:

6.9 to 7.9 Ohms at 20°C (68°F)

(a) If the result is not as specified, replace the oil control valve.

(b) Connect the battery's positive (+) lead to terminal 1 and negative (-) lead to terminal 2, and check the movement of the valve.





OK:





(b) If the result is not as specified, replace the oil control valve.

NOTICE:
If the valve cannot return properly because of foreign matter, a small pressure leak in the advanced direction may occur and a DTC may be output.