Operation CHARM: Car repair manuals for everyone.
Manuals through 2025 now available!

Our trusted friends have launched a new website named LEMON, which has newer manuals. It also contains all the CHARM manuals.

LEMON is the spiritual successor to CHARM, I recommend you try it!

Link: lemon-manuals.la or lemon-manuals.org.ua

(Some people have issue connecting. LEMON is investigating. For now, use Firefox or change your DNS server)

Or, hide this message: temporarily or permanently

Alternator: Testing and Inspection





2GR-FSE BATTERY / CHARGING: GENERATOR: INSPECTION

1. INSPECT GENERATOR CLUTCH PULLEY

(a) Hold the center of the pulley, and confirm that the outer ring turns counterclockwise and does not turn clockwise.





Text in Illustration





(b) If the result is not as specified, replace the clutch pulley.

2. INSPECT GENERATOR DRIVE END FRAME BEARING

(a) Check that the bearing is not rough or worn.





OK:

The bearing rotates smoothly.

(b) If the bearing does not rotate smoothly, replace the bearing.

3. INSPECT GENERATOR BRUSH HOLDER ASSEMBLY

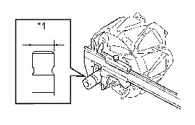
(a) Using a vernier caliper, measure the length of the exposed brushes.





Text in Illustration





Standard exposed length:

9.5 to 11.5 mm (0.375 to 0.452 in.)

Minimum exposed length:

4.5 mm (0.178 in.)

(b) If the exposed length is less than the minimum, replace the brush holder assembly.

4. INSPECT GENERATOR ROTOR ASSEMBLY

(a) Check that the generator rotor bearing is not rough or worn.





(b) If necessary, replace the generator rotor assembly.

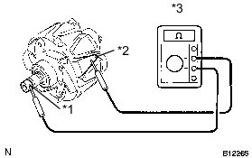
(c) Check the generator rotor for an open circuit.





Text in Illustration





(1) Using an ohmmeter, measure the resistance between the slip rings.

Standard Resistance:





(1) If the result is not as specified, replace the generator rotor assembly.

(d) Check the rotor for a short to ground.





Text in Illustration





(1) Using an ohmmeter, measure the resistance between the slip ring and rotor.

Standard Resistance:





(1) If the result is not as specified, replace the generator rotor assembly.

(e) Using a vernier caliper, measure the slip ring diameter.





Text in Illustration





Standard diameter:

14.2 to 14.4 mm (0.560 to 0.566 in.)

Minimum diameter:

14.0 mm (0.552 in.)

(f) If the diameter is less than the minimum, replace the generator rotor assembly.