Operation CHARM: Car repair manuals for everyone.
Manuals through 2025 now available!

Our trusted friends have launched a new website named LEMON, which has newer manuals. It also contains all the CHARM manuals.

LEMON is the spiritual successor to CHARM, I recommend you try it!

Link: lemon-manuals.la or lemon-manuals.org.ua

(Some people have issue connecting. LEMON is investigating. For now, use Firefox or change your DNS server)

Or, hide this message: temporarily or permanently

Front Wheel Alignment





ALIGNMENT / HANDLING DIAGNOSIS: FRONT WHEEL ALIGNMENT: ADJUSTMENT

NOTICE:
If the wheel alignment has been adjusted, or if suspension or underbody components have been removed/installed or replaced, be sure to perform the following initialization procedure in order for the system to function normally.

* Disconnect the cable from the negative (-) battery terminal for more than 2 seconds.
* Reconnect the cable to the negative (-) battery terminal.
* Perform zero point calibration of the yaw rate and acceleration sensor and test mode inspection.
1. INSPECT TIRES

(a) Inspect the tires Component Tests and General Diagnostics.

2. MEASURE VEHICLE HEIGHT

(a) Bounce the vehicle at the corners up and down to stabilize the suspension and inspect the vehicle height.

NOTICE:
* Before inspecting the wheel alignment, adjust the vehicle height to the specified value.
* Be sure to perform measurement on a level surface.
* If it is required to go under the vehicle for measurement, confirm that the parking brake is applied and the vehicle is secured with chocks.
* Inspect while the vehicle is unloaded.





Vehicle Height (Unloaded Vehicle):





Measurement points:

* A: Ground clearance of front lower suspension arm bushing set bolt center

* B: Ground clearance of rear No. 2 suspension arm adjust bolt center

* C: Ground clearance of front wheel center

* D: Ground clearance of rear wheel center

3. INSPECT CAMBER, CASTER AND STEERING AXIS INCLINATION

(a) Place a front wheel on the center of a wheel alignment tester.





Text in Illustration





(b) Remove the center wheel ornament.

(c) Install a camber-caster-kingpin gauge at the center of the axle hub or drive shaft.

(d) Inspect the camber, caster, and steering axis inclination.

Camber (Unloaded Vehicle):





Caster (Unloaded Vehicle):





Steering Axis (Unloaded Vehicle):





NOTICE:
Inspect while the vehicle is unloaded.

(e) If the camber and steering axis inclination are not within the specified range after the caster has been correctly adjusted, recheck the suspension parts for damaged and/or worn out parts.

(f) Remove the camber-caster-kingpin gauge.

(g) Install the center wheel ornament.

4. ADJUST CASTER

(a) According to the caster measurement, select a lower arm bracket sub-assembly.





Text in Illustration





HINT
Refer to the instructions for Removal and Installation of the front lower suspension arm Removal.

Lower Arm Bracket Sub-assembly





5. INSPECT TOE-IN

(a) Bounce the vehicle up and down at the corners to stabilize the suspension.

(b) Release the parking brake and move the shift lever to N.

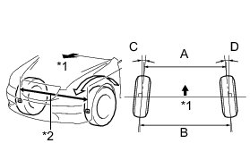
(c) Push the vehicle straight ahead approximately 5 m (16.4 ft.).*1

(d) Put tread center marks on the rearmost points of the front wheels and measure the distance between the marks (dimension B).





Text in Illustration





(e) Slowly push the vehicle straight ahead to cause the front wheels to rotate 180° using a front tire pressure valve as a reference point.

HINT
Do not allow the wheels to rotate more than 180°. If the wheels rotate more than 180°, perform the procedure from *1 again.

(f) Measure the distance between the tread center marks on the front side of the wheels (dimension A).





Text in Illustration





Toe-in (Unloaded Vehicle):





NOTICE:
Inspect while the vehicle is unloaded.

HINT
Measure "B - A" only when "C + D" cannot be measured.

(g) If the toe-in is not within the specified range, adjust it at the rack ends.

6. ADJUST TOE-IN

(a) Measure the thread lengths of the right and left rack ends.





Text in Illustration





Standard:

Difference in thread length is 1.5 mm (0.059 in.) or less

(b) Remove the rack boot set clips.

(c) Loosen the tie rod end lock nuts.

(d) Adjust the rack ends if the difference in thread length between the right and left rack ends is not within the specified range.

(1) Shorten the longer rack end if the measured toe-in deviates toward the outer-side.

(2) Extend the shorter rack end if the measured toe-in deviates toward the inner-side.

(e) Turn the right and left rack ends by an equal amount to adjust toe-in.

HINT
Try to adjust toe-in to the center of the specified range.

(f) Make sure that the lengths of the right and left rack ends are the same.

(g) Tighten the tie rod end lock nuts.

Torque : 56 Nm (570 kgf-cm, 41 ft-lbf)

NOTICE:
Temporarily tighten the lock nut while holding the hexagonal part of the rack end so that the lock nut and the rack end do not turn together. Hold the notches on the tie rod end and tighten the lock nut.

(h) Place the rack boots on the seats and install the rack boot set clips.

HINT
Make sure that the boots are not twisted.

7. INSPECT WHEEL ANGLE

(a) Put tread center marks on the rearmost points of a wheel alignment tester.

(b) Turn the steering wheel to the left and right full lock positions, and measure the turning angle.





Text in Illustration





Wheel Turning Angle (Unloaded Vehicle):





NOTICE:
Inspect while the vehicle is unloaded.

(c) If the right and left inside wheel angles differ from the specified range, check the lengths of the right and left rack ends.

8. INSPECT FRONT SUSPENSION

(a) Inspect the front suspension member.





(1) Measure the dimension between the center of the 2 installation bolts of the front lower suspension arm.

Standard:

692.5 to 699.5 mm (2.27 to 2.30 ft.)

(1) If the result is not within the specification, replace the front suspension member.

HINT
Refer to the instructions for Removal and Installation of the front suspension member Removal.

(b) Inspect the front lower suspension arm assembly.





(1) Remove the front lower suspension arm assembly.

HINT
Refer to the instructions for Removal of the front lower suspension arm Removal.

(2) Measure the dimension between the center of the front lower suspension arm assembly bush and the center of position A.

Standard:

362 to 364.6 mm (1.19 to 1.20 ft.)

(2) If the dimension of the front lower suspension arm assembly changes 2 mm (0.0787 in.), the camber will change approximately 15' (0.25°).

(c) Inspect the front upper suspension arm assembly.





(1) Remove the front upper suspension arm assembly.

HINT
Refer to the instructions for Removal of the front upper suspension arm Removal.

(2) Measure the dimension between the center of the front upper suspension arm assembly bush and the center of the ball joint stud.

Standard:

A
241 to 242.6 mm (9.49 to 9.55 in.)

B
215.1 to 216.7 mm (8.47 to 8.53 in.)

(2) If the dimension of the front upper suspension arm assembly changes 2 mm (0.0787 in.), the camber will change approximately 15' (0.25°).

9. PLACE FRONT WHEELS FACING STRAIGHT AHEAD

10. DISCONNECT CABLE FROM NEGATIVE BATTERY TERMINAL

NOTICE:
Disconnect the cable from the negative (-) battery terminal for more than 2 seconds.

NOTICE:

W/ Navigation System for HDD

After the engine switch is turned off, the display and navigation module display (HDD navigation system) records various types of memory and settings. As a result, after turning the engine switch off, make sure to wait at least 60 seconds before disconnecting the cable from the negative (-) battery terminal.

11. CONNECT CABLE TO NEGATIVE BATTERY TERMINAL

12. PERFORM YAW RATE AND ACCELERATION SENSOR ZERO POINT CALIBRATION

HINT
Perform the yaw rate and acceleration sensor zero point calibration Programming and Relearning.

13. CHECK STEERING ANGLE SENSOR ZERO POINT CALIBRATION

HINT
Check steering angle sensor zero point calibration C1290.