Operation CHARM: Car repair manuals for everyone.
Manuals through 2025 now available!

Our trusted friends have launched a new website named LEMON, which has newer manuals. It also contains all the CHARM manuals.

LEMON is the spiritual successor to CHARM, I recommend you try it!

Link: lemon-manuals.la or lemon-manuals.org.ua

(Some people have issue connecting. LEMON is investigating. For now, use Firefox or change your DNS server)

Or, hide this message: temporarily or permanently

Installation





OTHER SYSTEM: POWER OUTLET SOCKET: INSTALLATION

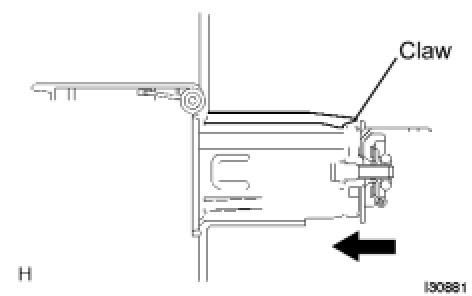
1. INSTALL POWER OUTLET SOCKET ASSEMBLY





(a) Align the claw of the socket with the cutout of the cover and fully push it in to install.

2. INSTALL POWER OUTLET SOCKET COVER

(a) Install the cover to the console box.

3. INSTALL UPPER CONSOLE PANEL SUB-ASSEMBLY Installation

4. INSTALL REAR CONSOLE UPPER PANEL GARNISH Installation

5. CONNECT CABLE TO NEGATIVE BATTERY TERMINAL

6. PERFORM INITIALIZATION

(a) Perform initialization Testing and Inspection.

NOTICE:
Certain systems need to be initialized after disconnecting and reconnecting the cable from the negative (-) battery terminal.