Operation CHARM: Car repair manuals for everyone.
Manuals through 2025 now available!

Our trusted friends have launched a new website named LEMON, which has newer manuals. It also contains all the CHARM manuals.

LEMON is the spiritual successor to CHARM, I recommend you try it!

Link: lemon-manuals.la or lemon-manuals.org.ua

(Some people have issue connecting. LEMON is investigating. For now, use Firefox or change your DNS server)

Or, hide this message: temporarily or permanently

Installation





WINDSHIELD / WINDOWGLASS: BACK WINDOW GLASS: INSTALLATION

HINT
A bolt without a torque specification is shown in the standard bolt chart.

1. INSTALL BACK WINDOW GLASS ADHESIVE DAM

(a) Apply primer G to the installation part of the glass adhesive dam.

NOTICE:
* Allow the primer G to dry for 3 minutes or more.
* Throw away any leftover Primer G.
* Do not apply too much Primer G.
(b) Remove the peeling paper from the adhesive part of the dam. Install the dam (adhesive side) to the glass (Primer G area) as shown in the illustration.





Standard measurement:





2. INSTALL BACK WINDOW OUTSIDE MOULDING

(a) Using a brush or sponge, apply Primer G to the glass where the moulding will be installed.

NOTICE:
* Allow the Primer G to dry for 3 minutes or more.
* Throw away any leftover Primer G.
* Do not apply too much Primer G.
(b) Install the back window outside moulding.

3. INSTALL BACK WINDOW PACKING





(a) Using a brush, apply Primer M to the exposed part of the vehicle body.

NOTICE:
* Allow the Primer M to dry for 3 minutes or more.
* Throw away any leftover Primer M.
(b) Install the back window packing.

4. INSTALL BACK WINDOW GLASS





(a) Clean and shape the contact surface of the vehicle body.

(1) On the contact surface of the vehicle body, use a knife to cut away excess adhesive as shown in the illustration.

HINT
Leave as much adhesive on the vehicle body as possible.

NOTICE:
Be careful not to damage the vehicle body.

(2) Clean the contact surface of the vehicle body with cleaner.

HINT
Even if all the adhesive has been removed, clean the vehicle body.

(b) Position the glass.





(1) Using a suction cup, place the glass in the correct position.

(2) Check that the entire contact surface of the glass rim is perfectly even.

(3) Place matchmarks over the glass and vehicle body on the locations indicated in the illustration.

HINT
* Placing matchmarks is only necessary if the glass being installed is new. If it is reused glass, matchmarks should already be present.
* When reusing the glass, check and correct the match-mark positions.
(4) Using a suction cup, remove the glass.

(c) Using a brush, apply Primer M to the exposed part of the vehicle body.





NOTICE:
* Allow the Primer M to dry for 3 minutes or more.
* Do not apply Primer M to the adhesive.
* Throw away any leftover Primer M.
* Do not apply too much Primer M.
(d) Using a brush or sponge, apply Primer G to the contact surface of the glass.





NOTICE:
* Allow the Primer M to dry for 3 minutes or more.
* Throw away any leftover Primer G.
* Do not apply too much Primer G.
HINT
if Primer G is applied to an area that is not specified, apply white gasoline to a clean cloth and wipe off the excess primer.

(e) Apply adhesive to the glass.





Adhesive:

Toyota Genuine Windshield Glass Adhesive or Equivalent

(1) Cut off the tip of the cartridge nozzle as shown in the illustration.

HINT
After cutting off the tip, use all adhesive within the time written in the table below.

Usage time frame:





(f) Load the sealer gun with the cartridge.

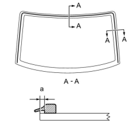
(g) Apply adhesive to the glass as shown in the illustration.

Standard measurement:





(h) Install the glass to the vehicle body.





(1) Using a suction cup, position the glass so that the matchmarks are aligned. Press it in gently along the rim.

(2) Lightly press the front surface of the glass to ensure that it is securely fit to the vehicle body.

NOTICE:
Check that the vehicle body and glass have a small gap between them.

(3) Hold the glass in place securely with protective tape or equivalent until the adhesive hardens.

(4) Using a scraper, remove any excess or protruding adhesive.









NOTICE:
Do not drive the vehicle for the amount of time written in the table below.

HINT
Apply adhesive on the glass rim.

Minimum time:





5. INSTALL REAR ROOF HEADLINING ASSEMBLY Reassembly

6. INSTALL ROOF SIDE GARNISH INNER LH Reassembly

7. INSTALL ROOF SIDE GARNISH INNER RH Reassembly

8. CHECK FOR LEAKS AND REPAIR

(a) Conduct a leak test after the adhesive has completely hardened.

(b) Seal any leaks with auto glass sealer.