Operation CHARM: Car repair manuals for everyone.
Manuals through 2025 now available!

Our trusted friends have launched a new website named LEMON, which has newer manuals. It also contains all the CHARM manuals.

LEMON is the spiritual successor to CHARM, I recommend you try it!

Link: lemon-manuals.la or lemon-manuals.org.ua

(Some people have issue connecting. LEMON is investigating. For now, use Firefox or change your DNS server)

Or, hide this message: temporarily or permanently

Part 1





INTRODUCTION: REPAIR INSTRUCTION: PRECAUTION

1. BASIC REPAIR HINT

(a) HINTS ON OPERATIONS









CAUTION:
*: Be sure to perform these checks properly, Not performing these checks properly after finishing work can lead to serious accident or injury.

(b) JACKING UP AND SUPPORTING VEHICLE

(1) Care must be taken when jacking up and supporting the vehicle. Be sure to lift and support the vehicle at the proper locations.

(c) PRECOATED PARTS





(1) Precoated parts are bolts and nuts that are coated with a seal lock adhesive at the factory.

(2) If a precoated part is retightened, loosened or moved in any way, it must be recoated with the specified adhesive.

(3) When reusing a precoated part, clean off the old adhesive and dry the part with compressed air. Then apply new seal lock adhesive appropriate to that part.

(4) Some seal lock agents harden slowly. You may have to wait for the seal lock adhesive to harden.

(d) GASKETS

(1) When necessary, use a sealer on gaskets to prevent leaks.

(e) BOLTS, NUTS AND SCREWS

(1) Carefully follow all the specifications for tightening torques. Always use a torque wrench.

(f) FUSES





(1) When inspecting a fuse, check that the wire of the fuse is not broken.

(2) If the wire of a fuse is broken, confirm that there are no shorts in its circuit.

(3) When a fuse is replaced, a fuse with the same amperage rating must be used.





(g) CLIPS

(1) The removal and installation methods of typical clips used for vehicle body parts are shown in the table below.

HINT
If clips are damaged during work, always replace the damaged clip with a new one.









(h) CLAWS

(1) The removal and installation methods of typical claws used for vehicle body parts are shown in the table below.

HINT
If claws are damaged during a procedure, always replace the damaged claws with a new caps or covers.





(i) REMOVAL AND INSTALLATION OF VACUUM HOSES





To disconnect a vacuum hose, pull and twist from the end of the hose. Do not pull from the middle of the hose as this may damage the hose.





When disconnecting vacuum hoses, use tags to identify where they should be reconnected.

(3) After completing any hose related repairs, double check that the vacuum hoses are properly connected. The label under the hood shows the proper layout.

(4) When using a vacuum gauge, never force the hose onto a connector that is too large. If a hose has been stretched, air may leak. Use a step-down adapter if necessary.

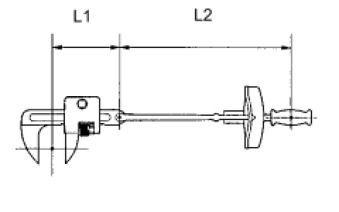
(j) TORQUE WHEN USING TORQUE WRENCH WITH EXTENSION TOOL





(1) Use the formula below to calculate special torque values for situations where SST or an extension tool is combined with the torque wrench.





Formula:

T' = L2/(L1 + L2) * T





NOTICE:
If an extension tool or SST is combined with a torque wrench and the wrench is used to tighten to a torque specification in this manual, the actual torque will be excessive and parts will be damaged.

2. FOR VEHICLES EQUIPPED WITH SRS AIRBAG AND SEAT BELT PRETENSIONER

The LEXUS ES350 is equipped with a Supplemental Restraint System (SRS).

CAUTION:
* Before performing pre-disposal deployment of any SRS component, review and closely follow all applicable environmental and hazardous material regulations. Pre-disposal deployment may be considered hazardous material treatment.
* Failure to carry out the service operations in the correct sequence could cause the SRS to unexpectedly deploy during servicing and lead to serious injury. Furthermore, if a mistake is made when servicing SRS, it is possible that the SRS may fail to operate properly. Before servicing (including removal or installation of parts, inspection or replacement), be sure to read the following section carefully.
(a) GENERAL NOTICE

(1) As malfunctions of the SRS are difficult to confirm, the Diagnostic Trouble Codes (DTCs) become the most important source of information when troubleshooting. When troubleshooting the SRS, always check the DTCs before disconnecting the battery.

(2) Work must be started at least 90 seconds after the engine switch is turned off and after the cable is disconnected from the negative (-) battery terminal.

The SRS is equipped with a back-up power source. If work is started within 90 seconds after turning the engine switch off and disconnecting the cable from the negative (-) battery terminal, the SRS may deploy.

When the cable is disconnected from the negative (-) battery terminal, clock and audio system memory is erased. Before starting work, make a note of the settings of each memory system. When work is finished, reset the clock and audio system as before.

CAUTION:
Never use a back-up power source (battery or other) to avoid erasing the system memory. The back-up power source may inadvertently power the SRS and cause it to deploy.

(3) In minor collisions where the SRS does not deploy, the steering pad, driver side knee airbag assembly, front passenger side knee airbag assembly, front passenger airbag assembly, curtain shield airbag assembly, front seat side airbag assembly, rear seat side airbag assembly and front seat outer belt assembly should be inspected before further use of the vehicle.

Steering Pad for steering pad)

Driver Side Knee Airbag Assembly for driver side knee airbag assembly)

Front Passenger Side Knee Airbag Assembly for front passenger side knee airbag assembly)

Front Passenger Airbag Assembly for front passenger airbag assembly)

Curtain Shield Airbag Assembly for curtain shield airbag assembly)

Front Seat Side Airbag Assembly for front seat side airbag assembly)

Rear Seat Side Airbag Assembly for rear seat side airbag assembly)

Front Seat Outer Belt Assembly for front seat outer belt assembly)

(4) Never use SRS parts from another vehicle. When replacing parts, use new parts.

(5) Before repairs, remove the airbag sensor assemblies if impacts are likely to be applied to the sensor during repairs.

(6) Never disassemble and attempt to repair all airbag sensor assemblies and all airbag assemblies.

1 Steering pad

2 Driver side knee airbag assembly

3 Front passenger side knee airbag assembly

4 Front passenger airbag assembly

5 Curtain shield airbag assembly

6 Front seat side airbag assembly

7 Rear seat side airbag assembly

8 Front seat outer belt assembly

(7) Replace the airbag sensor assemblies and the airbag assemblies if: 1) damage has occurred from being dropped, or 2) cracks, dents or other defects in the case, bracket or connector are present.

(8) Do not directly expose the airbag sensor assembly or airbag assembly to hot air or flames.

(9) Use a voltmeter/ohmmeter with high impedance (minimum = 10 kOhms) for troubleshooting electrical circuits.

(10) Information labels are attached to the SRS components. Follow the instructions on the labels.

(11) After work on the SRS is completed, check the SRS warning light.

(b) SPIRAL CABLE





(1) The steering wheel must be fitted correctly to the steering column with the spiral cable at the neutral position, as cable disconnection and other problems may occur. Refer to the information about correct installation of the steering wheel Installation.

(c) STEERING PAD

(1) Always place a removed or new steering pad surface upward as shown in the illustration. Placing the horn button with the pad surface facing down could cause a serious accident if the airbag inflates. Also, do not place anything on top of the horn button.





(2) Never measure the resistance of the airbag squib. This may cause the airbag to inflate, which could cause serious injury.





(3) Grease or detergents of any kind should not be applied to the horn button.

(4) Store the horn button assembly in an area where the ambient temperature is below 93°C (200°F), the humidity is not high and there is no electrical noise.

(5) When using electric welding anywhere on the vehicle, disconnect the airbag ECU connectors (4 pins). These connectors contain shorting springs. This feature reduces the possibility of the airbag deploying due to current entering the squib wiring.

(6) When disposing of the vehicle or the horn button assembly by itself, the airbag should be deployed using SST before disposal Steering Pad. Activate the airbag in a safe place away from electrical noise.

(d) DRIVER SIDE KNEE AIRBAG ASSEMBLY

(1) Always place a removed or new knee airbag assembly with the airbag inflation direction facing upward. Placing the airbag assembly with the airbag inflation direction facing downward could cause a serious accident if the airbag inflates.





(2) Never measure the resistance of the airbag squib. This may cause the airbag to inflate, which could cause serious injury.





(3) Grease or detergents of any kind should not be applied to the knee airbag assembly.

(4) Store the knee airbag assembly where the ambient temperature is below 93°C (200°F), the humidity is not high and there is no electrical noise.

(5) When using electric welding anywhere on the vehicle, disconnect the airbag ECU connectors (2 pins). These connectors contain shorting springs. This feature reduces the possibility of the airbag deploying due to current entering the squib wiring.

(6) When disposing of a vehicle or knee airbag assembly unit by itself, the airbag should be inflated using SST before disposal Driver Side Knee Airbag Assembly. Activate the airbag in a safe place away from electrical noise.

(e) FRONT PASSENGER SIDE KNEE AIRBAG ASSEMBLY

(1) Always place a removed or new knee airbag assembly with the airbag inflation direction facing upward. Placing the airbag assembly with the airbag inflation direction facing downward could cause a serious accident if the airbag inflates.





(2) Never measure the resistance of the airbag squib. This may cause the airbag to inflate, which could cause serious injury.





(3) Grease or detergents of any kind should not be applied to the knee airbag assembly.

(4) Store the knee airbag assembly where the ambient temperature is below 93°C (200°F), the humidity is not high and there is no electrical noise.

(5) When using electric welding anywhere on the vehicle, disconnect the airbag ECU connectors (2 pins). These connectors contain shorting springs. This feature reduces the possibility of the airbag deploying due to current entering the squib wiring.

(6) When disposing of a vehicle or knee airbag assembly unit by itself, the airbag should be inflated using SST before disposal Front Passenger Side Knee Airbag Assembly. Activate the airbag in a safe place away from electrical noise.

(f) FRONT PASSENGER AIRBAG ASSEMBLY

(1) Always place a removed or new front passenger airbag assembly with the pad surface facing upward as shown in the illustration. Placing the airbag assembly with the airbag inflation direction facing down could cause a serious accident if the airbag inflates.





(2) Never measure the resistance of the airbag squib. This may cause the airbag to inflate, which could cause serious injury.





(3) Grease or detergents of any kind should not be applied to the front passenger airbag assembly.

(4) Store the airbag assembly in an area where the ambient temperature is below 93°C (200°F), the humidity is not high and there is no electrical noise.

(5) When using electric welding anywhere on the vehicle, disconnect the airbag ECU connectors (4 pins). These connectors contain shorting springs. This feature reduces the possibility of the airbag deploying due to current entering the squib wiring.

(6) When disposing of the vehicle or the airbag assembly unit by itself, the airbag should be deployed using SST before disposal Front Passenger Airbag Assembly. Activate the airbag in a safe place away from electrical noise.

(g) CURTAIN SHIELD AIRBAG ASSEMBLY

(1) Always place a removed or new curtain shield airbag assembly in a clear plastic bag, and keep it in a safe place.





CAUTION:
The plastic bag is not reusable.