Operation CHARM: Car repair manuals for everyone.
Manuals through 2025 now available!

Our trusted friends have launched a new website named LEMON, which has newer manuals. It also contains all the CHARM manuals.

LEMON is the spiritual successor to CHARM, I recommend you try it!

Link: lemon-manuals.la or lemon-manuals.org.ua

(Some people have issue connecting. LEMON is investigating. For now, use Firefox or change your DNS server)

Or, hide this message: temporarily or permanently

Keyless Entry Transmitter: Testing and Inspection





DOOR LOCK: DOOR CONTROL TRANSMITTER: INSPECTION

1. INSPECT TRANSMITTER BATTERY

(a) Inspect operation of the transmitter.

(1) Remove the battery (lithium battery) from the transmitter Removal.

(b) Install a new or normal battery (lithium battery).





NOTICE:
If a new or normal battery is not available, first connect 2 new 1.5 V batteries in series. Then connect leads to the batteries and apply 3 V to the transmitter as shown in the illustration.

(c) From outside the vehicle, approximately 1 m (3.28 ft.) away from the driver side outside door handle, test the transmitter by pointing its key plate at the vehicle and pressing a transmitter switch.

OK:

The door lock can be operated via the transmitter.

The LED comes on more than once.

HINT
* The operational area differs depending on the user, the way the transmitter is held and the location.
* The transmitter's weak electric waves may be affected if the area has strong electric waves or noise. The transmitter's operational area may be shortened or the transmitter may not function.

(d) Inspect the battery capacity.





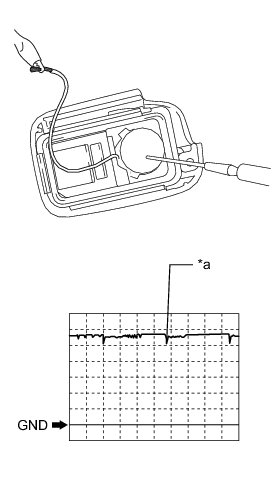
(1) Remove the battery from the electrical key transmitter that does not operate. Attach a lead wire (0.6 mm (0.0236 in.) or less in diameter including wire sheath) with tape or equivalent to the negative terminal Removal.

NOTICE:
Do not wrap the lead wire around a terminal, wedge it between terminals or solder it. A terminal may be deformed or damaged, and the battery will not be able to be installed correctly.

(2) Carefully pull the lead wire out from the position shown in the illustration and install the previously removed transmitter battery.

(3) Using an oscilloscope, check the transmitter battery voltage waveform.

HINT
When measuring the battery voltage, while operating the lock switch of a door handle, bring the electrical key transmitter within the entry operating range to perform the measurement. For the entry operating range, refer to Operation Check Operation Check.





Standard Voltage:





If the result is not as specified, replace the transmitter battery.

Text in Illustration