Operation CHARM: Car repair manuals for everyone.
Manuals through 2025 now available!

Our trusted friends have launched a new website named LEMON, which has newer manuals. It also contains all the CHARM manuals.

LEMON is the spiritual successor to CHARM, I recommend you try it!

Link: lemon-manuals.la or lemon-manuals.org.ua

(Some people have issue connecting. LEMON is investigating. For now, use Firefox or change your DNS server)

Or, hide this message: temporarily or permanently

Distance Sensor: Adjustments





CRUISE CONTROL: MILLIMETER WAVE RADAR SENSOR: ADJUSTMENT

1. ADJUST MILLIMETER WAVE RADAR SENSOR ASSEMBLY





Text in Illustration





CAUTION:
Exposure to radio frequency emissions is hazardous to your health. It is hazardous to be within 20 cm (7.87 in.) of the radio frequency aperture of the device.

NOTICE:
* This device complies with FCC radio frequency emission regulations.
* Perform adjustment on a level surface.
* Make sure that no large pieces of metal are within a 10 m (32.8 ft.) x 14 m (45.9 ft.) area in front of the vehicle. If possible, the surrounding area should also be free of large metal objects.

(a) Before adjusting the radar beam axis, prepare the vehicle as follows.

(1) Check the tire pressure and adjust it if necessary.

(2) Remove all excess weight from the vehicle (luggage, heavy objects, etc.).

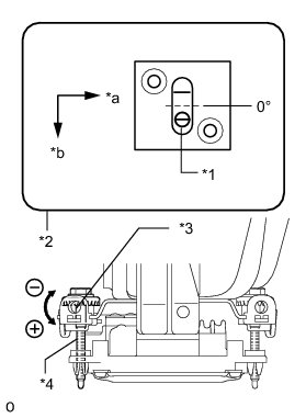
(b) Check and adjust the vertical direction of the radar sensor.

(1) Remove dust, oil and foreign matter from the level rack of the radar sensor.





Text in Illustration





(2) Set the special level on the level rack of the radar sensor.

(3) Check that the level's air bubble is within the red frame.





Text in Illustration





OK:

Level's air bubble is within red frame.

If the bubble is not within the red frame, use a screwdriver to adjust bolt A until the level's air bubble is within the red frame.

HINT
* The adjustable range within the red frame of the level is +/-0.2°.
* The target angle is +0.2° (upward angle of 0.2°).

Result:





(c) Adjust the reflector height.





Text in Illustration





(1) Adjust the reflector so that the center of SST reflector is the same height as the millimeter wave radar sensor.

SST : 09870-60000

09870-60010

SST : 09870-60040

HINT
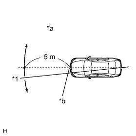
Prepare a string that is more than 10 m (32.8 ft.) long with a sharp-pointed weight (plumb bob), and a 5 m (16.4 ft.) tape measure.

(d) Place the reflector.





Text in Illustration





(1) Hang the string with weight from the center of the vehicle's rear emblem. Mark the center point of the rear of the vehicle on the ground. Repeat for the front of the vehicle.

(2) Secure one end of the string to the center point of the rear of the vehicle. Run the string over the center point of the rear of the vehicle to a position 5 m (16.4 ft.) beyond the center point of the rear of the vehicle as shown in the illustration. Mark the 5 m (16.4 ft.) position.

(3) Place the reflector (SST) at the marked position.

NOTICE:
Perform the operation as precisely as possible.





Text in Illustration





(e) Check the radar beam axis.

HINT
If a screen indicating an error is displayed while performing this procedure, perform the procedure again from *1.

(1) Connect the Techstream to the DLC3.

(2) Turn the engine switch on (IG).

(3) Turn the Techstream on and turn the cruise control main switch on.

(4) Select "Connect to Vehicle" from the display screen.*1

(5) Select "w/ KDSS" from the display screen.

(6) Select "Radar Cruise" from the display screen.

(7) Select "Utility" from the display screen.

(8) Select "Beam Axis Adjustment" from the display screen.

(9) Follow the Techstream display and select "Next".

NOTICE:
* Turn the cruise control main switch on before pressing "Next".
* Make sure there is at least 20 cm (7.87 in.) between the radar sensor and any nearby individuals.
CAUTION:
Do not come within 20 cm (7.87 in.) of the radar sensor.

(10) Check the following items on the radar cruise divergence data screen.

CAUTION:
While using the beam axis adjustment mode of the Techstream, the actual direction and angle of the radar sensor may be different from the data on the Techstream. In such a case, the deviation is displayed on the multi-information display of the combination meter.

Confirm that the distance is approximately 5 m (16.4 ft.).

HINT
* A value between 0.0 and 6.3 m (20.7 ft.) is indicated.
* If the distance is 0 m (0 ft.), the sensor cannot detect the target. Reconfirm that there is no metal in the specified area in front of the vehicle (refer to the notice at the beginning of this adjustment procedure).

Confirm that the left/right side value is between 0.0 and 6.3° (20.7 ft.).

HINT
If the distance is 0 m (0 ft.), the sensor cannot detect the target. Reconfirm that there is no metal in the specified area in front of the vehicle (refer to the notice at the beginning of this adjustment procedure).

(f) Check and adjust the horizontal direction of the radar sensor.

(1) Check that the divergence of the radar beam axis is 0°.

Standard:

0° (Both right and left)

If the axis is not as specified, use a screwdriver to adjust bolt B until the divergence of the radar beam axis is 0°.

(2) Using a screwdriver, turn and adjust bolt B for horizontal adjustment of the millimeter wave radar sensor based on the measured divergence of the beam axis.





Text in Illustration





Result:





HINT
* If "LEFT SIDE: 1.0°" is displayed, the divergence is 1.0° in the left direction. Turn bolt B approximately 14.8 turns to the negative (-) side.
* If the value does not change to 0°, it is possible that the sensor is aiming at something different. Reconfirm that there are no reflective materials in the surrounding area.

(3) Select "Next". The driving learning value is automatically reset.

HINT
A buzzer will sound for 10 seconds or more.

(4) Disconnect the Techstream from the DLC3.

(g) Recheck and readjust the vertical direction of the radar sensor.

(1) Set the special level on the level rack of the radar sensor.





Text in Illustration





(2) Check that the level's air bubble is within the red frame.





Text in Illustration





OK:

Level's air bubble is within the red frame.

If the bubble is not within the red frame, use a screwdriver to adjust bolt A until the level's air bubble is within the red frame.

HINT
* The adjustable range within the red frame is +/-0.2°.
* The target angle is +0.2° (upward angle of 0.2°).

Result: