Operation CHARM: Car repair manuals for everyone.
Manuals through 2025 now available!

Our trusted friends have launched a new website named LEMON, which has newer manuals. It also contains all the CHARM manuals.

LEMON is the spiritual successor to CHARM, I recommend you try it!

Link: lemon-manuals.la or lemon-manuals.org.ua

(Some people have issue connecting. LEMON is investigating. For now, use Firefox or change your DNS server)

Or, hide this message: temporarily or permanently

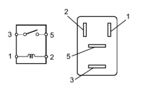
Compressor Clutch Relay: Testing and Inspection





HEATING / AIR CONDITIONING: RELAY (for Magnet Clutch Control): ON-VEHICLE INSPECTION

1. REMOVE MAGNET CLUTCH RELAY





(a) Remove the magnet clutch relay from the engine room relay block.

Text in Illustration





2. INSPECT MAGNET CLUTCH RELAY





(a) Measure the resistance according to the value(s) in the table below.

Standard Resistance:





If the result is not as specified, replace the magnet clutch relay.

3. INSTALL MAGNET CLUTCH RELAY

(a) Install the magnet clutch relay to the engine room relay block.