Operation CHARM: Car repair manuals for everyone.
Manuals through 2025 now available!

Our trusted friends have launched a new website named LEMON, which has newer manuals. It also contains all the CHARM manuals.

LEMON is the spiritual successor to CHARM, I recommend you try it!

Link: lemon-manuals.la or lemon-manuals.org.ua

(Some people have issue connecting. LEMON is investigating. For now, use Firefox or change your DNS server)

Or, hide this message: temporarily or permanently

Emission Control Systems: Testing and Inspection





1UR-FE EMISSION CONTROL: EMISSION CONTROL SYSTEM: ON-VEHICLE INSPECTION

1. CHECK PURGE VSV

(a) Connect the Techstream to the DLC3.

(b) Remove the V-bank cover Removal.





Disconnect the hose (connected to the canister) from the purge VSV.

(c) Start the engine and turn the Techstream on.

(d) Enter the following menus: Powertrain / Engine and ECT / Active Test / Activate the VSV for EVAP Control.

OK:





(e) Connect the hose (connected to the canister) to the purge VSV.

(f) Install the V-bank cover Installation.

2. INSPECT FUEL CUT-OFF RPM

(a) Start and warm up the engine.

(b) Open the throttle valve and maintain the engine speed at 3000 rpm.

(c) Use a sound scope to check for injector operating sounds.

(d) Check that when the accelerator pedal is released, injector operating sounds stop momentarily and then resumes.

If the result is as not specified, check the injector, wiring and ECM.

3. VISUALLY INSPECT HOSES, CONNECTIONS AND GASKETS

(a) Check that there are no cracks, leaks or damage.

NOTICE:
* Detachment or other problems with the engine oil dipstick, filler cap, ventilation hose and other components may cause the engine to run improperly.
* Disconnection, looseness or cracks in the parts of the air induction system between the throttle body and cylinder head will allow air suction and cause an engine failure or engine failure malfunctions.

If the result is not as specified, replace parts as necessary.

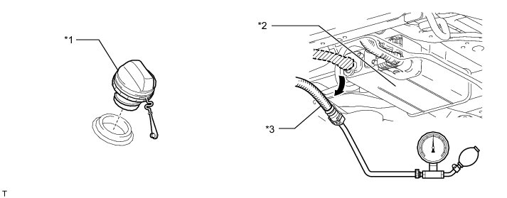
4. INSPECT FUEL CUT-OFF VALVE AND FILL CHECK VALVE

(a) Disconnect the vent line hose from the charcoal canister.





Text in Illustration





(b) Connect a pressure gauge to the vent line hose.

(c) Fill the fuel tank with fuel.

(d) Apply a pressure of 4 kPa (0.04 kgf/cm2, 0.6 psi) to the vent port of the fuel tank.

HINT
If the fuel tank is full, it is necessary to check the fuel amount, as the float valve of the fill check valve is closed and there is no ventilation.

(e) Remove the fuel tank cap and check that the pressure inside the tank drops.

If the pressure does not drop, replace the fuel tank assembly.

(f) Reconnect the vent line hose to the charcoal canister.

5. CHECK AIR INLET LINE

(a) Disconnect the air inlet line hose from the charcoal canister.





(b) Check that there is ventilation in the air inlet line.

If air cannot flow freely into the air inlet line, repair or replace it.

(c) Reconnect the air inlet line hose to the charcoal canister.

6. INSPECT SECONDARY AIR INJECTION SYSTEM OPERATION

(a) Start the engine and warm it up.

(b) Turn the engine switch off.

(c) Connect the Techstream to the DLC3.

(d) Turn the engine switch on (IG) and turn the Techstream on.

(e) Enter the following menus: Powertrain / Engine and ECT / Utility / Air Injection Check / Manual Mode / AIR PUMP: ON, ASV1: OPEN, ASV2: OPEN and AIR PUMP: OFF, ASV1: CLOSE, ASV2: CLOSE.

HINT
When Manual Mode is selected, Techstream initialization (atmospheric pressure measurement) is performed automatically. Initialization takes 10 seconds. After initialization, AIR PUMP and ASV operation can be selected.

(f) Start the engine.

(g) Perform the AIR system intrusive operation while the engine is idling.

(h) Check that the air pump (AIR PUMP), ASV and pressure in the AIR system passage (PRESSURE) status displayed on the Techstream indicate the conditions shown in the table below.

Standard:





*1:

Average pumping pressure (gauge pressure). The pressure should be 2.4 kPa or higher when the AIR system operates.

*2:

The cumulative exhaust pulsation calculated by the ECM. If the calculated value exceeds a certain level, the ECM determines that the exhaust pulsation is in the AIR system.

(i) Turn the engine switch off.

NOTICE:
* Air Injection Check only allows technicians to operate the AIR system for a maximum of 5 seconds.
Furthermore, the check can only be performed up to 4 times per trip. If the test is repeated, intervals of at least 30 seconds are required between checks.
While AIR system operation using the Techstream is prohibited, the Techstream display indicates the prohibition (WAIT or ERROR).
If ERROR is displayed on the Techstream during the test, stop the engine for 10 minutes, and then try again.
* Performing Air Injection Check repeatedly may cause damage to the AIR system. If necessary, leave an interval of several minutes between Air Injection Check operations to prevent the system from overheating.
* When performing the Air Injection Check operation after the battery cable has been reconnected, wait for 7 minutes with the engine switch on (IG) or the engine running.
* Turn the engine switch off when the Air Injection Check operation finishes.