Operation CHARM: Car repair manuals for everyone.
Manuals through 2025 now available!

Our trusted friends have launched a new website named LEMON, which has newer manuals. It also contains all the CHARM manuals.

LEMON is the spiritual successor to CHARM, I recommend you try it!

Link: lemon-manuals.la or lemon-manuals.org.ua

(Some people have issue connecting. LEMON is investigating. For now, use Firefox or change your DNS server)

Or, hide this message: temporarily or permanently

Installation





WINDOW / GLASS: WINDSHIELD GLASS: INSTALLATION

1. INSTALL NO. 1 WINDSHIELD GLASS STOPPER





(a) Install 2 new stoppers to the vehicle body as shown in the illustration.

Text in Illustration





2. INSTALL NO. 2 WINDSHIELD GLASS STOPPER

(a) Apply Primer G to the glass where the stoppers will be installed.

NOTICE:
* Allow the primer to dry for 3 minutes or more.
* Throw away any leftover primer.
* Do not apply too much primer.

(b) Install 2 new stoppers to the glass at the locations shown in the illustration.





Text in Illustration





Standard:





3. INSTALL WINDSHIELD OUTSIDE MOULDING

(a) Using a brush or sponge, coat the contact surface of the glass and moulding with Primer G as shown in the illustration.

NOTICE:
* Allow the primer coating to dry for 3 minutes or more.
* Do not coat the adhesive with Primer G.
* Throw away any leftover primer.





Text in Illustration





Standard:





(b) Remove the peeling paper from a new windshield outside moulding and install the moulding as shown in the illustration.

4. INSTALL WINDSHIELD GLASS ADHESIVE DAM

(a) Apply Primer G to the glass where the new adhesive dam will be installed.

NOTICE:
* Allow the primer to dry for 3 minutes or more.
* Throw away any leftover primer.
* Do not apply too much primer.

(b) Remove the peeling paper from the adhesive part of a new dam. Install the dam (adhesive side) to the glass (Primer G area), but exclude the area above the notches on the upper part of the glass.





Text in Illustration





Standard:





5. INSTALL WINDSHIELD GLASS





(a) Position the glass.

(1) Using suction cups, place the glass in the correct position.

(2) Check that the entire contact surface of the glass rim is perfectly even.

(3) Place matchmarks on the glass and vehicle body at the locations indicated in the illustration.

HINT
* Placing matchmarks is only necessary when installing new glass. When reusing the glass, matchmarks should already be present.
* When reusing the glass, check and correct the matchmark positions.

NOTICE:
Check that the stoppers are attached to the vehicle body correctly.

(4) Using suction cups, remove the glass.

Text in Illustration









Using a brush, apply Primer M to the exposed part of the vehicle body.

NOTICE:
* Allow the primer to dry for 3 minutes or more.
* Do not apply primer to the adhesive.
* Throw away any leftover primer.
* Do not apply too much primer.

Text in Illustration





(b) Using a brush or sponge, apply Primer G to the contact surface of the glass.





Text in Illustration





Standard:





HINT
If the primer is applied to an area that is not specified, apply non-residue solvent to a clean cloth and wipe off the excess primer before it dries.

NOTICE:
* Allow the primer to dry for 3 minutes or more.
* Throw away any leftover primer.
* Do not apply too much primer.

(c) Apply adhesive to the glass.

Adhesive:

Toyota Genuine Windshield Glass Adhesive or equivalent

(1) Cut off the tip of a cartridge nozzle as shown in the illustration.

HINT
After cutting off the tip, use all adhesive within the time written in the table below.

Usage Time Frame:





(2) Load a sealer gun with the cartridge.

(3) Apply adhesive to the glass as shown in the illustration.





Text in Illustration





Standard:









Install the glass to the vehicle body.

(1) Using suction cups, position the glass so that the matchmarks are aligned. Press it in gently along the rim.

(2) Lightly press the outer surface of the glass to ensure that it is securely installed to the vehicle body.

NOTICE:
* Check that the stoppers are attached to the vehicle body correctly.
* Check that the vehicle body and glass have a small gap between them.

(3) Hold the glass in place securely with protective tape or equivalent until the adhesive hardens.

NOTICE:
Do not drive the vehicle within the time written in the table below.

Minimum Time:





Text in Illustration





(d) w/ Windshield Deicer System:

Connect the windshield deicer connector.

6. CHECK FOR LEAK AND REPAIR

(a) Conduct a leak test after the adhesive has completely hardened.

(b) Seal any leaks with auto glass sealer.

7. INSTALL ROOF HEADLINING ASSEMBLY

(a) Return the roof headlining to its original position. Refer to the following procedures Installation.

8. INSTALL INNER REAR VIEW MIRROR ASSEMBLY (w/ Automatic High Beam System) Installation

9. INSTALL INNER REAR VIEW MIRROR STAY HOLDER COVER (w/ Automatic High Beam System) Installation

10. INSTALL INNER REAR VIEW MIRROR ASSEMBLY (w/o Automatic High Beam System) Installation

11. INSTALL INNER REAR VIEW MIRROR STAY HOLDER COVER (w/o Automatic High Beam System) Installation

12. INSTALL RAIN SENSOR TAPE Installation

13. INSTALL RAIN SENSOR Installation

14. INSTALL RAIN SENSOR COVER Installation

15. INSTALL MAP LIGHT ASSEMBLY Installation

16. INSTALL VISOR HOLDER Installation

17. INSTALL VISOR ASSEMBLY LH Installation

18. INSTALL VISOR ASSEMBLY RH Installation

19. INSTALL VISOR BRACKET COVER Installation

20. INSTALL FRONT PILLAR GARNISH LH Installation

21. INSTALL FRONT PILLAR GARNISH RH Installation

22. INSTALL NO. 1 ASSIST GRIP Installation

23. INSTALL FRONT NO. 1 ASSIST GRIP PLUG LH Installation

24. INSTALL FRONT NO. 1 ASSIST GRIP PLUG RH Installation

25. INSTALL FRONT DOOR OPENING TRIM WEATHERSTRIP LH Installation

26. INSTALL FRONT DOOR OPENING TRIM WEATHERSTRIP RH Installation

27. INSTALL COWL SIDE TRIM BOARD LH Installation

28. INSTALL COWL SIDE TRIM BOARD RH Installation

29. INSTALL DOOR SCUFF PLATE ASSEMBLY LH Installation

30. INSTALL DOOR SCUFF PLATE ASSEMBLY RH Installation

31. INSTALL NO. 3 WINDSHIELD OUTSIDE MOULDING CLIP

HINT
Perform the following procedures if replacing any No. 3 windshield outside moulding clips.

(a) Install a nose piece to an air riveter or hand riveter.

(b) Insert the mandrel part of a new No. 3 windshield outside moulding clip into the nose piece.





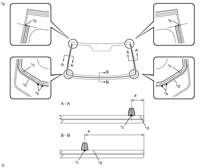
Using the riveter, install the No. 3 windshield outside moulding clips as shown in the illustration.

HINT
If the clip cannot be cut, pull it once and cut it.

NOTICE:





* Do not pry the clip with the riveter as this will cause damage to the riveter and mandrel.

Text in Illustration





*




Confirm that the clips are seated properly against the moulding.
* Do not tilt the riveter when installing the clip to the moulding.
* Do not leave any space between the clip head and moulding.

Text in Illustration





*




Do not leave any space between the moulding and body. Firmly hold the 2 items together while installing the clip.

Text in Illustration





32. INSTALL NO. 1 WINDSHIELD OUTSIDE MOULDING CLIP

(a) Install the 5 No. 1 moulding clips.

HINT
Use the same procedure to install the 5 No. 1 moulding clips on the other side.

33. INSTALL WINDSHIELD LOWER OUTSIDE MOULDING LH

(a) Attach the 5 clips to install the moulding.

(b) Remove the protective tape from the edges of the moulding.

34. INSTALL WINDSHIELD OUTSIDE MOULDING RH

HINT
Use the same procedure described for the LH side.

35. INSTALL COWL TOP VENTILATOR LOUVER SUB-ASSEMBLY Installation

36. INSTALL FRONT WIPER ARM AND BLADE ASSEMBLY RH Installation

37. INSTALL FRONT WIPER ARM AND BLADE ASSEMBLY LH Installation

38. INSTALL FRONT WIPER ARM HEAD CAP Installation

39. INSTALL FRONT FENDER TO COWL SIDE SEAL LH Installation

40. INSTALL FRONT FENDER TO COWL SIDE SEAL RH Installation

41. INSTALL FRONT FENDER SIDE PANEL PROTECTOR LH Installation

42. INSTALL FRONT FENDER SIDE PANEL PROTECTOR RH Installation

43. INSTALL ENGINE ROOM SIDE COVER LH Installation

44. INSTALL ENGINE ROOM COVER SIDE Installation

45. INSTALL UPPER RADIATOR SUPPORT SEAL Installation

46. CONNECT CABLE TO NEGATIVE BATTERY TERMINAL

NOTICE:
When disconnecting the cable, some systems need to be initialized after the cable is reconnected Repair Instruction - Initialization.