Operation CHARM: Car repair manuals for everyone.
Manuals through 2025 now available!

Our trusted friends have launched a new website named LEMON, which has newer manuals. It also contains all the CHARM manuals.

LEMON is the spiritual successor to CHARM, I recommend you try it!

Link: lemon-manuals.la or lemon-manuals.org.ua

(Some people have issue connecting. LEMON is investigating. For now, use Firefox or change your DNS server)

Or, hide this message: temporarily or permanently

Height Control Sensor Circuit





LIGHTING: LIGHTING SYSTEM: Height Control Sensor Circuit
- Height Control Sensor Circuit

DESCRIPTION

This circuit provides power to operate the height control sensor. The headlight leveling ECU assembly calculates a height value from the height control sensor signal and the voltage at the power source of the height control sensor. The voltage at the power source of the height control sensor is corrected when SHFL or SHRL is detected.





WIRING DIAGRAM





INSPECTION PROCEDURE

PROCEDURE

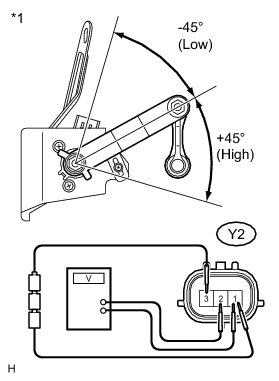
1. INSPECT FRONT HEIGHT CONTROL SENSOR SUB-ASSEMBLY LH

(a) Connect 3 dry cell batteries (1.5 V) in series.





(b) Remove the front height control sensor sub-assembly LH.

(c) Connect a positive (+) lead from the batteries to terminal 3 and a negative (-) lead from the batteries to terminal 1.

(d) Measure the voltage between terminals 2 and 1 while slowly moving the link up and down.

Standard Voltage:





Text in Illustration





NG -- REPLACE FRONT HEIGHT CONTROL SENSOR SUB-ASSEMBLY LH
OK -- Continue to next step.

2. INSPECT REAR HEIGHT CONTROL SENSOR SUB-ASSEMBLY LH

(a) Connect 3 dry cell batteries (1.5 V) in series.





(b) Remove the rear height control sensor sub-assembly LH.

(c) Connect a positive (+) lead from the batteries to terminal 3 and a negative (-) lead from the batteries to terminal 1.

(d) Measure the voltage between terminals 2 and 1 while slowly moving the link up and down.

Standard Voltage:





Text in Illustration





NG -- REPLACE REAR HEIGHT CONTROL SENSOR SUB-ASSEMBLY LH
OK -- Continue to next step.

3. CHECK HARNESS AND CONNECTOR (HEADLIGHT LEVELING ECU - HEIGHT CONTROL SENSOR (FR OR RR))

(a) Check the wire harness between the headlight leveling ECU assembly and front height control sensor sub-assembly LH.

(1) Disconnect the A17 front height control sensor sub-assembly connector.

(2) Disconnect the A61 headlight leveling ECU assembly connector.

(3) Measure the resistance according to the value(s) in the table below.

Standard Resistance:





(b) Check the wire harness between the headlight leveling ECU assembly and rear height control sensor sub-assembly LH.

(1) Disconnect the Y2 rear height control sensor sub-assembly LH connector.

(2) Disconnect the A61 headlight leveling ECU assembly connector.

(3) Measure the resistance according to the value(s) in the table below.

Standard Resistance:





NG -- REPAIR OR REPLACE HARNESS OR CONNECTOR

OK -- PROCEED TO NEXT SUSPECTED AREA SHOWN IN PROBLEM SYMPTOMS TABLE