Operation CHARM: Car repair manuals for everyone.
Manuals through 2025 now available!

Our trusted friends have launched a new website named LEMON, which has newer manuals. It also contains all the CHARM manuals.

LEMON is the spiritual successor to CHARM, I recommend you try it!

Link: lemon-manuals.la or lemon-manuals.org.ua

(Some people have issue connecting. LEMON is investigating. For now, use Firefox or change your DNS server)

Or, hide this message: temporarily or permanently

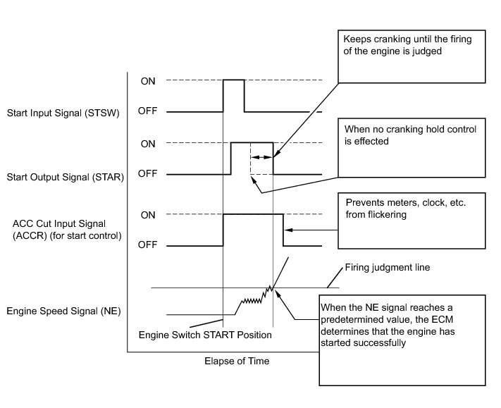
Cranking Holding Function Circuit





4GR-FSE ENGINE CONTROL SYSTEM: SFI SYSTEM: Cranking Holding Function Circuit
- Cranking Holding Function Circuit

DESCRIPTION

The cranking holding control system provides current to the starter when the ECM detects the engine switch's start signal (STSW). When the ECM performs a firing judgment, the system cuts current to the starter. When an ECM receives the STSW signal, it turns on the ST CUT relay, which prevents flickering of the combination meter, clock, audio system, etc. Also, the ECM sends a signal to the ECM's STAR terminal. Then the STAR output signal travels through the park/neutral position (PNP) switch (A/T) or clutch pedal switch (M/T) to the STARTER relay, causing the starter to activate.

When the engine is cranking, the starter operation signal is sent to the ECM's STA terminal.





WIRING DIAGRAM

Refer to DTC P0617 P0617.

INSPECTION PROCEDURE

NOTICE:
Inspect the fuses for circuits related to this system before performing the following inspection procedure.

PROCEDURE

1. CHECK CRANKING

(a) When starting the engine, check whether the starter motor starts.

Result:





B -- CHECK FOR INTERMITTENT PROBLEMS Check For Intermittent Problems
A -- Continue to next step.

2. READ VALUE USING TECHSTREAM (STA SIGNAL)

(a) Connect Techstream to the DLC3.

(b) Turn the engine switch on (IG) and turn the Techstream on.

(c) Enter the following menus: Powertrain / Engine / Data List / All Data / Starter Signal.

(d) Check the result when the engine switch is turned on (IG) and the engine is started.

Standard:





Result:





B -- INSPECT STARTER RELAY
A -- Continue to next step.

3. INSPECT ECM (STAR AND STSW VOLTAGE)

(a) Measure the voltage according to the value(s) in the table below while cranking the engine.





Standard Voltage:





Result:





C -- CHECK HARNESS AND CONNECTOR (POWER SOURCE CONTROL ECU - ECM)

B -- REPLACE ECM Removal
A -- Continue to next step.

4. INSPECT ST CUT RELAY

(a) Remove the ST CUT relay from the engine room R/B No. 2.





(b) Measure the resistance according to the value(s) in the table below.

Standard Resistance:





(c) Reinstall the ST CUT relay.

Result:





C -- REPLACE ST CUT RELAY

B -- INSPECT CLUTCH PEDAL SWITCH
A -- Continue to next step.

5. INSPECT PARK/NEUTRAL POSITION SWITCH

(a) Inspect the park/neutral position switch Inspectionfor A760H, for A960E).

Result:





C -- REPLACE PARK/NEUTRAL POSITION SWITCH

B -- REPLACE PARK/NEUTRAL POSITION SWITCH Removal
A -- Continue to next step.

6. CHECK HARNESS AND CONNECTOR (ST CUT RELAY POWER SOURCE)

(a) Remove the ST CUT relay from the engine room R/B No. 2.

(b) Turn the engine switch on (IG).

(c) Measure the voltage according to the value(s) in the table below.

Standard Voltage:





(d) Reinstall the ST CUT relay.

NG -- CHECK HARNESS AND CONNECTOR (ST CUT RELAY - POWER SOURCE CONTROL ECU)
OK -- Continue to next step.

7. CHECK HARNESS AND CONNECTOR (ST CUT RELAY - BODY GROUND)

(a) Remove the ST CUT relay from the engine room R/B No. 2.

(b) Measure the resistance according to the value(s) in the table below.

Standard Resistance (Check for Open):





(c) Reinstall the ST CUT relay.

NG -- REPAIR OR REPLACE HARNESS OR CONNECTOR
OK -- Continue to next step.

8. CHECK HARNESS AND CONNECTOR (ECM - ST CUT RELAY - POWER SOURCE CONTROL ECU)

(a) Disconnect the E4 ECM connector.

(b) Remove the ST CUT relay from the engine room R/B No. 2.

(c) Disconnect the J55 power source control ECU connector.

(d) Measure the resistance according to the value(s) in the table below.

Standard Resistance (Check for Open):





Standard Resistance (Check for Short):





(e) Reinstall the ST CUT relay.

(f) Reconnect the ECM connector.

(g) Reconnect the power source control ECU connector.

NG -- REPAIR OR REPLACE HARNESS OR CONNECTOR
OK -- Continue to next step.

9. CHECK HARNESS AND CONNECTOR (PNP SWITCH - ST CUT RELAY - POWER SOURCE CONTROL ECU)

(a) Disconnect the E45 park/neutral position switch connector.

(b) Remove the ST CUT relay from the engine room R/B No. 2.

(c) Disconnect the J55 power source control ECU connector.

(d) Measure the resistance according to the value(s) in the table below.

Standard Resistance (Check for Open):





Standard Resistance (Check for Short):





(e) Reconnect the park/neutral position switch connector.

(f) Reinstall the ST CUT relay.

(g) Reconnect the power source control ECU connector.

NG -- REPAIR OR REPLACE HARNESS OR CONNECTOR

OK -- REPAIR OR REPLACE HARNESS OR CONNECTOR (PARK/NEUTRAL POSITION SWITCH - ECM)

10. INSPECT CLUTCH PEDAL SWITCH

(a) Inspect the clutch pedal switch .

NG -- REPLACE CLUTCH PEDAL SWITCH
OK -- Continue to next step.

11. CHECK HARNESS AND CONNECTOR (ST CUT RELAY POWER SOURCE)

(a) Remove the ST CUT relay from the engine room R/B No. 2.

(b) Turn the engine switch on (IG).

(c) Measure the voltage according to the value(s) in the table below.

Standard Voltage:





(d) Reinstall the ST CUT relay.

NG -- CHECK HARNESS AND CONNECTOR (ST CUT RELAY - POWER SOURCE CONTROL ECU)
OK -- Continue to next step.

12. CHECK HARNESS AND CONNECTOR (ST CUT RELAY - BODY GROUND)

(a) Remove the ST CUT relay from the engine room R/B No. 2.

(b) Measure the resistance according to the value(s) in the table below.

Standard Resistance (Check for Open):





(c) Reinstall the ST CUT relay.

NG -- REPAIR OR REPLACE HARNESS OR CONNECTOR
OK -- Continue to next step.

13. CHECK HARNESS AND CONNECTOR (ECM - ST CUT RELAY - POWER SOURCE CONTROL ECU)

(a) Disconnect the E5 ECM connector.

(b) Remove the ST CUT relay from the engine room R/B No. 2.

(c) Disconnect the J55 power source control ECU connector.

(d) Measure the resistance according to the value(s) in the table below.

Standard Resistance (Check for Open):





Standard Resistance (Check for Short):





(e) Reinstall the ST CUT relay.

(f) Reconnect the ECM connector.

(g) Reconnect the power source control ECU connector.

NG -- REPAIR OR REPLACE HARNESS OR CONNECTOR
OK -- Continue to next step.

14. CHECK HARNESS AND CONNECTOR (CLUTCH SWITCH - ST CUT RELAY - POWER SOURCE CONTROL ECU)

(a) Disconnect the A24 clutch pedal switch connector.

(b) Remove the ST CUT relay from the engine room R/B No. 2.

(c) Disconnect the J55 power source control ECU connector.

(d) Measure the resistance according to the value(s) in the table below.

Standard Resistance (Check for Open):





Standard Resistance (Check for Short):





(e) Reconnect the clutch pedal switch connector.

(f) Reinstall the relay.

(g) Reconnect the power source control ECU connector.

NG -- REPAIR OR REPLACE HARNESS OR CONNECTOR

OK -- REPLACE HARNESS OR CONNECTOR (CLUTCH PEDAL SWITCH - ECM)

15. CHECK HARNESS AND CONNECTOR (ST CUT RELAY - POWER SOURCE CONTROL ECU)

(a) Remove the ST CUT relay from the engine room R/B No. 2.

(b) Disconnect the J55 power source control ECU connector.

(c) Measure the resistance according to the value(s) in the table below.

Standard Resistance (Check for Open):





Standard Resistance (Check for Short):





(d) Reinstall the ST CUT relay.

(e) Reconnect the power source control ECU connector.

NG -- REPAIR OR REPLACE HARNESS OR CONNECTOR

OK -- GO TO SMART ACCESS SYSTEM WITH PUSH-BUTTON START

16. INSPECT STARTER RELAY

(a) Remove the STARTER relay from the engine room R/B No. 1.





(b) Measure the resistance according to the value(s) in the table below.

Standard Resistance:





(c) Reinstall the STARTER relay.

NG -- REPLACE STARTER RELAY
OK -- Continue to next step.

17. CHECK HARNESS AND CONNECTOR (STARTER RELAY - BODY GROUND)

(a) Remove the STARTER relay from the engine room R/B No. 1.

(b) Measure the resistance according to the value(s) in the table below.

Standard Resistance (Check for Open):





(c) Reinstall the STARTER relay.

Result:





C -- REPAIR OR REPLACE HARNESS OR CONNECTOR

B -- CHECK HARNESS AND CONNECTOR (CLUTCH PEDAL SWITCH - STARTER RELAY)
A -- Continue to next step.

18. CHECK HARNESS AND CONNECTOR (PARK/NEUTRAL POSITION SWITCH - STARTER RELAY)

(a) Disconnect the E45 park/neutral position switch connector.

(b) Remove the STARTER relay from the engine room R/B No. 1.

(c) Measure the resistance according to the value(s) in the table below.

Standard Resistance (Check for Open):





Standard Resistance (Check for Short):





(d) Reconnect the park/neutral position switch connector.

(e) Reinstall the STARTER relay.

Result:





B -- INSPECT ENGINE ROOM RELAY BLOCK NO. 1 (STARTER RELAY VOLTAGE)

A -- REPAIR OR REPLACE HARNESS OR CONNECTOR

19. CHECK HARNESS AND CONNECTOR (CLUTCH PEDAL SWITCH - STARTER RELAY)

(a) Disconnect the A24 clutch pedal switch connector.

(b) Remove the STARTER relay from the engine room R/B No. 1.

(c) Measure the resistance according to the value(s) in the table below.

Standard Resistance (Check for Open):





Standard Resistance (Check for Short):





(d) Reconnect the clutch pedal switch connector.

(e) Reinstall the relay.

NG -- REPAIR OR REPLACE HARNESS OR CONNECTOR
OK -- Continue to next step.

20. INSPECT ENGINE ROOM RELAY BLOCK NO. 1 (STARTER RELAY VOLTAGE)

(a) Remove the STARTER relay from the engine room R/B No. 1.





(b) Measure the voltage according to the value(s) in the table below.

Standard Voltage:





(c) Reinstall the STARTER relay.

NG -- REPAIR OR REPLACE HARNESS OR CONNECTOR (STARTER RELAY - BATTERY)
OK -- Continue to next step.

21. INSPECT STARTER ASSEMBLY

(a) Inspect the starter assembly Testing and Inspection.

NG -- REPAIR OR REPLACE STARTER ASSEMBLY Removal

OK -- REPAIR OR REPLACE HARNESS AND CONNECTOR (STARTER RELAY - STARTER, STARTER - BATTERY)

22. CHECK HARNESS AND CONNECTOR (POWER SOURCE CONTROL ECU - ECM)

(a) Disconnect the J55 power source control ECU connector.

(b) Disconnect the A5 ECM connector.

(c) Measure the resistance according to the value(s) in the table below.

Standard resistance (Check for Open):





Standard resistance (Check for Short):





(d) Reconnect the ECM connector.

(e) Reconnect the power source control ECU connector.

NG -- REPAIR OR REPLACE HARNESS OR CONNECTOR

OK -- GO TO SMART ACCESS SYSTEM WITH PUSH-BUTTON START