Operation CHARM: Car repair manuals for everyone.
Manuals through 2025 now available!

Our trusted friends have launched a new website named LEMON, which has newer manuals. It also contains all the CHARM manuals.

LEMON is the spiritual successor to CHARM, I recommend you try it!

Link: lemon-manuals.la or lemon-manuals.org.ua

(Some people have issue connecting. LEMON is investigating. For now, use Firefox or change your DNS server)

Or, hide this message: temporarily or permanently

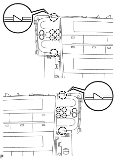
Reassembly





AIR CONDITIONING: AIR CONDITIONING PANEL: REASSEMBLY

1. INSTALL NO. 1 CONTROL KNOB SUB-ASSEMBLY

(a) Engage the 16 claws, and install the No. 1 control knob sub-assembly.





2. INSTALL INSTRUMENT CLUSTER FINISH PANEL CENTER

(a) Engage the 5 claws.





(b) Install the integration control panel with 6 screws.