Operation CHARM: Car repair manuals for everyone.
Manuals through 2025 now available!

Our trusted friends have launched a new website named LEMON, which has newer manuals. It also contains all the CHARM manuals.

LEMON is the spiritual successor to CHARM, I recommend you try it!

Link: lemon-manuals.la or lemon-manuals.org.ua

(Some people have issue connecting. LEMON is investigating. For now, use Firefox or change your DNS server)

Or, hide this message: temporarily or permanently

Installation





REAR SUSPENSION: REAR SUSPENSION MEMBER: INSTALLATION

1. INSTALL HOLE PLUG

(a) Install the 4 hole plugs to the rear suspension member sub-assembly.





HINT
The upper and lower suspension member hole plug sizes are different.

2. INSTALL REAR SUSPENSION MEMBER FRONT BODY MOUNTING CUSHION (for LH Side)

(a) Apply diluted liquid soap to the outside of a new rear suspension member front body mounting cushion.





Text in Illustration





NOTICE:
Do not use grease or undiluted liquid soap. Doing so may cause the rear suspension member front body mounting cushion to slip out.

HINT
A 20% liquid hand soap and water concentration is recommended.

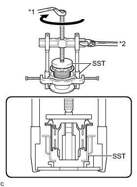
(b) Temporarily install the rear suspension member front body mounting cushion while confirming the installation direction.

(c) Using SST, install the rear suspension member front body mounting cushion until there is no clearance between the suspension member sub-assembly and rear suspension member front body mounting cushion.





Text in Illustration





SST : 09570-24011

SST : 09950-40011

09951-04020

09952-04010

09953-04030

09954-04020

09955-04061

09957-04010

09958-04011

SST : 09950-60020

09951-00710

NOTICE:
* Apply grease to the threads and tip of the SST center bolt before use.
* Do not apply excessive pressure to the center sleeve of the rear suspension member front body mounting cushion.

3. INSTALL REAR SUSPENSION MEMBER FRONT BODY MOUNTING CUSHION (for RH Side)

HINT
Perform the same procedure as the LH side.

4. INSTALL REAR SUSPENSION MEMBER REAR BODY MOUNTING CUSHION (for LH Side)

(a) Apply diluted liquid soap to the outside of a new rear suspension member rear body mounting cushion.





Text in Illustration





NOTICE:
Do not use grease or undiluted liquid soap. Doing so may cause the rear suspension member rear body mounting cushion to slip out.

HINT
A 20% liquid hand soap and water concentration is recommended.

(b) Temporarily install the rear suspension member rear body mounting cushion while confirming the installation direction.

(c) Using SST, install the rear suspension member rear body mounting cushion until there is no clearance between the suspension member sub-assembly and rear suspension member rear body mounting cushion.





Text in Illustration





SST : 09316-12010

SST : 09570-24011

SST : 09950-40011

09951-04020

09952-04010

09953-04030

09954-04020

09955-04061

09957-04010

09958-04011

SST : 09950-60020

09951-00910

NOTICE:
* Apply grease to the threads and tip of the SST center bolt before use.
* Do not apply excessive pressure to the center sleeve of the rear suspension member rear body mounting cushion.

5. INSTALL REAR SUSPENSION MEMBER REAR BODY MOUNTING CUSHION (for RH Side)

HINT
Perform the same procedure as the LH side.

6. INSTALL REAR NO. 1 DIFFERENTIAL MOUNT CUSHION Installation

7. INSTALL REAR NO. 2 DIFFERENTIAL MOUNT CUSHION Installation

8. INSTALL REAR SUSPENSION MEMBER REAR UPPER STOPPER (for LH Side)

(a) Install the rear suspension member rear upper stopper to the rear suspension member sub-assembly.





9. INSTALL REAR SUSPENSION MEMBER REAR UPPER STOPPER (for RH Side)

HINT
Perform the same procedure as the LH side.

10. TEMPORARILY TIGHTEN TOE CONTROL LINK SUB-ASSEMBLY LH

(a) Install the toe control link sub-assembly LH and insert the toe adjust cam from the front of the vehicle. Then, install the toe adjust plate and temporarily tighten the nut.





Text in Illustration





NOTICE:
Align the matchmarks on the rear suspension member sub-assembly and toe adjust plate.

11. TEMPORARILY TIGHTEN TOE CONTROL LINK SUB-ASSEMBLY RH

HINT
Perform the same procedure as the LH side.

12. TEMPORARILY TIGHTEN REAR NO. 1 UPPER CONTROL ARM ASSEMBLY (for LH Side)

(a) Temporarily tighten the rear No. 1 upper control arm assembly to the rear suspension member sub-assembly with the bolt, nut and washer.





13. TEMPORARILY TIGHTEN REAR NO. 1 UPPER CONTROL ARM ASSEMBLY (for RH Side)

HINT
Perform the same procedure as the LH side.

14. INSTALL REAR SUSPENSION MEMBER SUB-ASSEMBLY

(a) Raise the rear suspension member sub-assembly using a jack with 4 wooden blocks.

NOTICE:
Make sure to secure the rear suspension member sub-assembly to prevent it from dropping.

HINT
Keep the rear suspension member sub-assembly level.

(b) Temporarily install the rear suspension member sub-assembly, 2 rear suspension member rear lower stoppers and 2 rear suspension member lower stoppers with the 8 bolts.





Text in Illustration





(c) Fully tighten the 2 bolts (A) and 4 bolts (B).

Bolt A - Torque : 127 Nm (1300 kgf-cm, 94 ft-lbf)

Bolt B - Torque : 19 Nm (195 kgf-cm, 14 ft-lbf)

HINT
Fully tighten the bolt (C) after installing the rear lower suspension member stopper reinforces.

15. INSTALL REAR DIFFERENTIAL CARRIER ASSEMBLY (for 2GR-FSE)

NOTICE:
When temporarily installing the rear differential carrier assembly and fully tightening its bolts, do not misalign the rear differential mount cushion bolt holes or rear differential carrier assembly bolts.

(a) Install the 2 rear upper differential mount stoppers to the rear differential carrier assembly.

NOTICE:
Make sure not to install the rear upper differential mount stoppers upside down.

(b) Support the rear differential carrier and rear drive shaft assemblies using a jack and 2 attachments as shown in the illustration.





Text in Illustration





CAUTION:
* The rear differential carrier and rear drive shaft assemblies are very heavy. Make sure to securely support it with a transmission jack to prevent it from dropping.
* In order to prevent the rear differential carrier and rear drive shaft assemblies from tilting excessively or falling, perform the following procedure using several people to hold the rear differential carrier and rear drive shaft assemblies.
NOTICE:
* Keep the jack, rear differential carrier and rear drive shaft assemblies level.
* Do not damage the installation surface when installing the rear differential carrier assembly.

(c) Using a straight hexagon and a wrench, temporarily install the rear differential carrier assembly to the suspension member assembly with 3 new bolts (A) as shown in the illustration.





(d) Temporarily install the rear differential carrier assembly to the suspension member sub-assembly with 2 new bolts (B) and 2 rear lower differential mount stoppers.

NOTICE:
Make sure not to install the rear lower differential mount stoppers upside down.

(e) Using 2 straight hexagons, a wrench and torque wrench, fully tighten the 3 bolts (A) as shown in the illustration.





Torque : 103 Nm (1050 kgf-cm, 76 ft-lbf)

NOTICE:
* Tighten the 2 bolts (A) on the left side of the vehicle first.
* Use the formula to calculate special torque values for situations where the wrench is combined with a torque wrench Service Precautions.

(f) Fully tighten the 2 bolts (B).

Torque : 95 Nm (970 kgf-cm, 70 ft-lbf)

NOTICE:
* Make sure to tighten the bolts after checking that the rear upper differential mount stopper and rear lower differential mount stopper are not misaligned or inclined.
* Do not tilt the inner sleeve or distort rubber parts when fully tightening the bolts (B).

16. INSTALL REAR DIFFERENTIAL CARRIER ASSEMBLY (for 4GR-FSE)

NOTICE:
When temporarily installing the rear differential carrier assembly and fully tightening its bolts, do not misalign the rear differential mount cushion bolt holes or rear differential carrier assembly bolts.

(a) Install the 2 rear upper differential mount stoppers to the rear differential carrier assembly.

NOTICE:
Make sure not to install the rear upper differential mount stoppers upside down.

(b) Support the rear differential carrier and rear drive shaft assemblies using a jack and 2 attachments as shown in the illustration.





Text in Illustration





CAUTION:
* The rear differential carrier and rear drive shaft assemblies are very heavy. Make sure to securely support it with a transmission jack to prevent it from dropping.
* In order to prevent the rear differential carrier and rear drive shaft assemblies from tilting excessively or falling, perform the following procedure using several people to hold the rear differential carrier and rear drive shaft assemblies.
NOTICE:
* Keep the jack, rear differential carrier and rear drive shaft assemblies level.
* Do not damage the installation surface when installing the rear differential carrier assembly.

(c) Temporarily install the rear differential carrier assembly to the suspension member sub-assembly with 2 new bolts (B) and 2 rear lower differential mount stoppers.





NOTICE:
Make sure not to install the rear lower differential mount stoppers upside down.

(d) Using a straight hexagon and a wrench, temporarily install the rear differential carrier assembly to the suspension member assembly with 3 new bolts (A) as shown in the illustration.

(e) Using 2 straight hexagons, a wrench and torque wrench, fully tighten the 3 bolts (A) as shown in the illustration.





Torque : 103 Nm (1050 kgf-cm, 76 ft-lbf)

NOTICE:
* Tighten the 2 bolts (A) on the left side of the vehicle first.
* Use the formula to calculate special torque values for situations where the wrench is combined with a torque wrench Service Precautions.

(f) Fully tighten the 2 bolts (B).

Torque : 95 Nm (970 kgf-cm, 70 ft-lbf)

NOTICE:
* Make sure to tighten the bolts after checking that the rear upper differential mount stopper and rear lower differential mount stopper are not misaligned or inclined.
* Do not tilt the inner sleeve or distort rubber parts when fully tightening the bolts (B).
* When fully tightening the bolts (B), secure the lower stopper with the anti-rotation pins on the lower stopper to prevent the front differential mount inner cylinder from rotating together with the bolt (B).

17. INSTALL REAR STABILIZER BAR

(a) Temporarily install the rear stabilizer bar so that the indication mark on the rear stabilizer bar is on the right side of the vehicle.





Text in Illustration





(b) Install the rear stabilizer bar with the 4 bolts to the rear suspension member sub-assembly.





Torque : 32 Nm (326 kgf-cm, 24 ft-lbf)

18. INSTALL REAR LOWER SUSPENSION MEMBER STOPPER REINFORCE LH Installation

19. INSTALL REAR LOWER SUSPENSION MEMBER STOPPER REINFORCE RH

HINT
Perform the same procedure as the LH side.

20. INSTALL REAR HEIGHT CONTROL SENSOR SUB-ASSEMBLY (w/ HID Headlight System)

(a) Install the rear height control sensor sub-assembly to the suspension member sub-assembly with the 2 bolts.





Torque : 14 Nm (143 kgf-cm, 10 ft-lbf)

(b) Engage the clamp and connect the connector.





21. TEMPORARILY TIGHTEN REAR NO. 2 SUSPENSION ARM ASSEMBLY LH

(a) Temporarily install the rear No. 2 suspension arm assembly LH to the rear suspension member sub-assembly with the bolt, nut (C) and washer.





Text in Illustration





(b) Temporarily install the stabilizer link assembly LH and the height control sensor link bracket to the rear No. 2 suspension arm assembly LH with the bolt and nut (B).

HINT
There is only the height control sensor link bracket on vehicles with the HID headlight system.

(c) Temporarily install the rear shock absorber with coil spring LH with the bolt (A) and nut.

NOTICE:
Turn the bolt while holding the nut.

22. TEMPORARILY TIGHTEN REAR NO. 2 SUSPENSION ARM ASSEMBLY RH

(a) Temporarily install the rear No. 2 suspension arm assembly RH to the rear suspension member sub-assembly with the bolt, nut (C) and washer.





(b) Temporarily install the stabilizer link assembly RH to the rear No. 2 suspension arm assembly RH with the bolt and nut (B).

(c) Temporarily install the rear shock absorber with coil spring RH with the bolt (A) and nut.

NOTICE:
Turn the bolt while holding the nut.

23. INSTALL REAR AXLE ASSEMBLY LH Installation

24. INSTALL REAR AXLE ASSEMBLY RH

HINT
Perform the same procedure as the LH side.

25. TEMPORARILY TIGHTEN REAR NO. 2 SUSPENSION ARM ASSEMBLY LH Installation

26. TEMPORARILY TIGHTEN REAR NO. 2 SUSPENSION ARM ASSEMBLY RH

HINT
Perform the same procedure as the RH side.

27. TEMPORARILY TIGHTEN REAR NO. 1 UPPER CONTROL ARM ASSEMBLY (for LH Side) Installation

28. TEMPORARILY TIGHTEN REAR NO. 1 UPPER CONTROL ARM ASSEMBLY (for RH Side)

HINT
Perform the same procedure as the LH side.

29. TEMPORARILY TIGHTEN REAR NO. 2 UPPER CONTROL ARM ASSEMBLY (for LH Side) Installation

30. TEMPORARILY TIGHTEN REAR NO. 2 UPPER CONTROL ARM ASSEMBLY (for RH Side)

HINT
Perform the same procedure as the LH side.

31. INSTALL TOE CONTROL LINK SUB-ASSEMBLY LH Installation

32. INSTALL TOE CONTROL LINK SUB-ASSEMBLY RH

HINT
Perform the same procedure as the LH side.

33. TEMPORARILY TIGHTEN REAR NO. 1 SUSPENSION ARM ASSEMBLY LH Installation

34. TEMPORARILY TIGHTEN REAR NO. 1 SUSPENSION ARM ASSEMBLY RH

HINT
Perform the same procedure as the LH side.

35. INSTALL NO. 3 PARKING BRAKE CABLE ASSEMBLY

(a) Connect the No. 3 parking brake cable assembly to the parking brake equalizer.





(b) Install the No. 3 parking brake cable assembly to the body with the 3 bolts and 2 clamps.

Bolt (A) - Torque : 6.0 Nm (61 kgf-cm, 53 in-lbf

Bolt (B) - Torque : 19 Nm (194 kgf-cm, 14 ft-lbf

NOTICE:
Do not twist the No. 3 parking brake cable assembly when installing it.

36. INSTALL NO. 2 PARKING BRAKE CABLE ASSEMBLY

HINT
Perform the same procedure as the No. 3 parking brake cable assembly.

37. INSTALL REAR SPEED SENSOR LH Installation

38. INSTALL REAR SPEED SENSOR RH

HINT
Perform the same procedure as the LH side.

39. INSTALL REAR DISC (for LH Side) Installation

40. INSTALL REAR DISC (for RH Side)

HINT
Perform the same procedure as the LH side.

41. INSTALL PARKING BRAKE SHOE ADJUSTING HOLE PLUG

42. INSTALL PARKING BRAKE SHOE ADJUSTING HOLE PLUG

43. INSTALL REAR NO. 1 DISC BRAKE CALIPER PLATE Installation

44. INSTALL REAR NO. 1 DISC BRAKE CALIPER PLATE

HINT
Perform the same procedure as the LH side.

45. INSTALL REAR DISC BRAKE CALIPER ASSEMBLY LH Reassembly

46. INSTALL REAR DISC BRAKE CALIPER ASSEMBLY RH

HINT
Perform the same procedure as the LH side.

47. INSTALL REAR AXLE SHAFT NUT LH Installation

48. INSTALL REAR AXLE SHAFT NUT RH

HINT
Perform the same procedure as the LH side.

49. INSTALL REAR NO. 2 BODY MOUNTING BRACKET SUB-ASSEMBLY LH Installation

50. INSTALL REAR NO. 2 BODY MOUNTING BRACKET SUB-ASSEMBLY RH

HINT
Perform the same procedure as the LH side.

51. INSTALL REAR NO. 1 FLOOR BOARD SUB-ASSEMBLY Installation

52. STABILIZE SUSPENSION Installation

53. FULLY TIGHTEN TOE CONTROL LINK SUB-ASSEMBLY LH Installation

54. FULLY TIGHTEN TOE CONTROL LINK SUB-ASSEMBLY RH

HINT
Perform the same procedure as the LH side.

55. FULLY TIGHTEN REAR NO. 1 UPPER CONTROL ARM ASSEMBLY (for LH Side) Installation

56. FULLY TIGHTEN REAR NO. 1 UPPER CONTROL ARM ASSEMBLY (for RH Side)

HINT
Perform the same procedure as the LH side.

57. FULLY TIGHTEN REAR NO. 2 UPPER CONTROL ARM ASSEMBLY (for LH Side) Installation

58. FULLY TIGHTEN REAR NO. 2 UPPER CONTROL ARM ASSEMBLY (for RH Side)

HINT
Perform the same procedure as the LH side.

59. FULLY TIGHTEN REAR NO. 1 SUSPENSION ARM ASSEMBLY LH Installation

60. FULLY TIGHTEN REAR NO. 1 SUSPENSION ARM ASSEMBLY RH

HINT
Perform the same procedure as the LH side.

61. FULLY TIGHTEN REAR NO. 2 SUSPENSION ARM ASSEMBLY LH Installation

62. FULLY TIGHTEN REAR NO. 2 SUSPENSION ARM ASSEMBLY RH

HINT
Perform the same procedure as the LH side.

63. INSTALL TAIL EXHAUST PIPE ASSEMBLY (for 2GR-FSE) Installation

64. INSTALL TAIL EXHAUST PIPE ASSEMBLY (for 4GR-FSE) Installation

65. INSTALL PROPELLER SHAFT WITH CENTER BEARING ASSEMBLY

HINT
Refer to the instructions for Installation of the propeller shaft assembly.

* for 2GR-FSE: Installation
* for 4GR-FSE: Installation

66. INSTALL REAR SUSPENSION MEMBER BRACE LH Installation

67. INSTALL REAR SUSPENSION MEMBER BRACE RH

HINT
Perform the same procedure as the LH side.

68. INSTALL NO. 2 DIFFERENTIAL SUPPORT PROTECTOR Installation

69. INSTALL NO. 1 DIFFERENTIAL SUPPORT PROTECTOR

HINT
Perform the same procedure as the No. 2 differential support protector.

70. ADJUST PARKING BRAKE

Adjustments.

71. INSTALL REAR WHEELS

Torque : 103 Nm (1050 kgf-cm, 76 ft-lbf)

72. INSPECT AND ADJUST REAR WHEEL ALIGNMENT

Rear Wheel Alignment.

73. CHECK FOR SPEED SENSOR SIGNAL

Test Mode Procedure.

74. INSPECT AND ADJUST HEADLIGHT AIMING (w/ HID Headlight System)

Adjustments.