Operation CHARM: Car repair manuals for everyone.
Manuals through 2025 now available!

Our trusted friends have launched a new website named LEMON, which has newer manuals. It also contains all the CHARM manuals.

LEMON is the spiritual successor to CHARM, I recommend you try it!

Link: lemon-manuals.la or lemon-manuals.org.ua

(Some people have issue connecting. LEMON is investigating. For now, use Firefox or change your DNS server)

Or, hide this message: temporarily or permanently

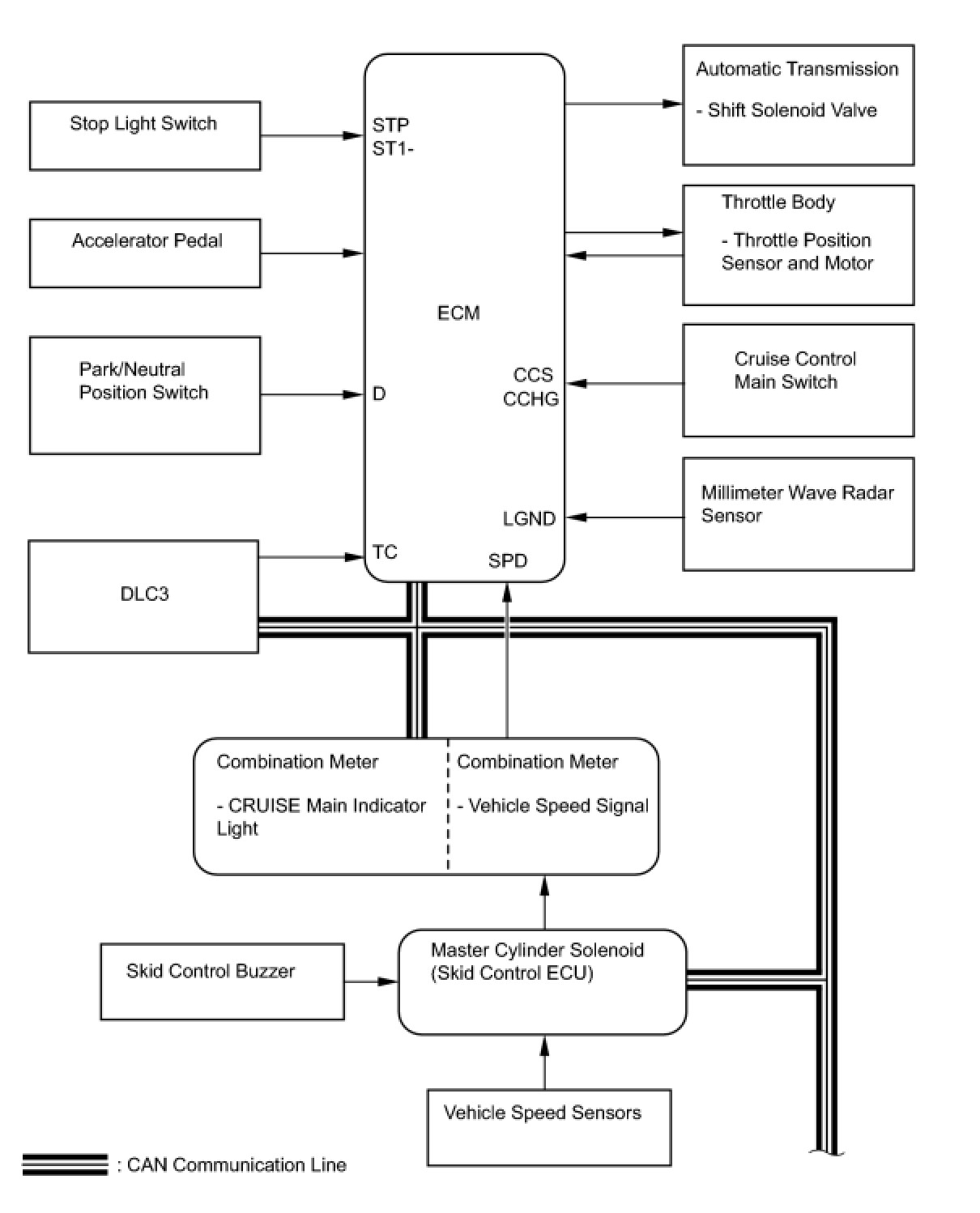
Dynamic Radar Cruise Control System





CRUISE CONTROL: DYNAMIC RADAR CRUISE CONTROL SYSTEM: SYSTEM DIAGRAM









Communication Table













SYSTEM DESCRIPTION

1. GENERAL

(a) The dynamic radar cruise control system has 2 cruise control modes: the constant speed control mode and vehicle-to-vehicle distance control mode.

The vehicle-to-vehicle distance control mode is always selected when starting the dynamic radar cruise control system.

Operation of the constant speed control mode is the same as the cruise control system.

(b) This system maintains the vehicle speed that the driver has set, as long as there are no vehicles ahead in the same lane. Then, the system maintains the vehicle distance that has been set by the driver. If the system detects a vehicle driving at a slower speed ahead while the driver is driving at a constant speed, it closes the throttle valve to decelerate. If further deceleration is required, the system controls the brake actuator in order to apply the brakes. Thereafter, if there are no vehicles ahead within the set vehicle-to-vehicle distance because either the vehicle ahead or the driver has changed lanes, the system accelerates slowly to reach the stored vehicle speed and resumes driving at the constant speed.

(c) The constant speed control mode is designed to maintain a constant cruising speed. The vehicle-to-vehicle distance control mode is designed to control cruising using a constant speed function, deceleration cruising function, follow-up cruising function and acceleration cruising function.

(d) The millimeter wave radar sensor and the distance control ECU control the system while the vehicle-to-vehicle distance control mode is in operation, and send signals to each actuator and ECU.

(e) In vehicle-to-vehicle distance control mode, the dynamic radar cruise control system receives signals from the yaw rate (deceleration) sensor and the steering angle sensor. Based on these signals, it then estimates curve radius and corrects the information on the preceding vehicle while turning. It can also adjust the brake control when approaching another vehicle.

(f) This system judges the presence of a vehicle in front and the distance to it based on the signals from the radar sensor while the vehicle-to-vehicle distance control mode is in operation. Using this information, the system informs the driver of any danger with the warning buzzer, performs brake control, and turns on the stop light when approaching the vehicle in front.

(g) The following illustration shows an example under the following conditions: your vehicle speed is 100 km/h (62 mph) and the speed of the vehicle in front is 80 km/h (50 mph). Setting of the vehicle distance can be changed to 3 distances by operating the steering pad switch (distance control switch): long (approximately 50 m (164 ft.)), middle (approximately 40 m (131 ft.)), and short (approximately 30 m (98 ft.)) when the vehicle speed is approximately 80 km/h (50 mph).





HINT
* Vehicle distance increases and decreases in accordance with vehicle speed.
* Controlling condition is indicated on the multi-information display in the combination meter.

2. FUNCTION OF MAIN COMPONENTS





3. LIMIT CONTROL

(a) Low speed limit

The lowest possible limit of the speed setting range is set at approximately 40 km/h (25 mph). The cruise control system cannot be set when the driving vehicle speed is below the low speed limit. Cruise control operation will be automatically canceled when the vehicle speed decreases below the low speed limit (40 km/h (25 mph)) while cruise control is in operation. When the vehicle speed is increased above the low speed limit after the cruise control operation is canceled, pressing the RES (RESUME) switch increases the vehicle speed to the stored speed.

(b) High speed limit (Constant speed control mode)

The highest possible limit of the speed setting range is approximately 100 km/h (62.5 mph). The cruise control system cannot be set when the driving vehicle speed is over the high speed limit. Also, +RES (ACCELERATION/RESUME) cannot be used to increase speed beyond the high speed limit.

4. CRUISE CONTROL OPERATION

The cruise control main switch operates 8 functions: SET, - (COAST), TAP-DOWN, RES (RESUME), + (ACCELERATION), TAP-UP, CANCEL and MODE. The SET, TAP-DOWN and - (COAST) functions, and the RES (RESUME), TAP-UP and + (ACCELERATION) functions are operated with the same switch. The cruise control main switch is an automatic return type switch which turns on only while operating it in each arrow direction and turns off after releasing it. The dynamic radar cruise control system has two cruise control modes: the constant speed control mode and vehicle-to-vehicle distance control mode.

The vehicle-to-vehicle distance control mode is always selected when starting up the dynamic radar cruise control system.

Operation of the constant speed control mode is the same as the cruise control system.

(a) MODE CONTROL

Pushing the switch to MODE for more than 1 second while driving with the cruise control main switch ON-OFF button on (RADAR READY is on) switches the mode to the constant speed control mode.

(b) SET CONTROL (Constant speed control mode)

Vehicle speed is stored and constant speed control is maintained when pushing the switch to -SET while driving with the vehicle speed within the set speed range (between the low and high speed limits) after pushing the cruise control main switch on (RADAR READY is on), and entering the constant speed control mode.

(c) SET CONTROL (Vehicle-to-vehicle distance control mode)

Vehicle speed is stored and vehicle-to-vehicle distance control is maintained when pushing the switch to -SET while driving with the cruise control main switch on (RADAR READY is on), and vehicle speed is within the set speed range (between the low and high speed limits).

(d) - (COAST) CONTROL (Constant speed control mode)

When the cruise control main switch is pushed to -SET and held in that position while the cruise control system is operating, the ECM sends a "throttle valve opening angle 0°" demand signal to the cruise control system. Then the vehicle speed, when the cruise control main switch is released, is stored and maintained.

HINT
An actual throttle valve opening angle of 0° is not possible due to the idle speed control, etc.

(e) - (COAST) CONTROL (Vehicle-to-vehicle distance control mode)

When the cruise control main switch is pushed to -SET and held in that position while the vehicle-to-vehicle distance control mode is in operation, the stored vehicle speed decreases by approximately 5 km/h or 5 mph.

(f) TAP-DOWN CONTROL (Vehicle-to-vehicle distance control mode)

When tapping down the cruise control main switch to -SET (for approximately 0.6 seconds) while the vehicle-to-vehicle distance control mode is in operation, the stored vehicle speed decreases each time by approximately 5 km/h or 5 mph.

(g) TAP-DOWN CONTROL (Constant speed control mode)

When tapping down the cruise control main switch to -SET (for approximately 0.6 seconds) while the constant speed control mode is in operation, the stored vehicle speed decreases each time by approximately 1.6 km/h (1 mph). When the cruise control main switch is released from -SET and the difference between the driving and stored vehicle speed is more than 5 km/h (3 mph), the vehicle speed is stored and constant speed control is maintained.

(h) + (ACCELERATION) CONTROL (Constant speed control mode)

The throttle valve motor of the throttle position sensor and motor is instructed by the ECM to open the throttle valve when the cruise control main switch is pushed to +RES and held in that position while the constant speed control mode is in operation. When the cruise control main switch is released from +RES, the vehicle speed is stored and constant speed control is maintained.

(i) + (ACCELERATION) CONTROL (Vehicle-to-vehicle distance control mode)

When the cruise control main switch is pushed to +RES and held in that position while the vehicle-to-vehicle distance control mode is in operation, the stored vehicle speed increases by approximately 5 km/h or 5 mph per second. Pushing the cruise control main switch to +RES while following a vehicle in front with the vehicle-to-vehicle distance control mode on does not increase the actual vehicle speed, but changes only the stored vehicle speed.

(j) TAP-UP CONTROL (Vehicle-to-vehicle distance control mode)

When tapping up the cruise control main switch to +RES (approximately 0.6 seconds) while the vehicle-to-vehicle distance control mode is in operation, the stored vehicle speed increases each time by approximately 5 km/h or 5 mph.

(k) TAP-UP CONTROL (Constant speed control mode)

When tapping up the cruise control main switch to +RES (approximately 0.6 seconds) while the constant speed control mode is in operation, the stored vehicle speed increases each time by approximately 1.6 km/h (1 mph). However, when the difference between the driving and the stored vehicle speeds is more than 5 km/h (3 mph), the stored vehicle speed will not be changed.

(l) MANUAL CANCEL CONTROL

Performing any of the following cancels the cruise control system while it is in operation (the stored vehicle speed in the ECM is maintained).

Depressing the brake pedal.

Moving the shift lever from D to N.

With the shift lever in S, selecting the S1, S2 or S3 range.

Pulling the cruise control main switch to CANCEL.

Turning the cruise control main switch off (the stored vehicle speed in the ECM is not maintained).

Driving the vehicle while the VSC system is operating.

(m) RES (RESUME) CONTROL

If the cruise control operation was canceled with the stop light switch or the CANCEL switch, and if the driving speed is within the set speed range, pushing the cruise control main switch to +RES restores the vehicle speed memorized at the time of cancellation, and maintains constant speed control.

5. BRAKE CONTROL

The distance control ECU determines the distance to the vehicle in front, relative speed, target decreasing speed and deceleration rate. Based on the data, the ECU may transmit a brake demand signal to the master cylinder solenoid (skid control ECU) via the ECM.

6. DOWN SHIFT CONTROL

When the dynamic radar cruise control system is in operation, the gear may down-shift on an uphill road. After the gear is shifted down, if the system determines that the uphill inclination has become smaller based on the throttle valve opening angle, the gear automatically returns.

7. AUTO CANCEL (FAIL-SAFE)

This system has an automatic cancellation function (fail-safe) Fail-Safe Chart.