Operation CHARM: Car repair manuals for everyone.
Manuals through 2025 now available!

Our trusted friends have launched a new website named LEMON, which has newer manuals. It also contains all the CHARM manuals.

LEMON is the spiritual successor to CHARM, I recommend you try it!

Link: lemon-manuals.la or lemon-manuals.org.ua

(Some people have issue connecting. LEMON is investigating. For now, use Firefox or change your DNS server)

Or, hide this message: temporarily or permanently

Installation





AB60F AUTOMATIC TRANSMISSION / TRANSAXLE: PARK / NEUTRAL POSITION SWITCH: INSTALLATION

1. INSTALL PARK/NEUTRAL POSITION SWITCH ASSEMBLY

(a) Install the switch to the manual valve shaft.

(b) Temporarily install the bolt.





(c) Install a new lock washer and the nut.

Torque : 6.9 Nm (70 kgf-cm, 61 in-lbf)





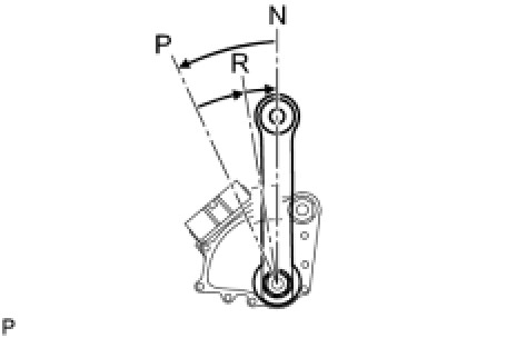
(d) Temporarily install the control shaft lever RH.





(e) Turn the control shaft lever RH counterclockwise until it stops, and then turn it clockwise 2 notches to set it to the N position.





(f) Remove the control shaft lever RH.

(g) Align the groove with the neutral basic line.





(h) Hold the switch in the position described above and tighten the bolt.

Torque : 13 Nm (133 kgf-cm, 10 ft-lbf)

(i) Using a screwdriver, bend the tabs of the lock washer.





(j) Install the transmission control rod bush and collar to the transmission control shaft lever RH.

(k) Install the transmission control shaft lever RH with the spring washer and nut.

Torque : 16 Nm (163 kgf-cm, 12 ft-lbf)





(l) Connect the switch connector.

2. CONNECT FLOOR SHIFT GEAR SHIFTING ROD SUB-ASSEMBLY





(a) Connect the shifting rod to the transmission control shaft lever RH with the pin.

(b) Install a new clip.

3. CONNECT CABLE TO NEGATIVE BATTERY TERMINAL

4. INSPECT SHIFT LEVER POSITION Initial Inspection and Diagnostic Overview

5. INSPECT PARK/NEUTRAL POSITION SWITCH ASSEMBLY

(a) Inspect the switch Initial Inspection and Diagnostic Overview.