Operation CHARM: Car repair manuals for everyone.
Manuals through 2025 now available!

Our trusted friends have launched a new website named LEMON, which has newer manuals. It also contains all the CHARM manuals.

LEMON is the spiritual successor to CHARM, I recommend you try it!

Link: lemon-manuals.la or lemon-manuals.org.ua

(Some people have issue connecting. LEMON is investigating. For now, use Firefox or change your DNS server)

Or, hide this message: temporarily or permanently

Replacement





2GR-FE LUBRICATION: OIL AND OIL FILTER: REPLACEMENT

CAUTION:
* Prolonged and repeated contact with engine oil will result in the removal of natural oils from the skin, leading to dryness, irritation and dermatitis. In addition, used engine oil contains potentially harmful contaminants which may cause skin cancer.
* Precautions should be taken when replacing engine oil to minimize the risk of your skin making contact with used engine oil. Protective clothing and gloves that cannot be penetrated by oil should be worn. The skin should be washed with soap and water, or use waterless hand cleaner, to remove any used engine oil thoroughly. Do not use gasoline, thinners, or solvents.
* In order to preserve the environment, used oil and used oil filters must be disposed of at designated disposal sites.
1. DRAIN ENGINE OIL

(a) Remove the oil filler cap.

(b) Remove the oil pan drain plug and gasket, and drain the oil into a container.

(c) Clean the oil pan drain plug.

(d) Install the oil pan drain plug with a new gasket.

Torque : 40 Nm (408 kgf-cm, 30 ft-lbf)

2. REMOVE OIL FILTER ELEMENT

(a) Connect the hose with an inside diameter of 15 mm (0.591 in.) to the pipe.





Text in Illustration





(b) Remove the oil filter drain plug from the oil filter cap.





(c) Insert the pipe with the hose into the oil filter cap.





Text in Illustration





NOTICE:
Be sure to insert the pipe with the O-ring installed on the oil filter cap side.

HINT
Place the hose end into a container before draining oil from the hose.

(d) Make sure that oil is completely drained, and remove the pipe and O-ring.





HINT
Be sure to turn the pipe in the direction of the arrow to remove it.

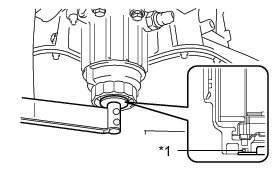
(e) Using SST, remove the oil filter cap.





SST : 09228-06501

(f) Remove the oil filter element and O-ring from the oil filter cap.





Text in Illustration





NOTICE:
Do not use any tools to remove the O-ring in order to prevent the cap from being damaged. Be sure to remove it by hand.

3. INSTALL OIL FILTER ELEMENT

(a) Clean the inside of the oil filter cap, threads and O-ring groove.





Text in Illustration





(b) Apply a light coat of engine oil to a new O-ring and install it to the oil filter cap.

NOTICE:
Make sure that the O-ring does not get twisted on the groove.

(c) Install a new oil filter element to the oil filter cap.

(d) Remove all dirt and foreign matter from the installation surface and the inside of the cap on the engine side.

(e) Apply a light coat of engine oil to the O-ring again and install the oil filter cap.

NOTICE:
Make sure that the O-ring does not get caught between the parts.

(f) Using SST, install the oil filter cap.





SST : 09228-06501

Torque : 25 Nm (255 kgf-cm, 18 ft-lbf)

NOTICE:
Make sure that there is no clearance between the parts after tightening the oil filter cap.

(g) Apply a light coat of engine oil to a new O-ring and install it to the oil filter cap.





Text in Illustration





NOTICE:
Remove all dirt and foreign matter from the installation surface.

(h) Install the oil filter drain plug to the oil filter cap.

Torque : 13 Nm (127 kgf-cm, 10 ft-lbf)

NOTICE:
Make sure that the O-ring does not get caught between the parts.

4. ADD ENGINE OIL

(a) Add clean engine oil and install the oil filler cap.

Standard Oil Grade (For USA)





Standard Oil Grade (For Canada)





Standard Capacity (w/ Oil Cooler)





Standard Capacity (w/o Oil Cooler)





5. INSPECT FOR ENGINE OIL LEAK

(a) Start the engine. Check for engine oil leaks from the connected parts of the oil filter cap and oil filter drain plug.