Operation CHARM: Car repair manuals for everyone.
Manuals through 2025 now available!

Our trusted friends have launched a new website named LEMON, which has newer manuals. It also contains all the CHARM manuals.

LEMON is the spiritual successor to CHARM, I recommend you try it!

Link: lemon-manuals.la or lemon-manuals.org.ua

(Some people have issue connecting. LEMON is investigating. For now, use Firefox or change your DNS server)

Or, hide this message: temporarily or permanently

Installation





U660E AUTOMATIC TRANSMISSION / TRANSAXLE: PARK / NEUTRAL POSITION SWITCH: INSTALLATION

1. INSTALL PARK/NEUTRAL POSITION SWITCH ASSEMBLY

(a) Move the shift lever to N.

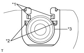
(b) Align the protrusions of the park/neutral position switch.





Text in Illustration





(c) Install the park/neutral position switch to the control shaft with the 2 bolts.





Torque : 5.4 Nm (55 kgf-cm, 48 in-lbf)

NOTICE:
* Before installing the park/neutral position switch, remove any dirt or rust on the installation portion of the control shaft. Be sure to install the switch straight along the shaft while being careful not to deform the plate spring that supports the shaft. If the plate spring is deformed, the park/neutral position switch cannot be reinstalled correctly.
* After installing the park/neutral position switch, confirm that the 2 protrusions on the switch are aligned.

(d) Install the control shaft lever to the control shaft with the nut and washer.





Torque : 13 Nm (130 kgf-cm, 9 ft-lbf)

(e) Connect the connector to the park/neutral position switch.

2. CONNECT TRANSMISSION CONTROL CABLE ASSEMBLY

(a) Install a new clip to the control cable bracket.

(b) Install the control cable to the control cable bracket.





Text in Illustration





NOTICE:
* Make sure that the claws A on the clip are securely fit into the bracket holes.
* Make sure that the cable is securely installed inside of the claws B of the clip.

(c) Connect the transmission control cable to the control shaft lever with the nut.





Torque : 12 Nm (122 kgf-cm, 9 ft-lbf)

NOTICE:
Before connecting the transmission control cable assembly, check that the park/neutral position switch and the shift lever are in neutral.

3. INSTALL AIR CLEANER ASSEMBLY Installation

4. INSTALL INLET NO. 1 AIR CLEANER Installation

5. INSTALL INLET NO. 2 AIR CLEANER Installation

6. INSTALL BATTERY Installation

7. CONNECT CABLE TO NEGATIVE BATTERY TERMINAL

NOTICE:
When disconnecting the cable, some systems need to be initialized after the cable is reconnected Repair Instruction - Initialization.

8. INSTALL V-BANK COVER SUB-ASSEMBLY Installation

9. INSTALL OUTER COWL TOP PANEL SUB-ASSEMBLY Installation

10. INSTALL WINDSHIELD WIPER MOTOR AND LINK ASSEMBLY

HINT
See the steps from "Install Windshield Wiper Motor and Link Assembly" through "Install Engine Room Side Cover LH" Installation.

11. INSPECT PARK/NEUTRAL POSITION SWITCH ASSEMBLY OPERATION Inspection

12. INSPECT SHIFT LEVER POSITION Adjustments

13. ADJUST SHIFT LEVER POSITION Adjustments