Operation CHARM: Car repair manuals for everyone.
Manuals through 2025 now available!

Our trusted friends have launched a new website named LEMON, which has newer manuals. It also contains all the CHARM manuals.

LEMON is the spiritual successor to CHARM, I recommend you try it!

Link: lemon-manuals.la or lemon-manuals.org.ua

(Some people have issue connecting. LEMON is investigating. For now, use Firefox or change your DNS server)

Or, hide this message: temporarily or permanently

Part 2





U660E AUTOMATIC TRANSAXLE: AUTOMATIC TRANSAXLE UNIT: DISASSEMBLY Continued

33. INSPECT PLANETARY SUN GEAR SUB-ASSEMBLY Transaxle Unit

34. REMOVE INPUT SHAFT SUB-ASSEMBLY

(a) Remove the input shaft from the oil pump assembly.





(b) Remove the thrust needle roller bearing and thrust needle roller race from the input shaft.





(c) Using a screwdriver, remove the 3 input shaft oil seal rings from the input shaft.

35. REMOVE UNDERDRIVE PLANETARY SUN GEAR

(a) Remove the underdrive planetary sun gear from the oil pump assembly.





(b) Remove the thrust needle roller bearing from the oil pump assembly.

36. REMOVE NO. 1 BRAKE DISC

(a) Using a screwdriver, remove the 2 snap rings and brake snap ring stopper from the oil pump assembly.





(b) Remove the flange, 4 brake discs, and 4 brake plates from the oil pump assembly.





37. INSPECT NO. 1 BRAKE DISC Transaxle Unit

38. REMOVE 2ND BRAKE PISTON RETURN SPRING SUB-ASSEMBLY

(a) Remove the 3 2nd brake piston return springs from the oil pump assembly.





39. INSPECT 2ND BRAKE PISTON RETURN SPRING SUB-ASSEMBLY Transaxle Unit

40. REMOVE NO. 1 BRAKE PISTON

(a) Holding the oil pump assembly by hand, apply compressed air (392 kPa, 4.0 kgf/cm2, 57 psi) to the oil pump assembly to remove the No. 1 brake piston.





(b) Using a screwdriver, remove the 2 O-rings from the No. 1 brake piston.





41. REMOVE FRONT DIFFERENTIAL CASE

(a) Remove the differential case sub-assembly from the transaxle case.





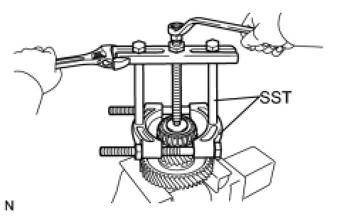
42. REMOVE COUNTER DRIVE GEAR NUT

(a) Using a SST and hammer, unstake the nut.





SST : 09930-00010

(b) Turn the manual valve lever 2 notches counterclockwise to set it in the P position as shown in the illustration.





(c) Using SST, remove the nut from the planetary gear assembly.





SST : 09387-00130

43. REMOVE COUNTER DRIVEN GEAR

(a) Turn the manual valve lever 2 notches clockwise to set it in the N position as shown in the illustration.





(b) Remove the counter driven gear sub-assembly from the transaxle case.





44. REMOVE COUNTER DRIVEN GEAR FRONT TAPERED ROLLER BEARING

(a) Using SST, remove the counter driven gear front tapered roller bearing from the counter driven gear sub-assembly.





SST : 09950-00020

SST : 09950-00030

SST : 09950-60010

09951-00400

45. REMOVE COUNTER DRIVEN GEAR REAR TAPERED ROLLER BEARING

(a) Using SST, remove the counter driven gear rear tapered roller bearing and differential drive pinion from the counter driven gear.





SST : 09950-40011

09951-04010

09952-04010

09954-04010

09953-04020

09955-04071

09957-04010

09958-04011

SST : 09950-60010

09951-00320

46. REMOVE PAWL SHAFT CLAMP

(a) Remove the bolt and pawl shaft clamp from the transaxle case.





47. REMOVE PAWL STOPPER PLATE

(a) Remove the 2 bolts and pawl stopper plate from the transaxle case.





48. REMOVE PARKING LOCK SLEEVE

(a) Remove the parking lock sleeve from the transaxle case.





49. REMOVE PARKING LOCK PAWL

(a) Remove the spring, parking lock pawl pin, parking lock pawl shaft, and parking lock pawl from the transaxle case.





50. REMOVE COUNTER DRIVEN GEAR REAR TAPERED ROLLER BEARING OUTER RACE

(a) Using SST, remove the counter driven gear rear tapered roller bearing outer race from the transaxle case.





SST : 09308-00010

51. REMOVE ONE-WAY CLUTCH ASSEMBLY

(a) Using a screwdriver, remove the snap ring from the transaxle case.





(b) Remove the one-way clutch assembly with planetary ring gear from the transaxle case.





(c) Remove the thrust needle roller bearing from the transaxle case.

52. INSPECT ONE-WAY CLUTCH ASSEMBLY Transaxle Unit

53. REMOVE PLANETARY RING GEAR

(a) Remove the planetary ring gear from the one-way clutch assembly.





54. REMOVE PLANETARY RING GEAR FLANGE

(a) Using a screwdriver, remove the snap ring from the planetary ring gear.





(b) Remove the planetary ring gear flange from the planetary ring gear.

55. REMOVE NO. 2 BRAKE DISC

(a) Using a screwdriver, remove the snap ring from the transaxle case.





(b) Remove the brake flange, 5 brake discs, and 5 brake plates from the transaxle case.





56. INSPECT NO. 2 BRAKE DISC Transaxle Unit

57. REMOVE 1ST AND REVERSE BRAKE RETURN SPRING SUB-ASSEMBLY

(a) Using a screwdriver, remove the snap ring from the transaxle case.





(b) Remove the 1st and reverse brake return spring from the transaxle case.





58. INSPECT 1ST AND REVERSE BRAKE RETURN SPRING SUB-ASSEMBLY Transaxle Unit

59. REMOVE NO. 2 BRAKE PISTON

(a) Apply compressed air (392 kPa, 4.0 kgf/cm2, 57 psi) to the ATF hole indicated by the arrow to remove the No. 2 brake piston assembly from the transaxle case.





(b) Using a screwdriver, remove the 2 O-rings from the No. 2 brake piston.





60. REMOVE PLANETARY GEAR ASSEMBLY

(a) Using SST and a press, remove the planetary gear assembly from the transaxle case.





SST : 09950-60010

09951-00580

SST : 09950-70010

09951-07100

61. REMOVE COUNTER DRIVE GEAR

(a) Using SST and a press, remove the counter drive gear and bearing inner race (rear side) from the transaxle case.





SST : 09950-60020

09951-00710

SST : 09950-70010

09951-07100

(b) As shown in the illustration, tighten the 3 bolts evenly and leave a clearance of approximately 20.0 mm (0.797 in.) between the counter drive gear and inner race.





(c) Using SST, remove the bearing inner race (front side) from the counter drive gear.





SST : 09950-00020

SST : 09950-00030

SST : 09950-60020

09951-00710

62. REMOVE NO. 3 BRAKE PISTON

(a) Using a screwdriver, remove the snap ring from the transaxle case.





(b) Remove the brake piston return spring from the transaxle case.





(c) Remove the No. 3 brake piston from the transaxle case.

63. REMOVE MANUAL DETENT SPRING SUB-ASSEMBLY

(a) Remove the bolt, cover, and manual detent spring sub-assembly from the transaxle case.





64. REMOVE PARKING LOCK ROD SUB-ASSEMBLY

(a) Remove the parking lock rod sub-assembly from the parking lock lever sub-assembly.





HINT
Align the dial with the notches on the parking lock lever sub-assembly to remove the parking lock rod sub-assembly.

65. REMOVE MANUAL VALVE LEVER SHAFT

(a) Using needle-nose pliers, remove the manual valve lever shaft retainer spring from the transaxle case.





(b) Using a screwdriver, slide the spacer of the manual valve lever sub-assembly.





(c) Using a pin punch (3 mm) and hammer, drive out the slotted spring pin from the manual valve lever sub-assembly.





HINT
Slowly drive out the pin so that it will not fall into the transaxle case.

(d) Using a screwdriver, slide the spacer of the parking lock lever sub-assembly.





(e) Using a pin punch (3 mm) and hammer, drive out the slotted spring pin from the parking lock lever sub-assembly.





HINT
Slowly drive out the pin so that it will not fall into the transaxle case.

(f) Remove the manual valve lever shaft, manual valve lever sub-assembly, parking lock lever sub-assembly and 2 spacers from the transaxle case.





66. REMOVE MANUAL VALVE LEVER SHAFT OIL SEAL

(a) Using a screwdriver, remove the manual valve lever shaft oil seal from the transaxle case.