Operation CHARM: Car repair manuals for everyone.
Manuals through 2025 now available!

Our trusted friends have launched a new website named LEMON, which has newer manuals. It also contains all the CHARM manuals.

LEMON is the spiritual successor to CHARM, I recommend you try it!

Link: lemon-manuals.la or lemon-manuals.org.ua

(Some people have issue connecting. LEMON is investigating. For now, use Firefox or change your DNS server)

Or, hide this message: temporarily or permanently

Part 2





U660E AUTOMATIC TRANSAXLE: AUTOMATIC TRANSAXLE UNIT: REASSEMBLY Continued

31. INSPECT CLEARANCE OF NO. 1 BRAKE Transaxle Unit

32. INSTALL UNDERDRIVE PLANETARY SUN GEAR

(a) Coat the thrust needle roller bearing with ATF, and install it to the oil pump assembly.





Bearing diameter: mm (in.)





NOTICE:
Install the thrust needle roller bearing properly so that the temper colored side of the race will be visible.

(b) Install the underdrive planetary sun gear to the oil pump assembly.

33. INSTALL INPUT SHAFT SUB-ASSEMBLY

(a) Coat the 3 input shaft oil seal rings with ATF and install them to the input shaft.





NOTICE:
Do not expand the gap of the oil seal ring too much.

(b) Coat the thrust needle roller bearing and thrust needle roller race with ATF, and install them on the oil pump assembly.

Bearing diameter: mm (in.)





NOTICE:
Be sure to install the thrust needle roller bearing in the correct direction.

(c) Install the input shaft to the oil pump assembly.





34. INSTALL PLANETARY SUN GEAR SUB-ASSEMBLY

(a) Using a snap ring expander, install the snap ring to the underdrive planetary gear assembly.





(b) Using a snap ring expander, install the front planetary sun gear sub-assembly to the underdrive planetary gear assembly with the snap ring expanded.

35. INSTALL UNDERDRIVE PLANETARY RING GEAR

(a) Install the underdrive planetary ring gear to the underdrive planetary gear assembly.





(b) Using needle-nose pliers, install the snap ring to the underdrive planetary ring gear.

NOTICE:
Confirm that the snap ring is secured in the groove of the underdrive planetary ring gear.

36. INSTALL NO. 3 BRAKE HUB

(a) Coat the thrust needle roller bearing with ATF and install it on the underdrive planetary gear assembly.





Bearing diameter: mm (in.)





NOTICE:
Install the thrust needle roller bearing properly so that the temper colored side of the race will be visible.

(b) Coat the race with MP grease and install it to the No. 3 brake hub.





(c) Install the No. 3 brake hub to the underdrive planetary gear assembly.





37. INSTALL UNDERDRIVE PLANETARY GEAR ASSEMBLY

(a) Install the underdrive planetary gear assembly to the oil pump assembly.





38. INSTALL NO. 3 BRAKE DISC

(a) Install the 2 brake flanges, 3 brake discs, and 2 brake plates to the oil pump assembly.





NOTICE:
Make sure that the discs, plates, and flange are installed in the correct order.

(b) Using a screwdriver, install the snap ring to the oil pump assembly.





NOTICE:
* Confirm the snap ring is fixed in the groove of the oil pump.
* Be sure to align the opening ends of the snap ring with the protrusions on the brake piston return spring as shown in the illustration.

39. INSPECT CLEARANCE OF NO. 3 BRAKE

40. INSTALL FRONT OIL PUMP AND GEAR BODY SUB-ASSEMBLY

(a) Coat the O-ring with ATF and install it to the transaxle case.





(b) Coat the thrust needle roller bearing and thrust needle roller race with ATF and install them on the underdrive planetary gear assembly.

Bearing and race diameter: mm (in.)





NOTICE:
Install the thrust needle roller bearing properly so that the temper colored side of the race will be visible.

(c) Coat the O-ring with ATF and install it to the oil pump.





(d) Install the oil pump assembly to the transaxle case with the 7 bolts.

Torque : 23 Nm (234 kgf-cm, 17 ft-lbf)

41. INSTALL DIFFERENTIAL GEAR LUBE APPLY TUBE

(a) Install the differential gear lube apply tube to the transaxle housing.





NOTICE:
Insert the differential lube apply tube into the transaxle case until it makes contact with the stopper.

(b) Install the apply tube clamp to the differential gear lube apply tube with the bolt.

Torque : 23 Nm (234 kgf-cm, 17 ft-lbf)

NOTICE:
There should be clearance between the differential lube apply tube and apply tube clamp.

42. INSTALL COUNTER DRIVEN GEAR FRONT TAPERED ROLLER BEARING OUTER RACE

(a) Install the shim to the transaxle housing.





(b) Using SST, install a new counter driven gear front tapered roller bearing outer race to the transaxle housing.

SST : 09950-60020

09951-00810

SST : 09950-70010

09951-07100

NOTICE:
Be sure to install the counter driven gear front tapered roller bearing outer race so that there is no clearance between the shim and the transaxle housing.

43. INSTALL TRANSAXLE HOUSING

(a) Remove packing material from the contact surface between the transaxle housing and case.

NOTICE:
Make sure that there is no ATF on the contact surface.

(b) Apply FIPG to the transaxle case.





FIPG:

Toyota Genuine Seal Packing 1281, Three Bond 1281 or equivalent.

NOTICE:
Apply a bead of FIPG (width 1.2 mm (0.047 in.)) along the sealing surface.

(c) Install the transaxle housing to the transaxle case with the 20 bolts.





Bolt A - Torque : 31 Nm (316 kgf-cm, 23 ft-lbf)

Bolt B - Torque : 23 Nm (234 kgf-cm, 17 ft-lbf)

44. ADJUST COUNTER DRIVEN GEAR PRELOAD

(a) Using SST and a torque wrench, measure the turning torque of the counter driven gear while rotating SST at 10 rpm.





SST : 09564-33010

Turning torque:

Differential side bearing preload 3.29 to 6.07 N*m (33.53 to 61.86 kgf*cm, 2.42 to 4.46 ft.*lbf)

If the turning torque is not within the specified range, refer to the table below to select a shim of the counter driven gear front tapered roller bearing outer race so that the turning torque is within the specified range.





45. INSTALL NO. 1 CLUTCH DISC

(a) Install the clutch flange, 4 clutch discs, and 4 clutch plates to the direct multiple disc clutch assembly.





NOTICE:
Make sure that the flange, discs, and plates are installed in the correct order.

(b) Using a screwdriver, install the 2 snap rings to the direct multiple disc clutch assembly.





NOTICE:
Confirm that the snap ring is secured in the groove of the direct multiple disc clutch assembly.

46. INSPECT CLEARANCE OF NO. 1 CLUTCH DISC Transaxle Unit

47. INSTALL REAR PLANETARY SUN GEAR ASSEMBLY

(a) Coat the thrust needle roller bearing and thrust needle roller race with ATF, and install them to the direct multiple disc clutch assembly.





Bearing and race diameter: mm (in.)





NOTICE:
Install the thrust needle roller bearing properly so that the temper colored side of the race will be visible.

(b) Install the rear planetary sun gear to the direct multiple disc clutch assembly.





(c) Using a snap ring expander, install the snap ring to the direct multiple disc clutch assembly.





48. INSTALL NO. 2 CLUTCH DISC

(a) Install the clutch flange, 3 clutch discs, and 3 clutch plates to the direct multiple disc clutch assembly.





NOTICE:
Make sure that the flange, discs, and plates are installed in the correct order.

49. INSTALL DIRECT MULTIPLE DISC CLUTCH SNAP RING

(a) Coat a new O-ring with ATF and install it to the direct multiple disc clutch assembly.





(b) Coat a new intermediate shaft oil seal ring with ATF and install it to the intermediate shaft.

(c) Install the No. 2 direct clutch piston to the direct multiple disc clutch assembly.





NOTICE:
Be sure to engage the claws on the direct multiple disc clutch assembly to the grooves on the No. 2 direct clutch piston.

(d) Using a screwdriver, install the snap ring to the direct multiple disc clutch assembly.





NOTICE:
Position the opening of the snap ring as shown in the illustration.

50. INSPECT CLEARANCE OF NO. 2 CLUTCH DISC Transaxle Unit

51. INSTALL REAR MULTIPLE DISC CLUTCH ASSEMBLY

(a) Coat the thrust needle roller bearing with ATF and install it on the transaxle case.





Bearing diameter: mm (in.)





(b) Install the direct multiple disc clutch assembly to the transaxle case.

(c) Clean the contact surface of the transaxle case and transaxle rear cover.

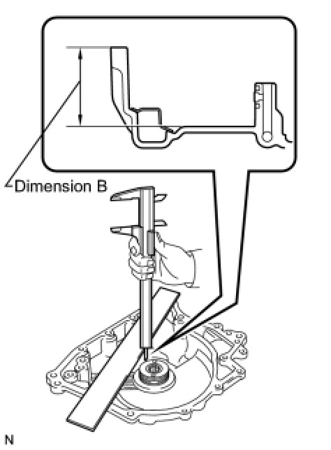
(d) As shown in the illustration, place a straight edge on the multiple direct clutch drum and measure the distance between the transaxle case and the straight edge using vernier calipers (Dimension A).





(e) Using vernier calipers and a straight edge, measure the distance shown in the illustration. (Dimension B)





(f) Calculate the end play value using the following formula:

End play = Dimension B - Dimension A

End play:

0.007 to 1.113 mm (0.0003 to 0.0438 in.)

52. INSTALL TRANSAXLE REAR COVER SUB-ASSEMBLY

(a) Using SST and a hammer, install the needle roller bearing into the transaxle rear cover.





SST : 09950-60010

09951-00220

SST : 09950-70010

09951-07100

Press installation depth:

21.5 to 21.9 mm (0.8464 to 08622 in.)

(b) Apply adhesive to the 2 "TORX" screws.

Adhesive:

Toyota Genuine Adhesive 1324, Three Bond 1324 or equivalent

(c) Using a "TORX" wrench (T30), install the transaxle rear cover plate to the transaxle rear cover with the 2 "TORX" screws.





Torque : 7.5 Nm (76 kgf-cm, 66 in-lbf)

(d) Coat the thrust needle roller bearing and thrust needle roller race with ATF and install it on the transaxle case.





Bearing diameter: mm (in.)





(e) Coat the 2 new oil seals with ATF and install them to the transaxle rear cover.

(f) Coat the 3 O-rings with ATF and install them to the transaxle case.





NOTICE:
Ensure that the 3 O-rings are not twisted.

(g) Remove packing material from the contact surfaces between the transaxle rear cover and transaxle case.





NOTICE:
Make sure that there is no ATF on the contact surface.

FIPG:

Toyota Genuine Seal Packing 1281, Three Bond 1281 or equivalent.

(h) Install the transaxle rear cover to the transaxle case with the 14 bolts.





Bolt A - Torque : 23 Nm (234 kgf-cm, 17 ft-lbf)

Bolt B - Torque : 17 Nm (173 kgf-cm, 12 ft-lbf)

(i) Install a new gasket to the refill plug.





(j) Install the refill plug to the transaxle rear cover.

Torque : 49 Nm (500 kgf-cm, 36 ft-lbf)

(k) Coat 2 new O-rings with ATF and install them to the 2 No. 1 automatic transaxle case plugs.





(l) Install the 2 No. 1 automatic transaxle case plugs to the transaxle rear cover.

Torque : 7.4 Nm (75 kgf-cm, 65 in-lbf)

53. INSPECT INPUT SHAFT END PLAY Transaxle Unit

54. INSTALL TRANSAXLE CASE GASKET

(a) Coat the 2 gaskets with ATF and install them to the transaxle case.





55. INSTALL TRANSMISSION VALVE BODY ASSEMBLY

(a) Install the valve body assembly to the transaxle case with the 11 bolts.





Torque : 11 Nm (112 kgf-cm, 8 ft-lbf)





NOTICE:
* When installing the transmission valve body assembly, be careful not to allow the transmission revolution sensor and transaxle case to interfere each other.
* Be sure to insert the pin of the manual valve lever into the groove on the end of the manual valve.
* First, temporarily tighten the bolts marked by (*1) in the illustration because they are positioning bolts.

56. INSTALL VALVE BODY OIL STRAINER ASSEMBLY

(a) Coat a new O-ring with ATF and install it to the oil strainer assembly.





NOTICE:
Ensure that the O-ring is not twisted or pinched.

(b) Install the oil strainer assembly to the valve body assembly with the 2 bolts.





Torque : 11 Nm (112 kgf-cm, 8 ft-lbf)

57. INSTALL AUTOMATIC TRANSAXLE OIL PAN SUB-ASSEMBLY

(a) Install the 2 magnets in the automatic transaxle oil pan sub-assembly.





(b) Apply adhesive to the 18 bolts.

Adhesive:

Toyota Genuine Adhesive 1344, Three Bond 1344 or equivalent.

(c) Install the automatic transaxle oil pan sub-assembly and a new gasket to the transaxle case with the 18 bolts.





Torque : 7.0 Nm (71 kgf-cm, 62 in-lbf)

NOTICE:
* In order to ensure proper sealing of the transmission pan bolts, apply adhesive to the bolts and install them within 10 minutes of adhesive application.
* Completely remove any oil or grease from the contact surface of the transaxle case and oil pan sub-assembly with the gasket before installation.

(d) Install the No. 1 oil filler tube from the automatic transaxle assembly.





(e) Install the overflow plug and a new gasket to the oil pun sub-assembly.





Torque : 40 Nm (408 kgf-cm, 30 ft-lbf)

58. INSTALL NO. 1 TRANSAXLE CASE PLUG

(a) Install the 3 gaskets to the 3 hexagon bolts.

(b) Apply adhesive to the 3 hexagon bolts.

Adhesive:

Toyota Genuine Adhesive 1344, Three Bond 1344 or equivalent.

NOTICE:
In order to ensure proper sealing of the hexagon bolts, apply adhesive to the bolts and install them within 10 minutes of adhesive application.

(c) Install the 3 hexagon bolts to the transaxle housing with the gaskets.





Torque : 29 Nm (296 kgf-cm, 21 ft-lbf)

(d) Coat 3 new O-rings with the ATF and install them to the 3 No. 1 transaxle case plugs.





(e) Install the 3 No. 1 transaxle case plugs to the transaxle case.

Torque : 7.4 Nm (75 kgf-cm, 65 in-lbf)

59. INSTALL OIL COOLER TUBE UNION (OUTLET OIL COOLER UNION)

(a) Coat a new O-ring with ATF and install it to the oil cooler tube union (outlet oil cooler union).





(b) Install the oil cooler tube union (outlet oil cooler union) to the transaxle case as shown in the illustration.

Torque : 27 Nm (275 kgf-cm, 20 ft-lbf)

60. INSTALL OIL COOLER TUBE UNION (INLET OIL COOLER UNION)

(a) Coat a new O-ring with ATF and install it to the oil cooler tube union (inlet oil cooler union).





(b) Install the oil cooler tube union (inlet oil cooler union) to the transaxle case.

Torque : 27 Nm (275 kgf-cm, 20 ft-lbf)

61. INSTALL PARK/NEUTRAL POSITION SWITCH ASSEMBLY

(a) Align the protrusions of the park/neutral position switch.





(b) Install the park/neutral position switch to the control shaft with the 2 bolts.





Torque : 5.4 Nm (55 kgf-cm, 48 in-lbf)

NOTICE:
* Before installing the park/neutral position switch, remove any dirt or rust on the installation portion of the control shaft. Be sure to install the switch straight along the shaft while being careful not to deform the plate spring that supports the shaft. If the plate spring is deformed, the park/neutral switch cannot be reinstalled correctly.
* After installing the park/neutral position switch, confirm that the 2 protrusions on the switch are aligned.

(c) Install the control shaft lever to the control shaft with the washer and nut.





Torque : 13 Nm (130 kgf-cm, 9 ft-lbf)

62. INSTALL BREATHER PLUG HOSE

(a) Install a new O-ring to the breather plug.





(b) Install the breather plug to the breather plug hose.

(c) Install the breather plug cap to the breather plug hose.

(d) Install the breather plug hose to the transaxle case.