Operation CHARM: Car repair manuals for everyone.
Manuals through 2025 now available!

Our trusted friends have launched a new website named LEMON, which has newer manuals. It also contains all the CHARM manuals.

LEMON is the spiritual successor to CHARM, I recommend you try it!

Link: lemon-manuals.la or lemon-manuals.org.ua

(Some people have issue connecting. LEMON is investigating. For now, use Firefox or change your DNS server)

Or, hide this message: temporarily or permanently

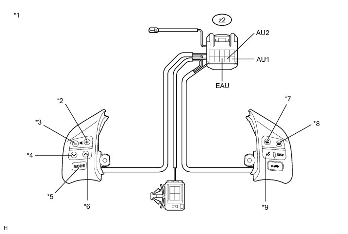
Steering Pad Switch Circuit





NAVIGATION / MULTI INFO DISPLAY: NAVIGATION SYSTEM (for HDD): Steering Pad Switch Circuit
- Steering Pad Switch Circuit

DESCRIPTION

This circuit sends an operation signal from the steering pad switch assembly to the display and navigation module display.

If there is an open in the circuit, the navigation system cannot be operated using the steering pad switch assembly.

If there is a short in the circuit, the resulting condition is the same as if the switch were continuously pressed. Therefore, the display and navigation module display cannot be operated using the steering pad switch assembly, and the display and navigation module display itself cannot function.

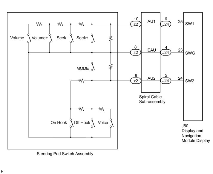
WIRING DIAGRAM





INSPECTION PROCEDURE

NOTICE:
The vehicle is equipped with a Supplemental Restraint System (SRS). Before servicing (including removal or installation of parts), be sure to read Precaution for Supplemental Restraint System Service Precautions.

PROCEDURE

1. CHECK HARNESS AND CONNECTOR (STEERING PAD SWITCH SIGNAL)

(a) Disconnect the J50 display and navigation module display connector.





(b) Measure the resistance according to the value(s) in the table below.

Standard Resistance:





Text in Illustration





NG -- CHECK HARNESS AND CONNECTOR

OK -- PROCEED TO NEXT SUSPECTED AREA SHOWN IN PROBLEM SYMPTOMS TABLE Problem Symptoms Table

2. CHECK HARNESS AND CONNECTOR

(a) Disconnect the J50 display and navigation module display connector.





(b) Disconnect the J24 spiral cable sub-assembly connector.





(c) Measure the resistance according to the value(s) in the table below.

Standard Resistance:





Text in Illustration





NG -- REPAIR OR REPLACE HARNESS OR CONNECTOR
OK -- Continue to next step.

3. INSPECT SPIRAL CABLE SUB-ASSEMBLY

(a) Disconnect the steering pad switch assembly and spiral cable sub-assembly connectors.





(b) Measure the resistance according to the value(s) in the table below.

Standard Resistance:





NOTICE:
The spiral cable sub-assembly is an important part of the SRS airbag system. Incorrect removal or installation of the spiral cable sub-assembly may prevent the airbag from deploying. Refer to the pages shown in the brackets.

HINT
* Removal Removal
* Installation Installation

Text in Illustration





NG -- REPLACE SPIRAL CABLE SUB-ASSEMBLY Removal
OK -- Continue to next step.

4. INSPECT STEERING PAD SWITCH ASSEMBLY

(a) Disconnect the z2 steering pad switch assembly connector.





(b) Measure the resistance according to the value(s) in the table below.

Standard Resistance:





Text in Illustration





NG -- REPLACE STEERING PAD SWITCH ASSEMBLY Removal

OK -- USE SIMULATION METHOD TO CHECK How To Proceed With Troubleshooting