Operation CHARM: Car repair manuals for everyone.
Manuals through 2025 now available!

Our trusted friends have launched a new website named LEMON, which has newer manuals. It also contains all the CHARM manuals.

LEMON is the spiritual successor to CHARM, I recommend you try it!

Link: lemon-manuals.la or lemon-manuals.org.ua

(Some people have issue connecting. LEMON is investigating. For now, use Firefox or change your DNS server)

Or, hide this message: temporarily or permanently

System Description





AUDIO / VIDEO: AUDIO AND VISUAL SYSTEM (w/o Navigation System with Multi-display): SYSTEM DESCRIPTION

1. TOUCH SWITCH OUTLINE

(a) Touch switch

Touch switches are touch-sensitive (interactive) switches operated by touching the screen. When a switch is pressed, the outer glass bends in to contact the inner glass at the pressed position. By doing this, the voltage ratio is measured and the pressed position is detected.





2. DVD (Digital Versatile Disc) PLAYER OUTLINE (for Voice Recognition Function)

(a) The navigation module board uses a laser pickup to read the digital signals recorded on a DVD.

CAUTION:
Because the audio and visual system uses an invisible laser beam, do not look directly at the laser pickup. Be sure to only operate the audio and visual system as instructed.

NOTICE:
* Do not disassemble any part of the navigation module board.
* Do not apply oil to the navigation module board.
* Do not insert anything but a DVD into the navigation module board.

3. DVD (Digital Versatile Disc) PLAYER OUTLINE (for DVD Changer Models)

(a) The DVD player can only play DVD videos, DVD audio and video CDs that have any of the following marks:





(1) Precaution for use of discs

NOTICE:
* PAL or SECAM color television standard discs cannot be played (only NTSC discs can be played).
* Keep the discs away from dirt. Be careful not to damage the discs or leave fingerprints on them.
* Hold discs by the outer edge and center hole with the label side up.
* Leaving the disc exposed halfway out of the slot for a long time after pressing the disc eject button may cause deformation of the disc, making the disc unusable.
* Do not use odd-shaped CDs because these may cause player malfunctions.
* Do not use discs whose recording portion is transparent or translucent because they may not be inserted, ejected or played normally.
* DualDiscs that mate DVD recorded material on one side with CD digital audio material on the other cannot be played.

4. CD (Compact Disc) PLAYER OUTLINE

(a) A compact disc player uses a laser pickup to read digital signals recorded on a compact disc (CD). By converting the digital signals to analog, it can play music and audio.

CAUTION:
Do not look directly at the laser pickup because the CD player uses an invisible laser beam. Be sure to operate the player only as instructed.

NOTICE:
* Do not disassemble any part of the CD player.
* Do not apply oil to the CD player.
* Do not insert anything but a CD into the CD player.

(b) Usable discs

(1) This player can play only audio CDs, CD-Rs (CD-Recordable) and CD-RWs (CD-ReWritable) that have any of the following marks:





(c) Precautions for use of discs

NOTICE:
* Copy-protected CDs cannot be played.
* CD-Rs and CD-RWs may not be played depending on the recording conditions or characteristics of the discs, or due to damage, dirt or deterioration caused by leaving the discs in the cabin for a long time.
* Unfinalized CD-Rs and CD-RWs cannot be played.
* DualDiscs that mate DVD recorded material on one side with CD digital audio material on the other cannot be played.
* Keep the discs away from dirt. Be careful not to damage the discs or leave your fingerprints on them.
* Hold discs by the outer edge and center hole with the label side up.
* Leaving the disc exposed halfway out of the slot for a long time after pressing the disc eject button may cause deformation of the disc, making the disc unusable.
* If discs have adhesive tape, stickers, CD labels or any traces of such labels attached, the discs may not be ejected or player malfunctions may result.
* Keep the discs away from direct sunlight. (Exposure to direct sunlight may cause deformation of the disc, making the disc unusable.)
* Do not use odd-shaped CDs because these may cause player malfunctions.
* Do not use discs whose recording portion is transparent or translucent because they may not be inserted, ejected or played normally.
* Use only 4.7 in. (12 cm) CDs.
* Do not use 3 in. (8 cm) CDs, either with or without adopters.

HINT
* When it is cold or it is raining, if the windows mist up, mist and condensation may form in the player. In such cases, the CD sound may skip or stop in the middle of play. Ventilate or dehumidify the cabin for a while before using the player.
* The CD sound may skip if the player experiences strong vibrations when the vehicle is driven on rough roads or similar uneven surface(s).

(d) Cleaning

NOTICE:
Do not use a lens cleaner because it may cause a malfunction in the pickup portion of the player.





(1) If dirt is on the disc surface, wipe it clean with a soft dry cloth such as an eyeglass cleaner for plastic lenses from the inside to the outside in a radial direction.

NOTICE:
* Pressing on the disc by hand or rubbing the disc with a hard cloth may scratch the disc surface.
* Use of solvent such as a record spray, antistatic agent, alcohol, benzine and thinner or a chemical cloth may cause damage to the disc, making the disc unusable.

5. MP3/WMA OUTLINE

(a) Playable MP3 file standards





(b) Playable WMA file standards





(c) ID3 tag and WMA tag

(1) Additional textual information called ID3 tag can be input to MP3 files. Information such as song titles and artist names can be stored.

HINT
This player is compatible with the ID3 tags of ID3 Ver. 1.0 and 1.1, and ID3 Ver. 2.2 and 2.3. (Number of characters complies with ID3 Ver. 1.0 and 1.1.)

(2) Additional textual information called WMA tag can be input to WMA files. Information such as song titles and artist names can be stored.

(d) Usable media

(1) Only CD-ROMs, CD-Rs (CD-Recordable) and CD-RWs (CD-ReWritable) can be used to play MP3/WMA files.

NOTICE:
* CD-Rs and CD-RWs are more easily affected by a hot and humid environment than discs used for normal audio CDs. For this reason, some CD-Rs and CD-RWs will not play.
* If there are fingerprints or scratches on a disc, the disc may not play or the CD sound may skip.
* Some CD-Rs and CD-RWs may deteriorate if they are left in the cabin for a long time.
* Keep CD-Rs and CD-RWs in an opaque case.

(e) Usable media format

(1) Usable media format





HINT
* As for MP3/WMA files written in any unlisted format, the contents of the files may not be played normally or the file names or folder names may not be displayed correctly.
* This player is compatible with multi-session discs and can play CD-Rs and CD-RWs on which MP3/WMA files are added. However, only the first session can be played.
* Discs whose first session includes both music data and MP3 or WMA format data cannot be played.

(2) Standard and restrictions





(f) File names

(1) Only files with an extension of ".mp3" or ".wma" can be recognized and played as MP3 or WMA files.

(2) Save MP3 or WMA files with an extension of ".mp3" or ".wma".

NOTICE:
If non-MP3 or non-WMA files are saved with an extension of ".mp3" or ".wma", those files may be wrongly recognized as MP3 or WMA files and played. A loud noise may occur and damage to the speakers may result.

6. USB AUDIO SYSTEM FUNCTION OUTLINE

(a) The No. 1 stereo jack adapter assembly is equipped with a USB terminal. Connecting a USB device or "iPod" to the No. 1 stereo jack adapter assembly allows music files to be played. Not only is it possible to play music from a USB device with audio functions, is also possible to play MP3 or WMA music files that are stored on a USB device. In addition, "iPod" control software is installed, allowing file selection from playlists and operation using shuffle mode.

HINT
* Visual contents of an "iPod" cannot be played.
* Operation through the controls of a USB device or "iPod" cannot be performed while it is connected.

(b) USB audio system compatible model

(1) USB Device

The following device formats can be used:





MP3 and WMA files written in any format other than those listed above may not play correctly, and their names and folder names may not be displayed correctly.

Items related to standards and limitations are as follows:

* Maximum directory hierarchy: 8 levels

* Maximum number of folders in device: 999 (including the root folder)

* Maximum number of files in device: 65025

* Maximum number of files per folder: 255

(2) "iPod"

"iPod" is a trademark of Apple Inc., registered in the U.S. and other countries.

Supported "iPod" Models and Firmware Versions





Unsupported "iPod" Models





Items related to standards and limitations are as follows:

* Maximum number of lists in device: 9999

* Maximum number of songs in device: 65535

* Maximum number of songs per list: 65535

HINT
* "iPod" models and firmware versions that are not listed in "Supported "iPod" Models and Firmware Versions" may not function, or may not function correctly.
* Depending on the generation of "iPod" used, response to commands from the vehicle may be delayed.

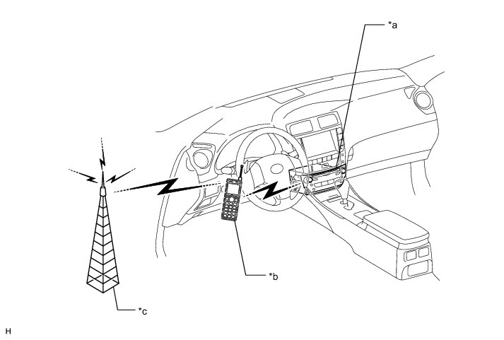
7. "Bluetooth" OUTLINE

(a) "Bluetooth" is a trademark owned by Bluetooth SIG, Inc.

(b) "Bluetooth" is a wireless connection technology that uses the 2.4 GHz frequency band.

HINT
The communication performance of "Bluetooth" may vary depending on obstructions or radio wave conditions between communication devices, electromagnetic radiation, communication device sensitivity or antenna capacity.

(c) Hands-free function

(1) The "Bluetooth" built-in radio receiver and a "Bluetooth" compatible cellular phone*1 can be connected using a "Bluetooth" wireless connection. This enables use of the hands-free function on the cellular phone even the phone may be in a pocket or bag. For this reason, it is not necessary to use a connector or cable to connect the cellular phone.

*1: Some versions of "Bluetooth" compatible cellular phones may not function.





Text in Illustration





8. COMMUNICATION SYSTEM

(a) MOST Network Outline





(1) Audio and visual system components communicate with each other via the MOST network.

(2) The MOST network uses a shielded twisted pair of wires for its communication lines.

(3) The master unit of the MOST network is the display and navigation module display.

(4) MOST communication lines connect each slave unit centering around the master unit to form a MOST network ring.

(5) The master unit sends a wake-up signal to activate each slave unit connected to the MOST network.

HINT
If a short or open circuit occurs in the MOST circuit, communication will be interrupted and the system will not operate normally.

(b) AVC-LAN Outline





(1) Components of the audio and visual system communicate with each other via the AVC-LAN.

(2) The AVC-LAN uses a twisted pair of wires for its communication lines.

(3) The master unit of the AVC-LAN is the display and navigation module display.

HINT
* The display and navigation module display has enough resistance (60 to 80 Ohms) necessary for communication.
* If a short or open circuit occurs in the AVC-LAN circuit, communication is interrupted and the system will not operate normally.

9. Automatic Sound Levelizer (ASL) FUNCTION OUTLINE

(a) The Automatic Sound Levelizer (ASL) function automatically adjusts the audio system volume level in order to compensate for increased vehicle noise (vehicle noise tends to increase as vehicle speed increases). The ASL adjusts the volume level based upon vehicle speed signals that it receives from the combination meter assembly.

10. DIAGNOSTIC FUNCTION OUTLINE

(a) The audio and visual system has a diagnostic function (the result will be displayed on the master unit or the Techstream).

11. DIAGNOSIS DISPLAY DETAILED DESCRIPTION

HINT
* This section contains a detailed description of displays in diagnostic mode.
* Illustrations may differ from the actual vehicle screen depending on the device settings and options. Therefore, some detailed areas may not be shown exactly the same as on the actual vehicle screen.

(a) Service Menu Screen





HINT
Each item is grayed out or not displayed based on the device settings.

(b) Failure Diagnosis Screen





HINT
Each item is grayed out or not displayed based on the device settings.

Screen Description





(1) System Check Mode Screen





* *a: Node position number for devices connected to the MOST network.

HINT
MOST node position numbers are provided for devices connected to the MOST network.

* *b: Device Name List No. 1

HINT
* Device Name List No. 1 displays some of the devices that make up the audio and visual system.
* The names of the components from Device Name List No. 1 are shown in the following table.






* *c: Check Result

HINT
* Result codes for all devices are displayed.
* When "MOST" is displayed for the result, press "MOST" on the multi-display to display the "MOST Line Check" screen.






* *d: Memory Clear

HINT
* Present and history DTCs and registered connected device names are cleared.
* Press the "Memory CLR" switch for 3 seconds.

* *e: Recheck

HINT
* A system check will be performed again after the memory is cleared.
* The "Recheck" switch will dim during a system check.

* *f: Device Name List No. 2

HINT
* Device Name List No. 2 displays some of the devices that make up the audio and visual system.
* The names of the components from Device Name List No. 2 are shown in the following table.






(2) Unit Check Mode Screen





Screen Description





(3) MOST Line Check Screen

HINT
* The inspection will be performed at the time the screen changes from "System Check Mode" to "MOST Line Check".
* The master unit checks the connection of each device on the MOST network.





* *a: Node position number for devices connected to the MOST network.

* *b: Device Name List

HINT
* Device Name List displays some of the devices that make up the audio and visual system.
* The names of the components from Device Name List are shown in the following table.






* *c: Check Result

HINT
* The master unit displays the check result on the screen based on the response information from each slave unit.
* Result codes for all devices are displayed.






* The device name and result will not be displayed if there is no system registration record and no response for the connection check during the MOST line check even if the device is connected to the MOST network.

(c) Function Check/Setting Screen





HINT
Each item is grayed out or not displayed based on the device settings.

(1) Microphone & Voice Recognition Check Screen





Screen Description





HINT
* The microphone is active at all times when this screen is displayed.
* While recording or playing, the switches other than the stop switch cannot be pushed.
* When no recording is present, the play switch cannot be pushed.
* Recording will stop after 5 seconds or when the stop switch is pushed.

(2) GPS Information Screen





* *a: Satellite information

HINT
Information from a maximum of 12 satellites is displayed on the screen. This information includes the target GPS satellite number, elevation angle, direction and signal level.

* *b: Receiving condition

Screen Description





* *c: Measurement information

Screen Description





* *d: Date information

Screen Description





(3) Vehicle Sensors Screen





Vehicle Signal





Sensor Signal





HINT
Signals are updated once per second only when vehicle sensor signals are changed.

(4) Vehicle Signal Check Mode Screen





Screen Description





HINT
* Only items sending vehicle signals will be displayed.
* This screen is updated once per second when input signals to the vehicle are changed.