Steering Pad Switch Circuit
AUDIO / VIDEO: AUDIO AND VISUAL SYSTEM (w/o Navigation System with Multi-display): Steering Pad Switch Circuit
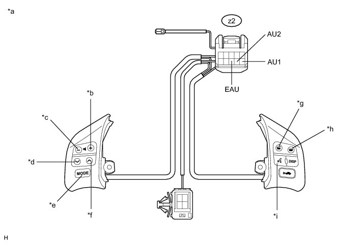
- Steering Pad Switch Circuit
DESCRIPTION
This circuit sends an operation signal from the steering pad switch assembly to the display and navigation module display.
If there is an open in the circuit, the display and navigation module display cannot be operated using the steering pad switch assembly.
If there is a short in the circuit, the resulting condition is the same as to if the switch were continuously pressed. Therefore, the display and navigation module display cannot be operated using the steering pad switch assembly, and the display and navigation module display itself cannot function.
WIRING DIAGRAM
INSPECTION PROCEDURE
NOTICE:
The vehicle is equipped with an Supplemental Restraint System (SRS). Before servicing (including removal or installation of parts), be sure to read the precaution for Supplemental Restraint System Service Precautions.
PROCEDURE
1. INSPECT DISPLAY AND NAVIGATION MODULE DISPLAY
(a) Disconnect the display and navigation module display connector.
(b) Measure the resistance according to the value(s) in the table below.
Standard Resistance:
Text in Illustration
NG -- INSPECT SPIRAL CABLE SUB-ASSEMBLY
OK -- PROCEED TO NEXT SUSPECTED AREA SHOWN IN PROBLEM SYMPTOMS TABLE Problem Symptoms Table
2. INSPECT SPIRAL CABLE SUB-ASSEMBLY
(a) Disconnect the steering pad switch assembly connector.
(b) Disconnect the spiral cable sub-assembly connector.
(c) Measure the resistance according to the value(s) in the table below.
Standard Resistance:
NOTICE:
The spiral cable is an important part of the SRS airbag system. Incorrect removal or installation of the spiral cable may prevent the airbag from deploying. Refer to the pages shown in the brackets.
HINT
* Removal Removal
* Installation Installation
Text in Illustration
NG -- REPLACE SPIRAL CABLE SUB-ASSEMBLY Removal
OK -- Continue to next step.
3. INSPECT STEERING PAD SWITCH ASSEMBLY
(a) Disconnect the steering pad switch assembly connector.
(b) Measure the resistance according to the value(s) in the table below.
Standard Resistance:
Text in Illustration
NG -- REPLACE STEERING PAD SWITCH ASSEMBLY Removal
OK -- REPAIR OR REPLACE HARNESS OR CONNECTOR (DISPLAY AND NAVIGATION MODULE DISPLAY - SPIRAL CABLE)