Sound Signal Circuit between Radio Receiver and Stereo Component Amplifier
AUDIO / VIDEO: AUDIO AND VISUAL SYSTEM (w/o Navigation System without Multi-display): Sound Signal Circuit between Radio Receiver and Stereo Component Amplifier
- Sound Signal Circuit between Radio Receiver and Stereo Component Amplifier
DESCRIPTION
The radio receiver assembly sends a sound signal to the stereo component amplifier assembly through this circuit.
The sound signal that has been sent is amplified by the stereo component amplifier assembly, and then is sent to the speakers.
If there is an open or short in the circuit, sound cannot be heard from the speakers even if there is no malfunction in the stereo component amplifier assembly, DCM (telematics transceiver)*1 or speakers.
* *1: w/ Manual (SOS) Switch
WIRING DIAGRAM
INSPECTION PROCEDURE
PROCEDURE
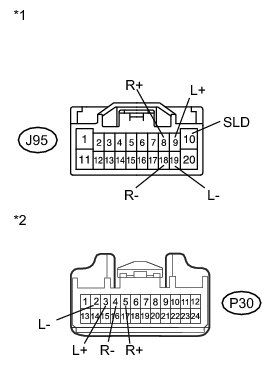
1. CHECK HARNESS AND CONNECTOR
(a) Disconnect the radio receiver assembly and stereo component amplifier assembly connectors.
(b) Measure the resistance according to the value(s) in the table below.
Standard Resistance:
Text in Illustration
NG -- REPAIR OR REPLACE HARNESS OR CONNECTOR
OK -- PROCEED TO NEXT SUSPECTED AREA SHOWN IN PROBLEM SYMPTOMS TABLE Problem Symptoms Table