Operation CHARM: Car repair manuals for everyone.
Manuals through 2025 now available!

Our trusted friends have launched a new website named LEMON, which has newer manuals. It also contains all the CHARM manuals.

LEMON is the spiritual successor to CHARM, I recommend you try it!

Link: lemon-manuals.la or lemon-manuals.org.ua

(Some people have issue connecting. LEMON is investigating. For now, use Firefox or change your DNS server)

Or, hide this message: temporarily or permanently

Reassembly





4GR-FSE ENGINE MECHANICAL: CYLINDER BLOCK: REASSEMBLY

1. INSTALL NO. 1 OIL NOZZLE SUB-ASSEMBLY

(a) Using a 5 mm hexagon wrench, install the No. 1 oil nozzle sub-assemblies with the 3 bolts.





Torque : 9.0 Nm (92 kgf-cm, 80 in-lbf)

2. INSTALL CONNECTING ROD SMALL END BUSH

(a) Align the oil holes of a new bush and the connecting rod.





Text in Illustration





(b) Using SST and a press, press in the bush.





SST : 09222-30010

(c) Using a pin hole grinder, hone the bush to obtain the specified clearance between the bush and piston pin.





Standard oil clearance:

-0.002 to 0.004 mm (-0.0000787 to 0.000156 in.)

(d) Check that the piston pin fits at normal room temperature.





(e) Coat the piston pin with engine oil, and push it into the connecting rod with your thumb.

3. INSTALL PISTON SUB-ASSEMBLY WITH PIN

(a) Using a screwdriver, install a new piston pin hole snap ring at one end of the piston pin hole.





Text in Illustration





HINT
Confirm that the end gap of the snap ring is not aligned with the pin hole cutout portion of the piston.

(b) Gradually heat the piston to approximately 80°C (176°F).





(c) Coat the piston pin with engine oil.

(d) Align the front marks of the piston and connecting rod, and push in the piston pin with your thumb.





Text in Illustration





Front Mark





HINT
The piston and pin are a matched set.

(e) Check the fitting condition between the piston and piston pin by trying to move the piston back and forth on the piston pin.





(f) Using a screwdriver, install a new piston pin hole snap ring at the other end of the piston pin hole.





Text in Illustration





HINT
Confirm that the end gap of the snap ring is not aligned with the pin hole cutout portion of the piston.

4. INSTALL PISTON RING SET

(a) Install the oil ring expander and 2 side rails by hand.

(b) Using a piston ring expander, install the oil ring rail as shown in the illustration.





Text in Illustration





(c) Position the piston rings so that the ring ends are as shown in the illustration.





Text in Illustration





NOTICE:
Do not align the ring ends.

5. INSTALL CRANKSHAFT BEARING

(a) Clean the main journal and both surfaces of the bearings.





Text in Illustration





NOTICE:
Main bearings come in widths between 18.0 mm (0.709 in.) and 21.0 mm (0.827 in.). Install the 21.0 mm (0.827 in.) bearings in the No. 1 and No. 4 cylinder block journal positions with the main bearing cap. Install the 18.0 mm (0.709 in.) bearings in the No. 2 and No. 3 positions.

(b) Install the upper crankshaft bearing.





Text in Illustration





(1) Install the upper crankshaft bearings to the cylinder block as shown in the illustration.

NOTICE:
* Do not apply engine oil to the bearings and the contact surfaces.
* Both sides of the oil groove in the cylinder block should be visible through the oil feed holes in the bearing. The amount visible on each side of the holes should be equal.
* Do not allow coolant to come into contact with the bearing inner surface.
* If any coolant comes into contact with the bearing inner surface, replace the bearing with a new one.

(c) Install the lower crankshaft bearing.





Text in Illustration





(1) Install the lower crankshaft bearings to the crankshaft bearing caps.

(2) Using a vernier caliper, measure the distance between the crankshaft bearing cap edge and the lower crankshaft bearing edge.

Standard dimension (A - B):

0.7 mm (0.0276 in.) or less

NOTICE:
Do not apply engine oil to the crankshaft bearings and the contact surfaces.

6. INSTALL CRANKSHAFT THRUST WASHER SET

(a) Apply engine oil to the crankshaft thrust washer.

(b) Install the 2 upper crankshaft thrust washers under the No. 2 journal position of the cylinder block sub-assembly with the oil grooves facing outward.





Text in Illustration





7. INSTALL CRANKSHAFT

(a) Apply engine oil to the upper bearing, then place the crankshaft on the cylinder block.

(b) Confirm the projections and numbers on the main bearing caps and install the crankshaft bearing caps on the cylinder block.





Text in Illustration





HINT
A number is marked on each main bearing cap to indicate the installation position.

(c) Apply a light coat of engine oil to the threads and under the heads of the crankshaft bearing cap bolts.

(d) Temporarily install the 8 crankshaft bearing cap bolts to the inside positions.

(e) Insert the crankshaft bearing cap with your hand until the clearance between the crankshaft bearing cap and the cylinder block is less than 6 mm (0.236 in.) by marking the 2 internal crankshaft bearing cap bolts as a guide.





Standard bolt length:

100 to 102 mm (3.94 to 4.02 in.)

(f) Using a plastic hammer, lightly tap the crankshaft bearing cap to ensure a proper fit.





(g) Apply a light coat of engine oil to the threads and under the heads of the 8 crankshaft bearing cap bolts.

(h) Install the 8 crankshaft bearing cap bolts to the outside positions.





Standard bolt Length





(i) Install the crankshaft bearing cap bolts.

HINT
The crankshaft bearing cap bolts are tightened in 2 progressive steps.

(j) Step 1

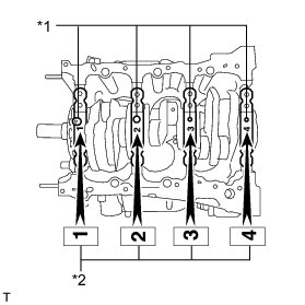
(1) Install and uniformly tighten the 16 crankshaft bearing cap bolts in several steps and in the sequence shown in the illustration.





Torque : 61 Nm (622 kgf-cm, 45 ft-lbf)

If any of the crankshaft bearing cap bolts does not meet the torque specified, replace it.

(k) Step 2

(1) Mark the front of the bearing cap bolts with paint.





Text in Illustration





(2) Retighten the bearing cap bolts 90° in the sequence shown in the illustration.

(3) Check that the painted mark is now at a 90° angle to the front of the engine.

(l) Install 8 new seal washers and uniformly tighten the 8 crankshaft bearing cap bolts in several steps and in the sequence shown in the illustration.





Torque : 26 Nm (262 kgf-cm, 19 ft-lbf)

Standard bolt Length:





(m) Check that the crankshaft turns smoothly.

(n) Check the crankshaft thrust clearance Testing and Inspection.

8. INSTALL CONNECTING ROD BEARING

(a) Install the connecting rod bearings to the connecting rod and connecting rod cap.

(b) Using a vernier caliper, measure the distance between each connecting rod bearing edge and the connecting rod edges, and the connecting rod cap edges respectively.





Text in Illustration





Standard dimension (A - B):

0.7 mm (0.0276 in.) or less

NOTICE:
Do not apply engine oil to the bearings and the contact surfaces.

9. INSTALL PISTON SUB-ASSEMBLY WITH CONNECTING ROD

(a) Apply engine oil to the cylinder walls, the pistons, and the surfaces of the connecting rod bearings.

(b) Position the piston rings so that the ring ends are as shown in the illustration.





Text in Illustration





NOTICE:
Do not align the ring ends.

(c) Using a piston ring compressor, push the correctly numbered piston and connecting rod assembly into the cylinder with the front mark of the piston facing forward.





Text in Illustration





NOTICE:
Match the numbered connecting rod cap with the connecting rod.

Front Mark





(d) Check that the front mark of the connecting rod cap is facing forward.





Text in Illustration





(e) Apply a light coat of engine oil to the threads and under the heads of the connecting rod cap bolts.

(f) Install the connecting rod cap bolts.

HINT
The connecting rod cap bolts are tightened in 2 progressive steps.

(g) Step 1





(1) Install and alternately tighten the bolts of the connecting rod cap in several steps.

Torque : 25 Nm (255 kgf-cm, 18 ft-lbf)

(h) Step 2





(1) Mark the front of each connecting rod cap bolt with paint.

(2) Retighten the cap bolts 90° as shown in the illustration.

(3) Check the painted mark is now at a 90° angle to the front.

(i) Confirm that the crankshaft turns smoothly.

(j) Check the connecting rod thrust clearance Testing and Inspection.